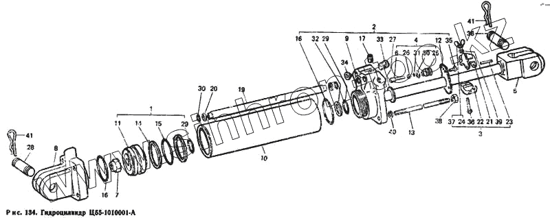
Каталог запасных частей к технике: ЛТЗ Т-40М. Гидроцилиндр Ц55-1010001-А
1
2
3
4
5
6
7
8
9
10
11
12
13
14
14
15
15
16
16
17
19
20
21
22
23
24
25
26
27
28
29
29
29
30
30
30
30
31
31
32
32
33
34
35
36
37
38
38
39
40
41
41
| Позиция на иллюстрации | Заводской номер детали | Название детали | |
|---|---|---|---|
| Ц55-1010001-А | Ц55-1010001-А | Гидроцилиндр Ц55Х 200-2 ГОСТ 8755-80 | |
| 1 | Ц55-1010009 | Поршень | |
| 2 | Ц55-1010010-А | Крышка передняя | |
| 3 | Ц90-1212003-А | Упор | |
| 4 | Ц90-1212005-А | Клапан | |
| 5 | Ц90-1212002-А | Шток | |
| 6 | Ц90-1212004-А | Клапан с уплотнением | |
| 7 | Ц90-1212007-А | Гайка | |
| 8 | Ц55-1010020-Г | Крышка задняя | |
| 9 | Ц55-1010021-Б | Крышка передняя | |
| 10 | Ц55-1010022 | Корпус | |
| 11 | Ц55-1010023-А | Поршень | |
| 12 | Ц55-1010035 | Крышка чистиков | |
| 13 | Ц55-1010041-А | Шпилька М10-6 | |
| 14 | Ц55-1010042 | Прокладка | |
| 14 | Ц55-1010042 | Прокладка | |
| 15 | Ц55-1010043 | Кольцо ГОСТ 18829-73 | |
| 15 | Ц55-1010043 | Кольцо ГОСТ 18829-73 | |
| 16 | Ц55-1010045 | Кольцо ГОСТ 18829-73 | |
| 16 | Ц55-1010045 | Кольцо ГОСТ 18829-73 | |
| 17 | Ц55-1010055 | Заглушка 1/8" | |
| 18 | Ц55-1010012 | Комплект запчастей | |
| 19 | Ц90-1212026-А | Маслопровод | |
| 20 | Ц90-1212027 | Шайба | |
| 21 | Ц90-1212028-А | Упор | |
| 22 | Ц90-1212029-А | Полукольцо упора нижнее | |
| 23 | Ц90-1212030 | Палец упора | |
| 24 | Ц90-1212031-Б | Гайка-барашек | |
| 25 | Ц90-1212033-А | Корпус клапана | |
| 26 | Ц90-1212034 | Втулка | |
| 27 | Ц90-1212036 | Чистик | |
| 28 | Ц90-1212037-В | Палец | |
| 29 | Ц90-1212044-А | Кольцо ГОСТ 18829-73 | |
| 29 | Ц90-1212044-А | Кольцо ГОСТ 18829-73 | |
| 29 | Ц90-1212044-А | Кольцо ГОСТ 18829-73 | |
| 30 | Ц90-1212046 | Кольцо ГОСТ 18829-73 | |
| 30 | Ц90-1212046 | Кольцо ГОСТ 18829-73 | |
| 30 | Ц90-1212046 | Кольцо ГОСТ 18829-73 | |
| 30 | Ц90-1212046 | Кольцо ГОСТ 18829-73 | |
| 31 | Ц90-1212047 | Кольцо ГОСТ 18829-73 | |
| 31 | Ц90-1212047 | Кольцо ГОСТ 18829-73 | |
| 32 | Ц90-1212048 | Прокладка | |
| 32 | Ц90-1212048 | Прокладка | |
| 33 | Ц90-1212057 | Заглушка 1/2" | |
| 34 | ТП-00 | Пробка транспортная | |
| 35 | Болт М6-6gХ 14.88.019 ГОСТ 7798-70 | Болт М6-6gХ 14.88.019 ГОСТ 7798-70 | |
| 36 | Болт М6-6gХ35.88.019 ГОСТ 7798-70 | Болт М6-6gХ35.88.019 ГОСТ 7798-70 | |
| 37 | Гайка М6-6Н.6.019 ГОСТ 3032-76 | Гайка М6-6Н.6.019 ГОСТ 3032-76 | |
| 38 | Гайка М10-6Н.6.019 ГОСТ 5915-70 | Гайка М10-6Н.6.019 ГОСТ 5915-70 | |
| 39 | Шайба 6 Т 65Г 06 ГОСТ 6402 70 | Шайба 6 Т 65Г 06 ГОСТ 6402 70 | |
| 40 | Шайба 10 Т 65Г 06 ГОСТ 6402-70 | Шайба 10 Т 65Г 06 ГОСТ 6402-70 | |
| 41 | 15-62059 | Шплинт пружинный |
Содержащиеся в справочниках-каталогах запасные части и детали не предлагаются к продаже, а носят исключительно информационный характер