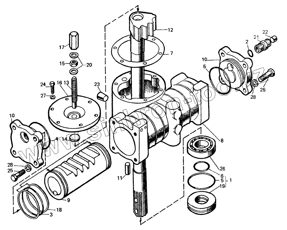
Каталог запасных частей к технике: ЛТЗ-55. Механизм исполнительный
Т40S-3405040-0
1
2
3
4
5
5
6
7
8
9
10
10
11
12
13
14
15
16
17
18
19
20
21
22
23
24
25
25
26
27
28
28
| Позиция на иллюстрации | Заводской номер детали | Название детали | |
|---|---|---|---|
| Т40S-3405040-0 | Т40S-3405040-0 | Механизм исполнительный | |
| 1 | Т30-3405120 | Корпус уплотнений | |
| 2 | НШ10-0101034 | Кольцо уплотнительное | |
| 3 | Ц75-1111043 | Кольцо уплотнительное поршня | |
| 4 | Ц75-1111045 | Кольцо уплотнительное | |
| 5 | Т25-3401013 | Кольцо уплотнительное | |
| 6 | Т25-3401086 | Кольцо уплотнительное | |
| 7 | Т30-3405017-Б | Прокладка | |
| 8 | Т40S-3405042 | Корпус | |
| 9 | Т40S-3405044 | Поршень | |
| 10 | Т40S-3405046 | Крышка | |
| 11 | Т40S-3405047 | Штифт | |
| 12 | Т30-3405061-В | Вал сошки с сектором | |
| 13 | Т30-3405062-Б1 | Винт регулировочный | |
| 14 | Т30-3405063 | Шайба упорная регулировочного винта | |
| 15 | Т30-3405067 | Гайка | |
| 16 | Т30-3405068-Б3 | Крышка корпуса | |
| 17 | Т30-3405069-Б | Колпачок | |
| 18 | Т30-3405092-Б | Кольцо уплотнительное поршня | |
| 19 | Т30-3405121 | Корпус уплотнений | |
| 20 | Д18055-А | Кольцо уплотнительное | |
| 21 | Н.036.04.003 | Штуцер | |
| 22 | Н.036.121.001-05 | Заглушка | |
| 23 | ПР-18 | Пробка | |
| 24 | М8-6gх25.88.019 | Болт | |
| 25 | М12-6gх35.88.019 | Болт | |
| 26 | 207 | Подшипник | |
| 27 | 8Т65Г06 | Шайба | |
| 28 | 120Т65Г06 | Шайба |
Содержащиеся в справочниках-каталогах запасные части и детали не предлагаются к продаже, а носят исключительно информационный характер