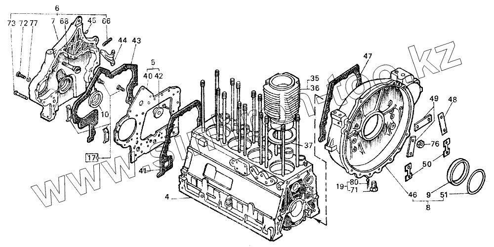
Каталог запасных частей к технике: ЛТЗ-55. Двигатель
Д144-0000100-28
Д144-0000100-25
4
5
6
7
8
9
10
19
35
36
37
40
41
42
43
44
45
46
47
48
49
50
51
66
68
71
72
73
76
77
80
| Позиция на иллюстрации | Заводской номер детали | Название детали | |
|---|---|---|---|
| Д144-0000100-28 | Д144-0000100-28 | Двигатель 37+4 кВт (50 л. с.) | |
| Д144-0000100-25 | Д144-0000100-25 | Двигатель 29+3 кВт (40 л. с.) | |
| 4 | Д37М-1002008-А2 | Картер двигателя | |
| 5 | Д37М-1002171 | Лист передний со втулкой | |
| 6 | Д144-1002220-А | Крышка шестерен | |
| 7 | Д144-1002230-А | Крышка шестерен | |
| 8 | Д144-1002310-Б | Картер маховика | |
| 9 | Д144-1002390 | Манжета 1.1-85х110-1 | |
| 10 | Д144-1002420-А | Манжета 1.1-50х70-1 | |
| 19 | Т40-1601040 | Сапун | |
| 35 | Д37М-1002021-А3 | Цилиндр | |
| 36 | Д37М-1002021-А3-Р1 | Цилиндр | |
| 37 | Д37М-1002023 | Прокладка цилиндра | |
| 40 | Д37М-1002181-Б | Лист передний | |
| 41 | Д145Т-1002183 | Прокладка переднего листа | |
| 42 | Д37М-1002188-Б | Втулка листа переднего | |
| 43 | Д30-1002226 | Прокладка крышки распределительных шестерен | |
| 44 | Д37Е-1002231 | Указатель верхней мертвой точки | |
| 45 | Д30-1002239 | Штифт | |
| 46 | Д144-1002312-Б2 | Картер маховика | |
| 47 | Д30-1002313 | Прокладка картера маховика | |
| 48 | Д30-1002318-А1 | Пластина замковая правая | |
| 49 | Д30-1002318-А2 | Пластина замковая левая | |
| 50 | Д30-1002318-Б1 | Пластина замковая нижняя | |
| 51 | Д144-1002337 | Кольцо защитное | |
| 66 | Д37Е-3701675 | Шпилька | |
| 68 | Д30-4618046 | Шпилька крепления гидронасоса | |
| 71 | Н.036.75.002 | Корпус сапуна | |
| 72 | М8-6gх50.88.019 | Болт | |
| 73 | 4М8-6gх60.88.019 | Болт | |
| 76 | М12х1.25-6Н8.40.019 | Гайка | |
| 77 | 8Т65Г06 | Шайба | |
| 80 | 4х20.019 | Шплинт |
Содержащиеся в справочниках-каталогах запасные части и детали не предлагаются к продаже, а носят исключительно информационный характер