Вернуться на главную
Поиск
Каталоги запчастей к технике
Сельхозтехника
Лидагропроммаш
СУ-12
ИНЖЕКЦИЯ СП 3.13.000.
Каталог запасных частей к технике: Лидагропроммаш СУ-12. ИНЖЕКЦИЯ СП 3.13.000.
zoom-in
zoom-out
enlarge
shrink
circle-right
circle-left
file-text2
info
cart
Тип техники
Не выбрано
Легковые автомобили
Грузовые автомобили и прицепы
Автобусы
Сельхозтехника
Спецтехника
Двигатели
Мототехника
Марка
Не выбрано
AGCO
Amity
CASE IH
DongFeng
Fortschritt
Foton
Franz Kleine
Gaspardo
Great Plains
KRONE
KUHN
Lemken
Lovol
MacDon
Massey Ferguson
New Holland
TIGARBO
Vaderstad
Versatile
Wirax
Агро
Агротехмаш
Бобруйскагромаш (ОАО «УКХ «Бобруйскагромаш»)
БЭМЗ
ВгТЗ
Воронежсельмаш
ВТЗ
Гомсельмаш
ДКЗ
ЗАО "Техника-сервис"
ЗиД
КЗК
Кировец-Ландтехник
Клевер
Красная Звезда
Лидагропроммаш
Лидсельмаш
ЛТЗ
Машстройхолдинг
Минитракторы
Мордовагромаш
МТЗ
Навигатор-Новое машиностроение
Нефтекамский автозавод
ПТЗ
Ремком
РСМ
Сибсельмаш
ТеКЗ
ТКЗ
ХЗТСШ
ХТЗ
ЮМЗ
Модель
Не выбрано
КДД-9ВТ (2020)
КДФ-3В (2020)
ППР-145
СПУ
СТВ (2019)
СУ-12
Схема
>
Не выбрано
СОСТАВНЫЕ ЧАСТИ И ОСНОВНЫЕ УЗЛЫ СЕЯЛКИ УДОБРЕНИЙ СУ 12.00.000.
ВЕНТИЛЯТОР С ПРИВОДОМ В СБОРЕ СУ 12.08.000.
ВЕНТИЛЯТОР В СБОРЕ 494061В.
ИНЖЕКЦИЯ СП 3.13.000.
КРОНШТЕЙНЫ В СБОРЕ СУ 12.14.000.
АППАРАТ ВЫСЕВАЮЩИЙ СУ 12М.10.000.
АППАРАТ ВЫСЕВАЮЩИЙ СУ 12М.10.000.
АППАРАТ ВЫСЕВАЮЩИЙ СУ 12М.10.000.
РАСПРЕДЕЛИТЕЛЬ СУ 12М.09.000.
СИСТЕМА СИГНАЛИЗАЦИИ СУ 12.12.000.
КОЛЕСО ОПОРНОЕ СУ 12.06.000.
КОЛЕСО ПРИВОДНОЕ СУ 12.07.000.
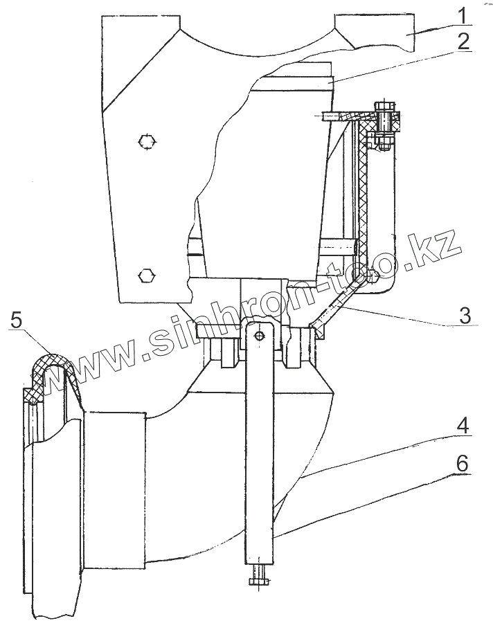
1
2
3
4
5
6
Позиция на иллюстрации
Заводской номер детали
Название детали
1
489098
Кожух
2
489060
Диффузор
3
489063
Корпус диффузора
4
СП 3.13.100.СБ.
Отвод в сборе
5
494746
Муфта
6
489302 А.
Скоба
Содержащиеся в справочниках-каталогах запасные части и детали не предлагаются к продаже, а носят исключительно информационный характер
Дополнительная информация
×
Название:
Номер:
Примечание: