Каталог запасных частей к технике: Лидагропроммаш СПУ. ТЕНТ
1
2
3
4
5
5
6
6
6
7
8
9
10
10
10
10
11
11
11
12
13
14
15
15
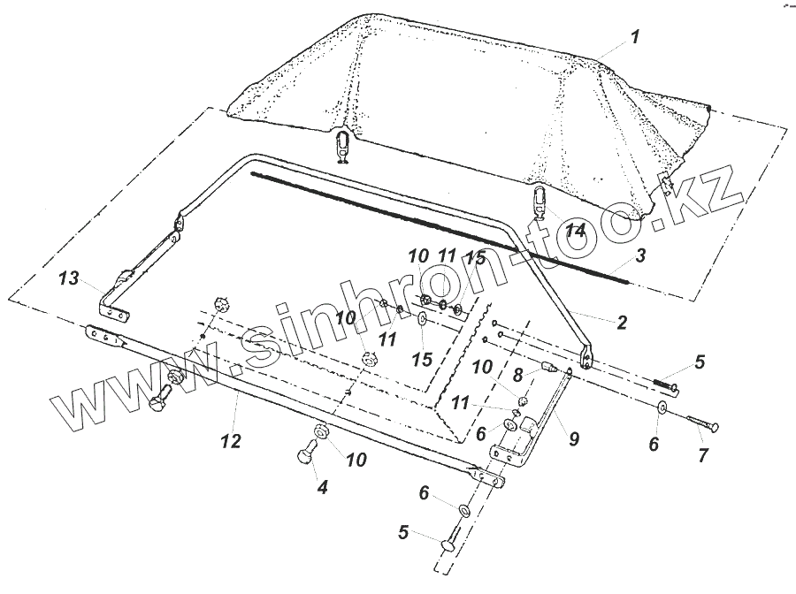
| Позиция на иллюстрации | Заводской номер детали | Название детали | |
|---|---|---|---|
| 1 | СП-9.19.200 | Тент | |
| 2 | СП-3.19.001 | Скоба | |
| 3 | СП-3.19.003 | Труба | |
| 4 | Болт М8-8gx45 | Болт | |
| 5 | Болт М8-6gx25 | Болт | |
| 6 | 646492 | Шайба | |
| 7 | Болт М8-8gx50 | Болт | |
| 8 | 494326 | Втулка | |
| 9 | 494186 | Скоба правая | |
| 10 | Гайка М8-7Н | Гайка | |
| 11 | Шайба 8.65Г | Шайба | |
| 12 | СП-3.19.002 | Труба | |
| 13 | 494185 | Скоба левая | |
| 14 | 494907 | Застежка | |
| 15 | 646123 | Шайба |
Содержащиеся в справочниках-каталогах запасные части и детали не предлагаются к продаже, а носят исключительно информационный характер