Вернуться на главную
Поиск
Каталоги запчастей к технике
Сельхозтехника
Lemken
Zirkon 10/600KA
Headstock Zirkon 10KA
Каталог запасных частей к технике: Lemken Zirkon 10/600KA. Headstock Zirkon 10KA
zoom-in
zoom-out
enlarge
shrink
circle-right
circle-left
file-text2
info
cart
Тип техники
Не выбрано
Легковые автомобили
Грузовые автомобили и прицепы
Автобусы
Сельхозтехника
Спецтехника
Двигатели
Мототехника
Марка
Не выбрано
AGCO
Amity
CASE IH
DongFeng
Fortschritt
Foton
Franz Kleine
Gaspardo
Great Plains
KRONE
KUHN
Lemken
Lovol
MacDon
Massey Ferguson
New Holland
TIGARBO
Vaderstad
Versatile
Wirax
Агро
Агротехмаш
Бобруйскагромаш (ОАО «УКХ «Бобруйскагромаш»)
БЭМЗ
ВгТЗ
Воронежсельмаш
ВТЗ
Гомсельмаш
ДКЗ
ЗАО "Техника-сервис"
ЗиД
КЗК
Кировец-Ландтехник
Клевер
Красная Звезда
Лидагропроммаш
Лидсельмаш
ЛТЗ
Машстройхолдинг
Минитракторы
Мордовагромаш
МТЗ
Навигатор-Новое машиностроение
Нефтекамский автозавод
ПТЗ
Ремком
РСМ
Сибсельмаш
ТеКЗ
ТКЗ
ХЗТСШ
ХТЗ
ЮМЗ
Модель
Не выбрано
Achat 9/400 KA (2004)
Achat 9/500 KA (2004)
Achat 9/600 KA (2004)
Azurit 9 (2018)
Dolomit 9 (2010)
EuroDiamant 10 (2010)
EuroDiamant 10 X (2010)
EuroDiamant 8 (2010)
EuroGranat 5 (2006)
EuroGranat 6 (2006)
EuroGranat 7 (2006)
EurOpal 5 (2010)
EurOpal 5HX (2010)
EurOpal 6 (2010)
EurOpal 7 (2010)
EurOpal 7, EurOpal 7HX (2018)
EurOpal 7X (2010)
EurOpal 7X, EurOpal 7 HydriX (2018)
EurOpal 8 (2010)
EurOpal 9 (2010)
EuroTitan 10 (2010)
EuroTitan 10X (2010)
FixPack (2010)
Gigant 1000 (2010)
Gigant 1000 Smaragd (2010)
Gigant 800 (2010)
Gigant 800 S (2010)
Gigant 800 S Rubin (2006)
Gigant 800 Smaragd (2010)
Heliodor 9/600KA (2018)
Heliodor 9/700KA (2018)
Juwel 8M (2018)
Karat 9/600 KA (2016)
Kristall 9/500KA (2016)
Kristall 9/600KA (2016)
OptiDisc 25 (2018)
Primus 10 (Часть 1) (2017)
Primus 10 (Часть 2) (2017)
Quarz 7/250 (2010)
Quarz 7/250 F (2010)
Quarz 7/300 (2010)
Quarz 7/300F (2010)
Quarz 7/400 (2010)
Quarz 7/400F (2010)
Quarz 7/400K (2010)
Quarz 7/400KA (2010)
Quarz 7/500K (2010)
Quarz 7/500KA (2010)
Quarz 7/600K (2010)
Rubin 10/600 KUA (2018)
Rubin 10/700 KUA (2018)
Rubin 12/400 KUA (A) (2018)
Rubin 12/500 KUA (A) (2018)
Rubin 12/600 KUA (A) (2018)
Rubin 12/700 KUA (2018)
Rubin 9/300 U (2004)
Rubin 9/400 U (2004)
Saphir 7/300 (2010)
Saphir 7/400 (2010)
Smaragd 7/260 (2010)
Smaragd 7/300 (2010)
Smaragd 9/300 (2010)
Smaragd 9/400 (2010)
Smaragd 9/400 (2016)
Smaragd 9/400 K (2016)
Smaragd 9/400K (2010)
Smaragd 9/450K (2010)
Smaragd 9/500 K (2016)
Smaragd 9/500K (2004)
Smaragd 9/600 K (2016)
Smaragd 9/600K (2010)
Smaragd 9/600KA (2010)
Solitair 10/600K (2006)
Solitair 12/1000K (2007)
Solitair 12/1200K (2008)
Solitair 12/1200KD (2018)
Solitair 12/5800SW (2018)
Solitair 12/800K (2006)
Solitair 12/900K (2007)
Solitair 8/300 (2004)
Solitair 8/300 (2014)
Solitair 8/400 (2004)
Solitair 9/300 (2004)
Solitair 9/400 (2004)
Solitair 9/400K (2004)
Solitair 9/400KA (2004)
Solitair 9/450K (2004)
Solitair 9/450KA (2004)
Solitair 9/500K (2004)
Solitair 9/500KA (2009)
Solitair 9/600K (2004)
Solitair 9/600KA (2004)
System-Kompaktor Gigant 1000 (2010)
System-Kompaktor Gigant 800 (2010)
System-Kompaktor K450 (2010)
System-Kompaktor K450A (2010)
System-Kompaktor K500 (2010)
System-Kompaktor K500A (2010)
System-Kompaktor K600 (2010)
System-Kompaktor K600A (2010)
System-Kompaktor S300 (2010)
System-Kompaktor S400 (2010)
System-Korund 300 L (2010)
System-Korund 450 L (2010)
System-Korund 600 L (2010)
System-Korund 750 K (750 L) (2010)
System-Korund 900 K (2010)
System-Korund 900 L (2010)
Thorit 8/300 (2005)
Thorit 8/300 Combi-Liner (2004)
Thorit 8/400 (2010)
Thorit 8/400 Combi-Liner (2004)
Thorit 9/400 K (2004)
Thorit 9/400 KA (2003)
Thorit 9/450 K (2004)
Thorit 9/500 K (2004)
Thorit 9/500 KA (2003)
Thorit 9/600 K (2004)
Thorit 9/600 KA (2003)
Topas 140-A (2010)
Vari-Diamant 10 (2004)
Vari-Diamant 10X (2004)
Vari-Opal 100 (2014)
Vari-Opal 100HX (2014)
Vari-Opal 100X (2014)
Vari-Opal 160 (2014)
Vari-Opal X160 (2014)
Vari-Titan 10 (2010)
Vari-Turmalin 10 (2005)
Vari-Turmalin 10X (2005)
Variopack 110DP70 (2010)
Variopack 110DP90 (2010)
Variopack 110EP90 (2010)
Variopack 110FEPK700 (2010)
Variopack 80DP70 (2010)
Variopack S 110DP70 (2010)
VariOpal 5 (2010)
VariOpal 7 (2010)
VariOpal 7X (2010)
VariOpal 8 (2010)
VariOpal 8X (2010)
VariOpal 9 (2010)
VariOpal 9X (2010)
Zirkon 10/300 (2010)
Zirkon 10/400 (2010)
Zirkon 10/400K (2010)
Zirkon 10/450 (2010)
Zirkon 10/450K (2010)
Zirkon 10/450KA (2010)
Zirkon 10/500K (2010)
Zirkon 10/500KA (2010)
Zirkon 10/600KA (2010)
Zirkon 7/250 (2010)
Zirkon 7/300 (2010)
Zirkon 7/400 (2010)
Zirkon 9/300 (2010)
Zirkon 9/400 (2010)
Zirkon 9/600K "B" (2010)
Схема
>
Не выбрано
Zirkon 10/600 KA
Ball-shaped coupling K80 M9615 Sol.10 KA
Traction loop Zirkon 10KA D58x200
Traction loop Zirkon 10KA D40x200
Traction loop Zirkon 10KA D50x200
Ball-shaped coupling K80 M9615 Sol.10 KA
Traction loop Zirkon 10KA D58x200
Traction loop Zirkon 10KA D40x200
Traction loop Zirkon 10KA D50x200
Gear box Zirkon 10/400-600 K
Miter gear Zirkon 10 K RE
Miter gear Zirkon 10 K LI
Gear box Zirkon 10/400-600 K
Miter gear Zirkon 10 K
Miter gear Zirkon 10 K
Side plate extension Zirkon 5x200x384
Side plate Zirkon 10
Frame carrier Zirkon 10/600 K
Levelling bar Zirkon 9/600-K
Levelling bar, front Zirkon 10/600-K
Holder for levelling bar Zirkon 7,9,10 - HI
Gear bed Zirkon 10/600-K RE
Gear bed Zirkon 10/600-K LI
Stroke Zirkon 10/400-600K
Basic frame Zirkon 10/600-K
Stand 60x20x555
Adjuster Zirkon 10/600-K
Carrier ZPW420+ZPW500 Zirkon 9 K
Carrier Zirkon 9/400-600 K RSTW
Packer roller ZPW D500-3,0m
Tube bar roller RSW D540-3,0m
Trapezering roller TRW D500-300-B-24R
Trapezering roller TRW D500-300-B-17R
Trapeze packer roller TPW D500-300-24R-125
Packer roller, short scraper ZPW D500-3,0m
Trapeze packer roller TPW D500-300-20R150
Trapeze packer roller TPW D500-300-17R175
Trapeze disc roller TSW D500-300-24R-125
Rubber ring roller GRW D590-300-24R-125
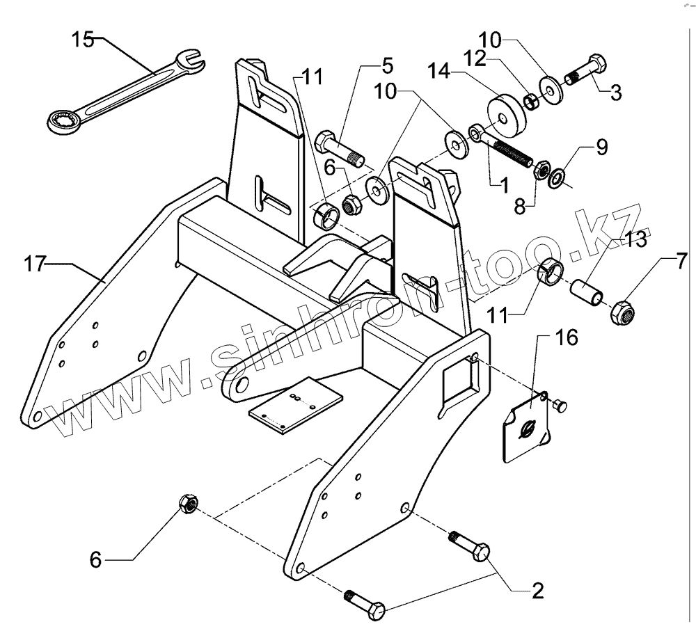
Headstock Zirkon 10KA
Intermediate bearing set 2x1.3/4-6T Zi-10 KA
PTO shaft P600-860 1.3/4-6
PTO shaft P600-860 P600-860 1.3/8-21
PTO shaft P600-860 1.3/8-6
PTO guard 1.3/8
Transport protection Zirkon 9-K
Transport protection Zirkon 9-K
PTO guard Zirkon 10-K D162
PTO guard Zirkon 10-K D211
Holder for track scraper FSU 70x70-40x20
Holder for track scraper 70x70 40x20 Zirkon 10 V
Track scraper FSU+G25 40x20
Track scraper FSU P50/6
Track scraper with holder long FSU-G25 70x70
Track scraper with holder FSU-G25 70x70
Track scraper with holder FSU-P50/6
Carrier frame Zirkon 10 KA
Kupplungsteil FK 150x150x120 (Solitair 9KA)
Kupplungsteil FH Zirkon 10KA/Solitair 9KA
Hydraulic lift linkage D50x200 L2 Z2
Blade tine SW34
Blade tine SW34P
Lighting equipment, front Zirkon 9/KA
Control box ELFG104-XXXX
Cable form ELFG104-XXXX 7M
Cable form 14-p
Lighting equipment, front Zirkon 9/KA
Lighting equipment, rear KA 150x150
PTO shaft control, audible Zirkon 9 K + 9 KA
Tractor mounting set
Operator terminal, cpl. LST-2
Housing CR0016
Set of fittings Zirkon KA
PTO shaft control R360
Joystickbox JB-1
Extension 6m-8 Solitronic
Control valve L8S-3D/1E
Three-way pressure balance LU8SSCK-QM22/04
Valve 6/3 LD8SE4D2525
Seat valve SVH04M878SA-0M14G12
Unlocking device Zirkon 9/400-KA- 9/600-KA
HY-assembly chassis Zirkon 9 KA DZ115x200
HY-pipe assembly Zirkon 9 KA
HY-pipe assembly track marker Zirkon 9 KA
HY-pipe assembly Zirkon 9 KA
HY-assembly lift linkage DZ 90x450
HY-assembly lift linkage DZ 110x450
HY-assembly track marker Zirkon 9/600 KA
HY-pipe assembly folding Zirkon 9 KA
HY-assembly trailer Zirkon 9 KA S-DZ115x200
HY-pipe assembly folding Zirkon 9 KA S
HY-pipe assembly track marker Zirkon 9 KA S
HY-pipe lifting device Zirkon 9 KA S
HY-assembly control valve Zirkon 9 KA S-L8S
Hydraulic pipe Zirkon 9 KA
HY-pipe seed drill drive Zirkon 9 KA
Braking system, hydraulic Zirkon 9 KA 2xEZ 30x110
HY-assembly trailer Zirkon 9 KA LU8S-DZ115x200
HY-assembly track marker Zirkon 9/500 KA-US
HY-assembly angle adjustment Zirkon 9 KA
HY-assembly control valve Zirkon 9 KA S-LU8S
Hydraulic assembly Zirkon 10/500+600 KA
Braking axle GS12008 55.72.448.000
Running axle GS7008 55.67.001.014
Wheel 8/221/575 Trelleborg 550/60-22.5 12PR/RE
Wheel 8/221/575 Trelleborg 550/60-22.5 12PR/LI
Wheel 8/221/575 12,5/80-18 12PR AW
Wheel 8/221/575 Alliance 700/50-22,5 12PR ET0
Wheel 8/221/575 Alliance 700/50-22,5 12PR ET0
Compressed-air brake Zirkon 9 KA
Compressed-air brake Zirkon 9 KA elektronik
Axle for track marker D30x595 668A
Feeding disc D450/60x20 RE Zirkon
Feeding disc D450/60x20 LI Zirkon
Track marker Solitair FW450/Z600 D380
Intermediate bracket Zirkon 500/K+600/K
1
2
3
5
6
6
7
8
9
10
10
11
11
12
13
14
15
16
17
Позиция на иллюстрации
Заводской номер детали
Название детали
1
301 0879
Eye bolt
2
301 4606
Bolt
3
301 4607
Bolt
4
301 4677
Bolt
5
301 4679
Bolt
6
303 0936
Selflocking nut
7
303 0937
Selflocking nut
8
303 0978
Nut
9
305 6010
Washer
10
305 6186
Washer
11
317 3412
Expansion bush
12
317 6657
Bush
13
317 6899
Tube
14
317 9637
Roller
15
321 9821
Spanner
16
323 0004
Cover
17
440 8407
Headstock
Содержащиеся в справочниках-каталогах запасные части и детали не предлагаются к продаже, а носят исключительно информационный характер
Дополнительная информация
×
Название:
Номер:
Примечание: