Каталог запасных частей к технике: Lemken Zirkon 10/500KA. HY-assembly chassis Zirkon 9 KA DZ115x200
1
2
2
3
4
5
6
6
7
8
9
10
11
12
13
14
15
16
17
17
18
19
20
21
22
23
24
25
26
27
28
28
28
28
29
29
30
31
32
33
34
34
35
35
36
37
37
38
38
39
40
41
42
43
44
45
45
45
46
47
47
48
49
50
51
52
53
54
55
56
57
58
58
59
60
60
61
61
62
63
64
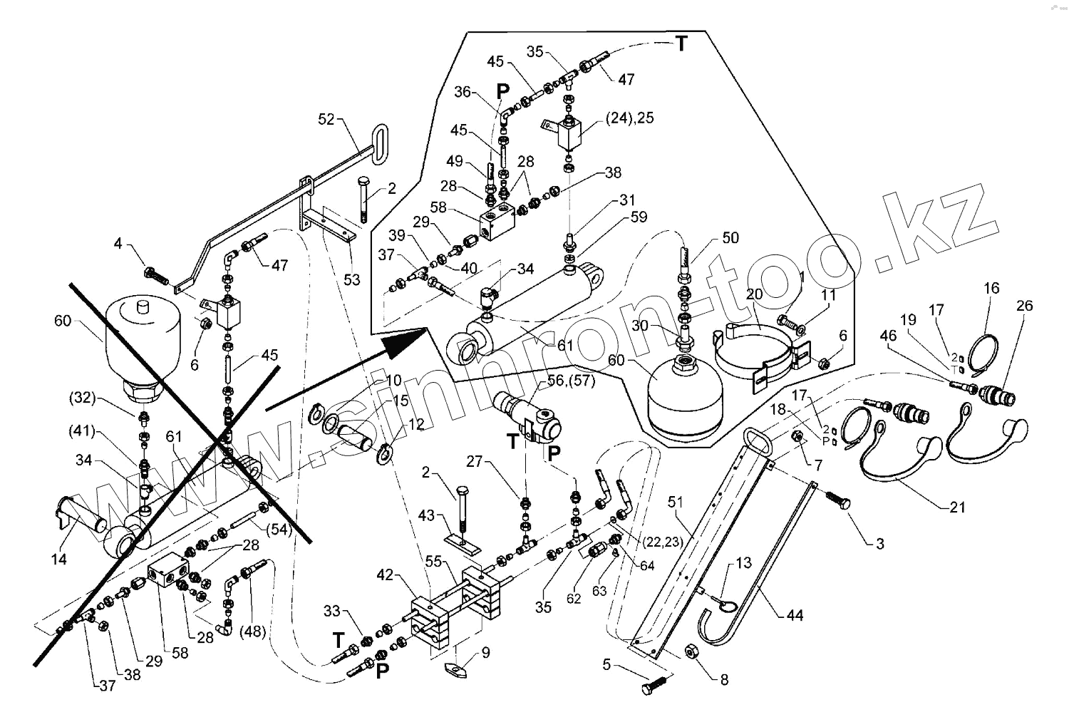
| Позиция на иллюстрации | Заводской номер детали | Название детали | |
|---|---|---|---|
| 1 | 301 3068 | Screw | |
| 2 | 301 3081 | Bolt | |
| 3 | 301 5004 | Screw | |
| 4 | 301 7280 | Screw | |
| 5 | 301 7334 | Screw | |
| 6 | 303 0932 | Selflocking nut | |
| 7 | 303 0933 | Selflocking nut | |
| 8 | 303 0934 | Selflocking nut | |
| 9 | 303 1602 | Nut | |
| 10 | 305 2072 | Shim | |
| 11 | 305 8694 | Washer | |
| 12 | 305 8873 | Securing ring | |
| 13 | 311 9565 | Securing pin | |
| 14 | 313 3509 | Pin with stop | |
| 15 | 313 7785 | Pin | |
| 16 | 325 1350 | Strap | |
| 17 | 325 1502 | EASY-READ sign | |
| 18 | 325 1511 | EASY-READ sign | |
| 19 | 325 1512 | EASY-READ sign | |
| 20 | 325 5128 | Bracket clip | |
| 21 | 375 2120 | Cap | |
| 22 | 375 2175 | Throttle plate | |
| 23 | 375 2176 | Throttle plate | |
| 24 | 375 2199 | Valve | |
| 25 | 375 2201 | Valve with lift limiter lever | |
| 26 | 375 2718 | SVK-socket | |
| 27 | 375 4020 | Nipple | |
| 28 | 375 4038 | Nipple | |
| 29 | 375 4711 | Stud | |
| 30 | 375 4039 | Nipple | |
| 31 | 375 4041 | Nipple | |
| 32 | 375 4049 | Nipple | |
| 33 | 375 4110 | Nipple | |
| 34 | 375 4310 | Union, swivel | |
| 35 | 375 4490 | T-adjustable T-union | |
| 36 | 375 4210 | Angle union | |
| 37 | 375 4550 | L-adjustable T-union | |
| 38 | 375 4660 | Blind plug | |
| 39 | 375 5110 | Cutting ring | |
| 40 | 375 5310 | Union nut | |
| 41 | 375 5532 | Banjo bolt | |
| 42 | 375 9906 | Clamp | |
| 43 | 375 9986 | Plate | |
| 44 | 455 0925 | Holder | |
| 45 | 475 2222 | Tube | |
| 46 | 475 2389 | High-pressure hose | |
| 47 | 475 2598 | High-pressure hose | |
| 48 | 475 2613 | High-pressure hose | |
| 49 | 475 2654 | High-pressure hose | |
| 50 | 475 2673 | High-pressure hose | |
| 51 | 475 4356 | Hose carrier | |
| 52 | 475 4358 | Linkage | |
| 53 | 475 4359 | Holder | |
| 54 | 475 8848 | Tube | |
| 55 | 475 9860 | Tube | |
| 56 | 575 2050 | Pressure limiting valve | |
| 57 | 575 2148 | Relief pressure valve | |
| 58 | 575 2165 | Nonreturn valve | |
| 59 | 575 2178 | Throttle nonreturn valve | |
| 60 | 575 2192 | Pressure reservoir | |
| 61 | 575 2354 | Ram | |
| 62 | 375 2205 | Connection | |
| 63 | 375 2515 | Restrictor washer | |
| 64 | 375 4010 | Nipple |
Содержащиеся в справочниках-каталогах запасные части и детали не предлагаются к продаже, а носят исключительно информационный характер