Вернуться на главную
Поиск
Каталоги запчастей к технике
Сельхозтехника
Lemken
VariOpal 9X
Turnover mechanism E120-0F
Каталог запасных частей к технике: Lemken VariOpal 9X. Turnover mechanism E120-0F
zoom-in
zoom-out
enlarge
shrink
circle-right
circle-left
file-text2
info
cart
Тип техники
Не выбрано
Легковые автомобили
Грузовые автомобили и прицепы
Автобусы
Сельхозтехника
Спецтехника
Двигатели
Мототехника
Марка
Не выбрано
AGCO
Amity
CASE IH
DongFeng
Fortschritt
Foton
Franz Kleine
Gaspardo
Great Plains
KRONE
KUHN
Lemken
Lovol
MacDon
Massey Ferguson
New Holland
TIGARBO
Vaderstad
Versatile
Wirax
Агро
Агротехмаш
Бобруйскагромаш (ОАО «УКХ «Бобруйскагромаш»)
БЭМЗ
ВгТЗ
Воронежсельмаш
ВТЗ
Гомсельмаш
ДКЗ
ЗАО "Техника-сервис"
ЗиД
КЗК
Кировец-Ландтехник
Клевер
Красная Звезда
Лидагропроммаш
Лидсельмаш
ЛТЗ
Машстройхолдинг
Минитракторы
Мордовагромаш
МТЗ
Навигатор-Новое машиностроение
Нефтекамский автозавод
ПТЗ
Ремком
РСМ
Сибсельмаш
ТеКЗ
ТКЗ
ХЗТСШ
ХТЗ
ЮМЗ
Модель
Не выбрано
Achat 9/400 KA (2004)
Achat 9/500 KA (2004)
Achat 9/600 KA (2004)
Azurit 9 (2018)
Dolomit 9 (2010)
EuroDiamant 10 (2010)
EuroDiamant 10 X (2010)
EuroDiamant 8 (2010)
EuroGranat 5 (2006)
EuroGranat 6 (2006)
EuroGranat 7 (2006)
EurOpal 5 (2010)
EurOpal 5HX (2010)
EurOpal 6 (2010)
EurOpal 7 (2010)
EurOpal 7, EurOpal 7HX (2018)
EurOpal 7X (2010)
EurOpal 7X, EurOpal 7 HydriX (2018)
EurOpal 8 (2010)
EurOpal 9 (2010)
EuroTitan 10 (2010)
EuroTitan 10X (2010)
FixPack (2010)
Gigant 1000 (2010)
Gigant 1000 Smaragd (2010)
Gigant 800 (2010)
Gigant 800 S (2010)
Gigant 800 S Rubin (2006)
Gigant 800 Smaragd (2010)
Heliodor 9/600KA (2018)
Heliodor 9/700KA (2018)
Juwel 8M (2018)
Karat 9/600 KA (2016)
Kristall 9/500KA (2016)
Kristall 9/600KA (2016)
OptiDisc 25 (2018)
Primus 10 (Часть 1) (2017)
Primus 10 (Часть 2) (2017)
Quarz 7/250 (2010)
Quarz 7/250 F (2010)
Quarz 7/300 (2010)
Quarz 7/300F (2010)
Quarz 7/400 (2010)
Quarz 7/400F (2010)
Quarz 7/400K (2010)
Quarz 7/400KA (2010)
Quarz 7/500K (2010)
Quarz 7/500KA (2010)
Quarz 7/600K (2010)
Rubin 10/600 KUA (2018)
Rubin 10/700 KUA (2018)
Rubin 12/400 KUA (A) (2018)
Rubin 12/500 KUA (A) (2018)
Rubin 12/600 KUA (A) (2018)
Rubin 12/700 KUA (2018)
Rubin 9/300 U (2004)
Rubin 9/400 U (2004)
Saphir 7/300 (2010)
Saphir 7/400 (2010)
Smaragd 7/260 (2010)
Smaragd 7/300 (2010)
Smaragd 9/300 (2010)
Smaragd 9/400 (2010)
Smaragd 9/400 (2016)
Smaragd 9/400 K (2016)
Smaragd 9/400K (2010)
Smaragd 9/450K (2010)
Smaragd 9/500 K (2016)
Smaragd 9/500K (2004)
Smaragd 9/600 K (2016)
Smaragd 9/600K (2010)
Smaragd 9/600KA (2010)
Solitair 10/600K (2006)
Solitair 12/1000K (2007)
Solitair 12/1200K (2008)
Solitair 12/1200KD (2018)
Solitair 12/5800SW (2018)
Solitair 12/800K (2006)
Solitair 12/900K (2007)
Solitair 8/300 (2004)
Solitair 8/300 (2014)
Solitair 8/400 (2004)
Solitair 9/300 (2004)
Solitair 9/400 (2004)
Solitair 9/400K (2004)
Solitair 9/400KA (2004)
Solitair 9/450K (2004)
Solitair 9/450KA (2004)
Solitair 9/500K (2004)
Solitair 9/500KA (2009)
Solitair 9/600K (2004)
Solitair 9/600KA (2004)
System-Kompaktor Gigant 1000 (2010)
System-Kompaktor Gigant 800 (2010)
System-Kompaktor K450 (2010)
System-Kompaktor K450A (2010)
System-Kompaktor K500 (2010)
System-Kompaktor K500A (2010)
System-Kompaktor K600 (2010)
System-Kompaktor K600A (2010)
System-Kompaktor S300 (2010)
System-Kompaktor S400 (2010)
System-Korund 300 L (2010)
System-Korund 450 L (2010)
System-Korund 600 L (2010)
System-Korund 750 K (750 L) (2010)
System-Korund 900 K (2010)
System-Korund 900 L (2010)
Thorit 8/300 (2005)
Thorit 8/300 Combi-Liner (2004)
Thorit 8/400 (2010)
Thorit 8/400 Combi-Liner (2004)
Thorit 9/400 K (2004)
Thorit 9/400 KA (2003)
Thorit 9/450 K (2004)
Thorit 9/500 K (2004)
Thorit 9/500 KA (2003)
Thorit 9/600 K (2004)
Thorit 9/600 KA (2003)
Topas 140-A (2010)
Vari-Diamant 10 (2004)
Vari-Diamant 10X (2004)
Vari-Opal 100 (2014)
Vari-Opal 100HX (2014)
Vari-Opal 100X (2014)
Vari-Opal 160 (2014)
Vari-Opal X160 (2014)
Vari-Titan 10 (2010)
Vari-Turmalin 10 (2005)
Vari-Turmalin 10X (2005)
Variopack 110DP70 (2010)
Variopack 110DP90 (2010)
Variopack 110EP90 (2010)
Variopack 110FEPK700 (2010)
Variopack 80DP70 (2010)
Variopack S 110DP70 (2010)
VariOpal 5 (2010)
VariOpal 7 (2010)
VariOpal 7X (2010)
VariOpal 8 (2010)
VariOpal 8X (2010)
VariOpal 9 (2010)
VariOpal 9X (2010)
Zirkon 10/300 (2010)
Zirkon 10/400 (2010)
Zirkon 10/400K (2010)
Zirkon 10/450 (2010)
Zirkon 10/450K (2010)
Zirkon 10/450KA (2010)
Zirkon 10/500K (2010)
Zirkon 10/500KA (2010)
Zirkon 10/600KA (2010)
Zirkon 7/250 (2010)
Zirkon 7/300 (2010)
Zirkon 7/400 (2010)
Zirkon 9/300 (2010)
Zirkon 9/400 (2010)
Zirkon 9/600K "B" (2010)
Схема
>
Не выбрано
Vari-Opal 9X
Top link pin with chain KAT2G D25,4/31,7x158
Top link pin with chain KAT3G D31,7/25,4x158
Tool set EurOpal 8/9+Opal 160
Turnover mechanism E120
Turnover mechanism E120-0F
Locking device D25x260
Width adjuster TR36x3/750/570
Adjustment centre V-60/650
Adjustment centre E-60/1031 OF
Stand V-R750-800 915mm
Lower link connection E55 L2 Z2
Lower link connection E55 L2 Z3
Lower link connection E55 L3 Z2
Lower link connection E68 L3 Z3
Lower link connection E55FH L2 Z2
Lower link connection E55FH L3 Z2
Lower link connection E55FH L2 Z3
Lower link connection E68FH L3 Z3
Pointer Vari-Opal 9-90
Pointer Vari-Opal 9-100
Basic frame VO 9 5-100
Basic frame VO 9 5-90
Basic frame VO 9 4-100
Basic frame VO 9 4-90
Basic frame VO 9 3-90
Basic frame VO 9 3-100
Rod Vari-Opal 9/9X-3-90
Rod Vari-Opal 9/9X-4-90
Rod Vari-Opal 9/9X-5-90 mit Rad
Rod Vari-Opal 9/9X-3-90
Rod Vari-Opal 9/9X-4-90
Rod Vari-Opal 9/9X-5-90 ohne Rad
RodVari-Opal 9/9X-3-100
Rod Vari-Opal 9/9X-4-100
Rod for wheel Vari-Opal 9/9X-5-100
Rod Vari-Opal 9/9X-3-100
Rod Vari-Opal 9/9X-4-100
Rod Vari-Opal 9/9X-5-100 ohne Rad
Frame extension VO 9-100
Frame extension VO 9-90
Rod Anbauteil VO 9/9X-3-90
Rod Anbauteil VO 9/9X-4/5/6-90
RodAnbauteil VO 9/9X-3-100
RodAnbauteil VO 9/9X-4/5/6-100
Skim stalk DE-D45 H750-800
Skim stalk S1 50x30x371/G 80x35
Stalk bracket Vari-Opal 9 X
Trip device with roller 80x35-V
Bolts for leg Dural
Leg 80x35/V
Depth wheel D35x148/160 VO 9
Depth wheel D35x198/160x615 VO9
Uni-wheel D35/148/160 VO 9 5/140
Uni-wheel D35/148/160 VO 9 6/205
Wheel 5/94/140 D14 10.0/80-12 8PR ET-25
Bearing 5/93,5/140 M14 50x50
Bearing V60-6/160/205 D18
Wheel 5/94/140 M14 10.0/75-15.3 12PR AW ET-20
Wheel 6/161/205 D18 10.0/75-15.3 12PR AW ET-25
Wheel 6/161/205 D18 D770/340
Depth wheel V9 10,0/75-15.3
Depth wheel VO 9 10,0/80-12
Depth wheel VO9/615 10.0/80-12
Uni-wheel VO7 13.0/55-16
Uni-wheel VO 9 10.0/80-12
Uni-wheel VO 9 10.0/75-15.3
Uni-wheel VO 9 13.0/55-16
Carrier for light LH 1
Carrier for light LH3A UNI
Lighting equipment with boards HR+HL7m
Trip disc-coulter X140-X160 RE 500 G
Trip disc-coulter X140-X160 LI 500 G
Trip disc-coulter X140-X160 RE 500 Z
Trip disc-coulter X140-X160 LI 500 Z
Disc arm D500-G Z50
Disc arm D500-Z Z50
Disc stalk D40/80 Z50
Attachment arm E2V
Bracket E9 D16/200x25+115 kpl.
Check chain for attachment arm Vari-Opal 7/8/9 X
HY-assembly attachment arm PA-E1-D
HY-assembly attachment arm PA-E1-K
Width adjuster DZ90/40/100-600 N WE
HY-width adjuster Memory-VUP DZ90/40/100-600 WE
HY-turnover device D80/233 VUP HPS-II-A
HY-turnover device D90 VUP HPS-II-AR
HY-turnover device D80/237 Vari-Stop
HY-turnover device D80/237 Vari-Stop-Memory
Trip device Rolle-HY-170-80.35-D14
Hydraulic assembly X-HY 3SG-900
Hydraulic assembly X-HY 4SG-900
Hydraulic assembly X-HY 5SG-900
Hydraulic assembly X-HY 3SG-1000
Hydraulic assembly X-HY 4SG-1000
Hydraulic assembly X-HY 5SG-1000
Hydraulic assembly X-HY 1SA-900
Hydraulic assembly X-HY 1SA-1000
Holder E+V-Opal 9 X-HY
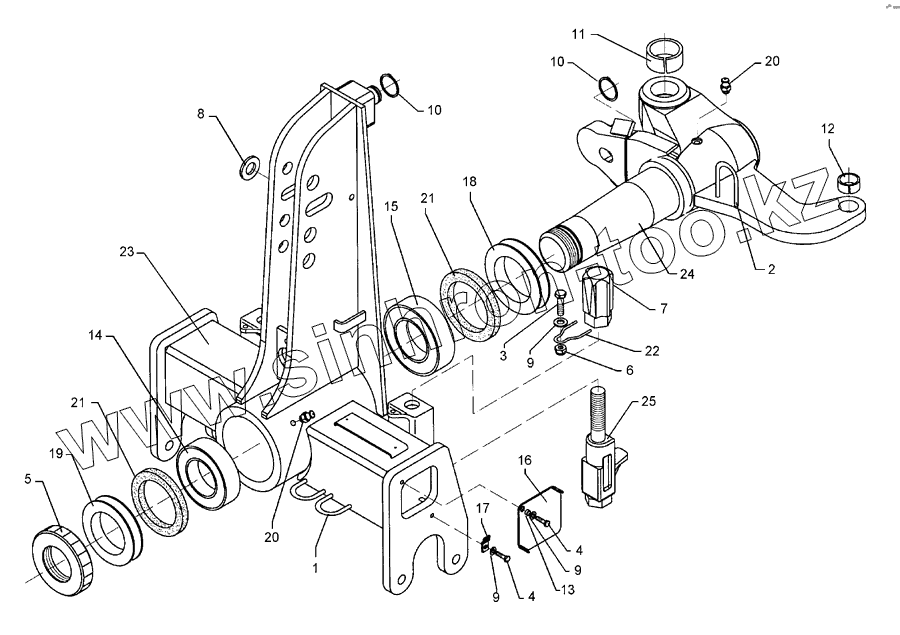
1
2
3
4
4
5
6
7
8
9
9
9
10
10
11
12
13
14
15
16
17
18
19
20
20
21
21
22
23
24
25
Позиция на иллюстрации
Заводской номер детали
Название детали
1
215 1588
Clamp
2
215 1656
Clamp
3
301 5001
Screw
4
301 7260
Screw
5
303 0348
Grooved nut
6
303 0932
Selflocking nut
7
303 8960
Cap nut
8
305 6273
Washer
9
305 8694
Washer
10
305 8875
Securing ring
11
317 2035
Expansion bush
12
317 3417
Expansion bush
13
317 6710
Tube
14
319 9110
Bearing
15
319 9226
Bearing
16
323 0002
Cap
17
323 0003
Holder
18
323 0075
Seal washer
19
323 0076
Seal washer
20
323 6348
Grease nipple
21
323 7983
Felt ring
22
329 8620
Clamp
23
433 7510
Headstock
24
433 8117
Axle
25
433 9206
Stop
Содержащиеся в справочниках-каталогах запасные части и детали не предлагаются к продаже, а носят исключительно информационный характер
Дополнительная информация
×
Название:
Номер:
Примечание: