Вернуться на главную
Поиск
Каталоги запчастей к технике
Сельхозтехника
Lemken
VariOpal 8X
Attachment arm E2V
Каталог запасных частей к технике: Lemken VariOpal 8X. Attachment arm E2V
zoom-in
zoom-out
enlarge
shrink
circle-right
circle-left
file-text2
info
cart
Тип техники
Не выбрано
Легковые автомобили
Грузовые автомобили и прицепы
Автобусы
Сельхозтехника
Спецтехника
Двигатели
Мототехника
Марка
Не выбрано
AGCO
Amity
CASE IH
DongFeng
Fortschritt
Foton
Franz Kleine
Gaspardo
Great Plains
KRONE
KUHN
Lemken
Lovol
MacDon
Massey Ferguson
New Holland
TIGARBO
Vaderstad
Versatile
Wirax
Агро
Агротехмаш
Бобруйскагромаш (ОАО «УКХ «Бобруйскагромаш»)
БЭМЗ
ВгТЗ
Воронежсельмаш
ВТЗ
Гомсельмаш
ДКЗ
ЗАО "Техника-сервис"
ЗиД
КЗК
Кировец-Ландтехник
Клевер
Красная Звезда
Лидагропроммаш
Лидсельмаш
ЛТЗ
Машстройхолдинг
Минитракторы
Мордовагромаш
МТЗ
Навигатор-Новое машиностроение
Нефтекамский автозавод
ПТЗ
Ремком
РСМ
Сибсельмаш
ТеКЗ
ТКЗ
ХЗТСШ
ХТЗ
ЮМЗ
Модель
Не выбрано
Achat 9/400 KA (2004)
Achat 9/500 KA (2004)
Achat 9/600 KA (2004)
Azurit 9 (2018)
Dolomit 9 (2010)
EuroDiamant 10 (2010)
EuroDiamant 10 X (2010)
EuroDiamant 8 (2010)
EuroGranat 5 (2006)
EuroGranat 6 (2006)
EuroGranat 7 (2006)
EurOpal 5 (2010)
EurOpal 5HX (2010)
EurOpal 6 (2010)
EurOpal 7 (2010)
EurOpal 7, EurOpal 7HX (2018)
EurOpal 7X (2010)
EurOpal 7X, EurOpal 7 HydriX (2018)
EurOpal 8 (2010)
EurOpal 9 (2010)
EuroTitan 10 (2010)
EuroTitan 10X (2010)
FixPack (2010)
Gigant 1000 (2010)
Gigant 1000 Smaragd (2010)
Gigant 800 (2010)
Gigant 800 S (2010)
Gigant 800 S Rubin (2006)
Gigant 800 Smaragd (2010)
Heliodor 9/600KA (2018)
Heliodor 9/700KA (2018)
Juwel 8M (2018)
Karat 9/600 KA (2016)
Kristall 9/500KA (2016)
Kristall 9/600KA (2016)
OptiDisc 25 (2018)
Primus 10 (Часть 1) (2017)
Primus 10 (Часть 2) (2017)
Quarz 7/250 (2010)
Quarz 7/250 F (2010)
Quarz 7/300 (2010)
Quarz 7/300F (2010)
Quarz 7/400 (2010)
Quarz 7/400F (2010)
Quarz 7/400K (2010)
Quarz 7/400KA (2010)
Quarz 7/500K (2010)
Quarz 7/500KA (2010)
Quarz 7/600K (2010)
Rubin 10/600 KUA (2018)
Rubin 10/700 KUA (2018)
Rubin 12/400 KUA (A) (2018)
Rubin 12/500 KUA (A) (2018)
Rubin 12/600 KUA (A) (2018)
Rubin 12/700 KUA (2018)
Rubin 9/300 U (2004)
Rubin 9/400 U (2004)
Saphir 7/300 (2010)
Saphir 7/400 (2010)
Smaragd 7/260 (2010)
Smaragd 7/300 (2010)
Smaragd 9/300 (2010)
Smaragd 9/400 (2010)
Smaragd 9/400 (2016)
Smaragd 9/400 K (2016)
Smaragd 9/400K (2010)
Smaragd 9/450K (2010)
Smaragd 9/500 K (2016)
Smaragd 9/500K (2004)
Smaragd 9/600 K (2016)
Smaragd 9/600K (2010)
Smaragd 9/600KA (2010)
Solitair 10/600K (2006)
Solitair 12/1000K (2007)
Solitair 12/1200K (2008)
Solitair 12/1200KD (2018)
Solitair 12/5800SW (2018)
Solitair 12/800K (2006)
Solitair 12/900K (2007)
Solitair 8/300 (2004)
Solitair 8/300 (2014)
Solitair 8/400 (2004)
Solitair 9/300 (2004)
Solitair 9/400 (2004)
Solitair 9/400K (2004)
Solitair 9/400KA (2004)
Solitair 9/450K (2004)
Solitair 9/450KA (2004)
Solitair 9/500K (2004)
Solitair 9/500KA (2009)
Solitair 9/600K (2004)
Solitair 9/600KA (2004)
System-Kompaktor Gigant 1000 (2010)
System-Kompaktor Gigant 800 (2010)
System-Kompaktor K450 (2010)
System-Kompaktor K450A (2010)
System-Kompaktor K500 (2010)
System-Kompaktor K500A (2010)
System-Kompaktor K600 (2010)
System-Kompaktor K600A (2010)
System-Kompaktor S300 (2010)
System-Kompaktor S400 (2010)
System-Korund 300 L (2010)
System-Korund 450 L (2010)
System-Korund 600 L (2010)
System-Korund 750 K (750 L) (2010)
System-Korund 900 K (2010)
System-Korund 900 L (2010)
Thorit 8/300 (2005)
Thorit 8/300 Combi-Liner (2004)
Thorit 8/400 (2010)
Thorit 8/400 Combi-Liner (2004)
Thorit 9/400 K (2004)
Thorit 9/400 KA (2003)
Thorit 9/450 K (2004)
Thorit 9/500 K (2004)
Thorit 9/500 KA (2003)
Thorit 9/600 K (2004)
Thorit 9/600 KA (2003)
Topas 140-A (2010)
Vari-Diamant 10 (2004)
Vari-Diamant 10X (2004)
Vari-Opal 100 (2014)
Vari-Opal 100HX (2014)
Vari-Opal 100X (2014)
Vari-Opal 160 (2014)
Vari-Opal X160 (2014)
Vari-Titan 10 (2010)
Vari-Turmalin 10 (2005)
Vari-Turmalin 10X (2005)
Variopack 110DP70 (2010)
Variopack 110DP90 (2010)
Variopack 110EP90 (2010)
Variopack 110FEPK700 (2010)
Variopack 80DP70 (2010)
Variopack S 110DP70 (2010)
VariOpal 5 (2010)
VariOpal 7 (2010)
VariOpal 7X (2010)
VariOpal 8 (2010)
VariOpal 8X (2010)
VariOpal 9 (2010)
VariOpal 9X (2010)
Zirkon 10/300 (2010)
Zirkon 10/400 (2010)
Zirkon 10/400K (2010)
Zirkon 10/450 (2010)
Zirkon 10/450K (2010)
Zirkon 10/450KA (2010)
Zirkon 10/500K (2010)
Zirkon 10/500KA (2010)
Zirkon 10/600KA (2010)
Zirkon 7/250 (2010)
Zirkon 7/300 (2010)
Zirkon 7/400 (2010)
Zirkon 9/300 (2010)
Zirkon 9/400 (2010)
Zirkon 9/600K "B" (2010)
Схема
>
Не выбрано
Contents
Top link pin with chain KAT2G D25,4/31,7x158
Top link pin with chain KAT3G D31,7/25,4x158
Tool set EurOpal 8/9+Opal 160
Turnover mechanism E120
Turnover mechanism E120-L
Locking device D25x260
Width adjuster TR36x3/750/570
Adjustment centre V-60/650
Adjustment centre E-60/1031 OF
Stand V-R750-800 915mm
Lower link connection E55 L2 Z2
Lower link connection E55 L2 Z3
Lower link connection E55 L3 Z2
Lower link connection E68 L3 Z3
Lower link connection E55FH L2 Z2
Lower link connection E55FH L3 Z2
Lower link connection E55FH L2 Z3
Lower link connection E68FH L3 Z3
Pointer Vari-Opal 8-90
Pointer Vari-Opal 8-100
Basic frame VO 8 5-100
Basic frame VO 8 5-90
Basic frame VO 8 4-100
Basic frame VO 8 4-90
Basic frame VO 8 3-100
Basic frame VO 8 3-90
Rod Vari-Opal 8/8X-3-100
Rod Vari-Opal 8/8X-4-100
Rod Vari-Opal 8/8X-5-100 mit Rad
Rod Vari-Opal 8/8X-3-100
Rod Vari-Opal 8/8X-4-100
Rod Vari-Opal 8/8X-5-100 ohne Rad
Rod Vari-Opal 8/8X-3-90
Rod Vari-Opal 8/8X-4-90
Rod Vari-Opal 8/8X-5-90 mit Rad
Rod Vari-Opal 8/8X-3-90
Rod Vari-Opal 8/8X-4-90
Rod Vari-Opal 8/8X-5-90 ohne Rad
Frame extension VO 8-100
Frame extension VO 8-90
Rod Anbauteil VO 8/8X-3-100
Rod Anbauteil VO8/8X-4/5/6-100
Rod Anbauteil VO 8/8X-3-90
Rod Anbauteil VO8/8X-4/5/6-90
Skim stalk DE-D45 H750-800
Skim stalk S1 50x30x371/G 80x30
Stalk bracket Vari-Opal 8 X
Trip device with roller 30x80-170-V
Trip device with roller Vari-Opal 7 X / 8 X GR30-D14
Trip device with roller 30x80-170-V/D20
Bolts for leg Dural
Depth wheel D35x148/140 VO8
Depth wheel D35x178/140x615 VO8
Uni-wheel D35/148/140 VO 8 5/140
Uni-wheel D35/148/140 VO8 6/205
Wheel 5/94/140 D14 10.0/80-12 8PR ET-25
Bearing 5/93,5/140 M14 50x50
Bearing V60-6/160/205 D18
Wheel 6/161/205 D18 10.0/75-15.3 12PR AW ET-25
Wheel 6/161/205 D18 D770/340 10.0/75-15,3
Depth wheel V8 10,0/75-15.3
Depth wheel VO8 10,0/80-12
Depth wheel VO5/6/615 195R15 D650x198
Depth wheel VO8/615 10.0/80-12
Uni-wheel VO8 10.0/80-12
Uni-wheel VO8 10.0/75-15.3
Uni-wheel VO8 13.0/55-16
Carrier for light LH 1
Carrier for light LH3A UNI
Lighting equipment with boards HR+HL 7m
Trip disc-coulter X140-X160 RE 500 G
Trip disc-coulter X140-X160 LI 500 G
Trip disc-coulter X140-X160 RE 500 Z
Trip disc-coulter X140-X160 LI 500 Z
Disc arm D500-G Z50
Disc arm D500-Z Z50
Disc stalk D40/80 Z50
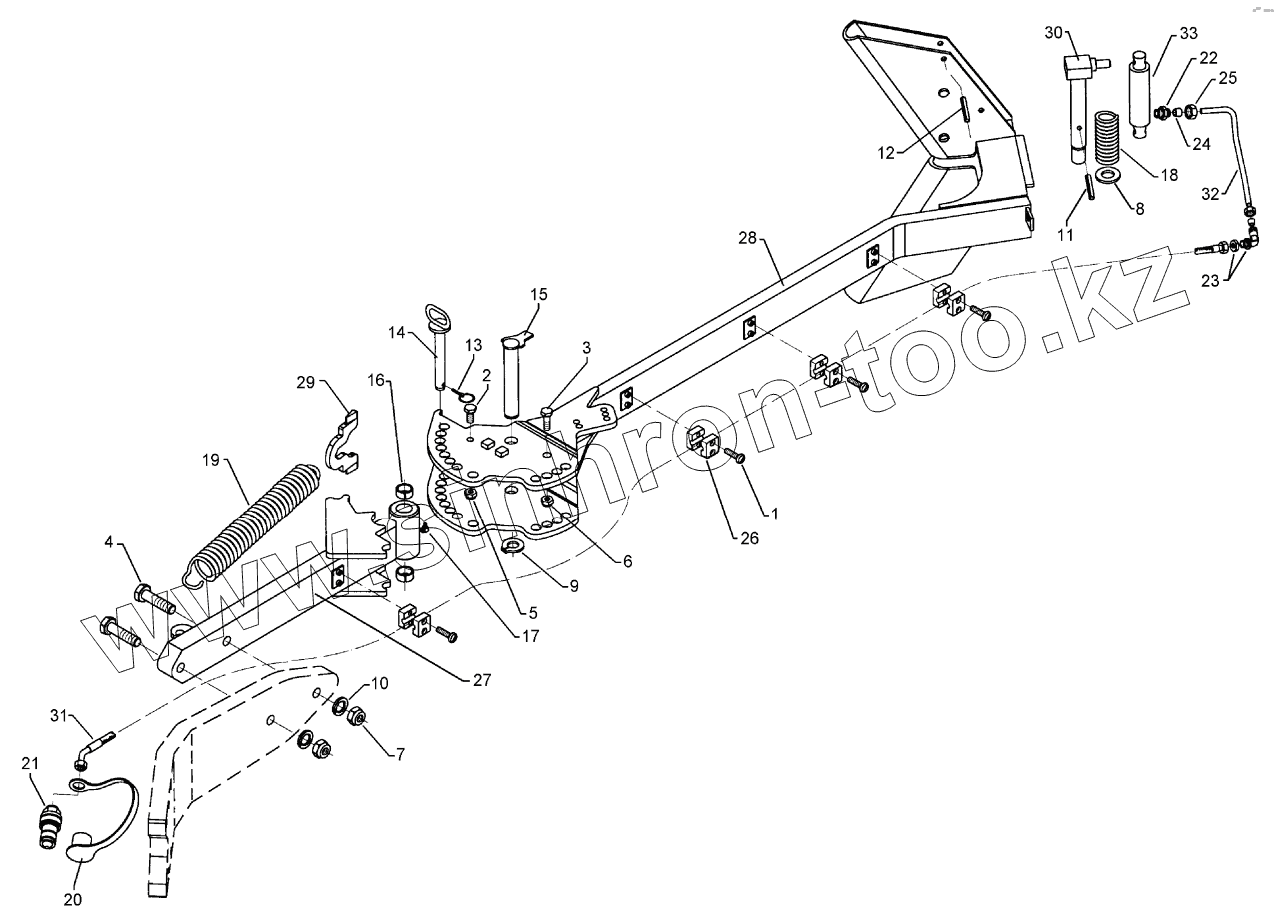
Attachment arm E2V
Bracket E8 D16/180x60
Check chain for attachment arm Vari-Opal 7/8/9 X
HY-assembly attachment arm PA-E1-D
HY-assembly attachment arm PA-E1-K
Width adjuster DZ90/40/100-600 N WE
HY-width adjuster Memory-VUP DZ100/50/100-600 WE
HY-width adjuster Memory-VUP DZ90/40/100-600 WE
HY-turnover device D80/233 VUP HPS-II-A
HY-turnover device D90 VUP HPS-II-AR
HY-turnover device D80/237 Vari-Stop
HY-turnover device D80/237 Vari-Stop-Memory
Trip device Rolle-HY-170_80.30-D14
Trip device Rolle-HY-170 80x30-D14/D20
Hydraulic assembly X-HY 3SG-900
Hydraulic assembly X-HY 4SG-900
Hydraulic assembly X-HY 5SG-900
Hydraulic assembly X-HY 3SG-1000
Hydraulic assembly X-HY 4SG-1000
Hydraulic assembly X-HY 5SG-1000
Hydraulic assembly X-HY 1SA-900
Hydraulic assembly X-HY 1SA-1000
Holder E+V-Opal 8 X-HY
1
2
3
4
5
6
7
8
9
10
11
12
13
14
15
16
17
18
19
20
21
22
23
24
25
26
27
28
29
30
31
32
33
Позиция на иллюстрации
Заводской номер детали
Название детали
1
301 0302
Flatheaded bolt
2
301 3313
Screw
3
301 3701
Screw
4
301 4407
Bolt
5
303 0934
Selflocking nut
6
303 0935
Selflocking nut
7
303 0978
Nut
8
305 6229
Washer
9
305 8861
Securing ring
10
305 9888
Spring ring
11
309 6072
Expansion bush
12
309 6174
Expansion bush
13
311 9565
Securing pin
14
313 2020
Pin with grip
15
313 2538
Pin with stop
16
317 3408
Expansion bush
17
323 6349
Grease nipple
18
329 8289
Spring
19
329 8595
Spring
20
375 2164
Cap
21
375 2716
SVK-socket
22
375 3990
Nipple
23
375 4390
Angle union
24
375 5100
Cutting ring
25
375 5300
Union nut
26
375 9961
Clamp
27
422 9514
Supporting arm
28
422 9515
Hook arm
29
422 9516
Lever
30
422 9550
Locking pin
31
475 2677
High-pressure hose
32
475 9668
Tube
33
575 2335
Ram
Содержащиеся в справочниках-каталогах запасные части и детали не предлагаются к продаже, а носят исключительно информационный характер
Дополнительная информация
×
Название:
Номер:
Примечание: