Вернуться на главную
Поиск
Каталоги запчастей к технике
Сельхозтехника
Lemken
VariOpal 7
Basic frame VO 7 3-100
Каталог запасных частей к технике: Lemken VariOpal 7. Basic frame VO 7 3-100
zoom-in
zoom-out
enlarge
shrink
circle-right
circle-left
file-text2
info
cart
Тип техники
Не выбрано
Легковые автомобили
Грузовые автомобили и прицепы
Автобусы
Сельхозтехника
Спецтехника
Двигатели
Мототехника
Марка
Не выбрано
AGCO
Amity
CASE IH
DongFeng
Fortschritt
Foton
Franz Kleine
Gaspardo
Great Plains
KRONE
KUHN
Lemken
Lovol
MacDon
Massey Ferguson
New Holland
TIGARBO
Vaderstad
Versatile
Wirax
Агро
Агротехмаш
Бобруйскагромаш (ОАО «УКХ «Бобруйскагромаш»)
БЭМЗ
ВгТЗ
Воронежсельмаш
ВТЗ
Гомсельмаш
ДКЗ
ЗАО "Техника-сервис"
ЗиД
КЗК
Кировец-Ландтехник
Клевер
Красная Звезда
Лидагропроммаш
Лидсельмаш
ЛТЗ
Машстройхолдинг
Минитракторы
Мордовагромаш
МТЗ
Навигатор-Новое машиностроение
Нефтекамский автозавод
ПТЗ
Ремком
РСМ
Сибсельмаш
ТеКЗ
ТКЗ
ХЗТСШ
ХТЗ
ЮМЗ
Модель
Не выбрано
Achat 9/400 KA (2004)
Achat 9/500 KA (2004)
Achat 9/600 KA (2004)
Azurit 9 (2018)
Dolomit 9 (2010)
EuroDiamant 10 (2010)
EuroDiamant 10 X (2010)
EuroDiamant 8 (2010)
EuroGranat 5 (2006)
EuroGranat 6 (2006)
EuroGranat 7 (2006)
EurOpal 5 (2010)
EurOpal 5HX (2010)
EurOpal 6 (2010)
EurOpal 7 (2010)
EurOpal 7, EurOpal 7HX (2018)
EurOpal 7X (2010)
EurOpal 7X, EurOpal 7 HydriX (2018)
EurOpal 8 (2010)
EurOpal 9 (2010)
EuroTitan 10 (2010)
EuroTitan 10X (2010)
FixPack (2010)
Gigant 1000 (2010)
Gigant 1000 Smaragd (2010)
Gigant 800 (2010)
Gigant 800 S (2010)
Gigant 800 S Rubin (2006)
Gigant 800 Smaragd (2010)
Heliodor 9/600KA (2018)
Heliodor 9/700KA (2018)
Juwel 8M (2018)
Karat 9/600 KA (2016)
Kristall 9/500KA (2016)
Kristall 9/600KA (2016)
OptiDisc 25 (2018)
Primus 10 (Часть 1) (2017)
Primus 10 (Часть 2) (2017)
Quarz 7/250 (2010)
Quarz 7/250 F (2010)
Quarz 7/300 (2010)
Quarz 7/300F (2010)
Quarz 7/400 (2010)
Quarz 7/400F (2010)
Quarz 7/400K (2010)
Quarz 7/400KA (2010)
Quarz 7/500K (2010)
Quarz 7/500KA (2010)
Quarz 7/600K (2010)
Rubin 10/600 KUA (2018)
Rubin 10/700 KUA (2018)
Rubin 12/400 KUA (A) (2018)
Rubin 12/500 KUA (A) (2018)
Rubin 12/600 KUA (A) (2018)
Rubin 12/700 KUA (2018)
Rubin 9/300 U (2004)
Rubin 9/400 U (2004)
Saphir 7/300 (2010)
Saphir 7/400 (2010)
Smaragd 7/260 (2010)
Smaragd 7/300 (2010)
Smaragd 9/300 (2010)
Smaragd 9/400 (2010)
Smaragd 9/400 (2016)
Smaragd 9/400 K (2016)
Smaragd 9/400K (2010)
Smaragd 9/450K (2010)
Smaragd 9/500 K (2016)
Smaragd 9/500K (2004)
Smaragd 9/600 K (2016)
Smaragd 9/600K (2010)
Smaragd 9/600KA (2010)
Solitair 10/600K (2006)
Solitair 12/1000K (2007)
Solitair 12/1200K (2008)
Solitair 12/1200KD (2018)
Solitair 12/5800SW (2018)
Solitair 12/800K (2006)
Solitair 12/900K (2007)
Solitair 8/300 (2004)
Solitair 8/300 (2014)
Solitair 8/400 (2004)
Solitair 9/300 (2004)
Solitair 9/400 (2004)
Solitair 9/400K (2004)
Solitair 9/400KA (2004)
Solitair 9/450K (2004)
Solitair 9/450KA (2004)
Solitair 9/500K (2004)
Solitair 9/500KA (2009)
Solitair 9/600K (2004)
Solitair 9/600KA (2004)
System-Kompaktor Gigant 1000 (2010)
System-Kompaktor Gigant 800 (2010)
System-Kompaktor K450 (2010)
System-Kompaktor K450A (2010)
System-Kompaktor K500 (2010)
System-Kompaktor K500A (2010)
System-Kompaktor K600 (2010)
System-Kompaktor K600A (2010)
System-Kompaktor S300 (2010)
System-Kompaktor S400 (2010)
System-Korund 300 L (2010)
System-Korund 450 L (2010)
System-Korund 600 L (2010)
System-Korund 750 K (750 L) (2010)
System-Korund 900 K (2010)
System-Korund 900 L (2010)
Thorit 8/300 (2005)
Thorit 8/300 Combi-Liner (2004)
Thorit 8/400 (2010)
Thorit 8/400 Combi-Liner (2004)
Thorit 9/400 K (2004)
Thorit 9/400 KA (2003)
Thorit 9/450 K (2004)
Thorit 9/500 K (2004)
Thorit 9/500 KA (2003)
Thorit 9/600 K (2004)
Thorit 9/600 KA (2003)
Topas 140-A (2010)
Vari-Diamant 10 (2004)
Vari-Diamant 10X (2004)
Vari-Opal 100 (2014)
Vari-Opal 100HX (2014)
Vari-Opal 100X (2014)
Vari-Opal 160 (2014)
Vari-Opal X160 (2014)
Vari-Titan 10 (2010)
Vari-Turmalin 10 (2005)
Vari-Turmalin 10X (2005)
Variopack 110DP70 (2010)
Variopack 110DP90 (2010)
Variopack 110EP90 (2010)
Variopack 110FEPK700 (2010)
Variopack 80DP70 (2010)
Variopack S 110DP70 (2010)
VariOpal 5 (2010)
VariOpal 7 (2010)
VariOpal 7X (2010)
VariOpal 8 (2010)
VariOpal 8X (2010)
VariOpal 9 (2010)
VariOpal 9X (2010)
Zirkon 10/300 (2010)
Zirkon 10/400 (2010)
Zirkon 10/400K (2010)
Zirkon 10/450 (2010)
Zirkon 10/450K (2010)
Zirkon 10/450KA (2010)
Zirkon 10/500K (2010)
Zirkon 10/500KA (2010)
Zirkon 10/600KA (2010)
Zirkon 7/250 (2010)
Zirkon 7/300 (2010)
Zirkon 7/400 (2010)
Zirkon 9/300 (2010)
Zirkon 9/400 (2010)
Zirkon 9/600K "B" (2010)
Схема
>
Не выбрано
Vari-Opal 7
Top link pin with chain KAT2G D25,4/31,7x158
Top link pin with chain KAT3G D31,7/25,4x158
Tool set Opal 120+140
Turnover mechanism E100
Turnover mechanism E100-L
Locking device D25x260
Width adjuster TR30x3-730/520
Adjustment centre V-50/600
Stand V-R750-800 915mm
Lower link connection E55 L2 Z2
Lower link connection E55 L2 Z3
Lower link connection E55 L3 Z2
Lower link connection E68 L3 Z3
Lower link connection E55FH L2 Z2
Lower link connection E55FH L3 Z2
Lower link connection E55FH L2 Z3
Lower link connection E68FH L3 Z3
Pointer Vari-Opal 7-90
Pointer Vari-Opal 7-100
Basic frame VO 7 4-100
Basic frame VO 7 4-90
Basic frame VO 7 3-100
Basic frame VO 7 3-90
Basic frame VO 7 2-100
Rod Vari-Opal 7/7X-3-100
Rod Vari-Opal 7/7X-4-100
Rod Vari-Opal 7/7X-3-100
Rod Vari-Opal 7/7X-4-100
Rod Vari-Opal 7/7X-3-90
Rod Vari-Opal 7/7X-4-90
Rod Vari-Opal 7/7X-3-90
Rod Vari-Opal 7/7X-4-90
Frame extension VO 7-100
Frame extension VO 7-90
Rod Anbauteil VO 7/7X-3-100
Rod Anbauteil V07/7X-4/5-100
Rod Anbauteil VO 7/7X-3-90
Rod Anbauteil VO7/7X-4/5-90
Skim stalk S 50x30-260 H750
Skim stalk S1 50x30-260 H800
Skim stalk EV-220 50x30 H750-B
Skim stalk EV-220 50x30 H800-B
Stalk bracket Vari-Opal 7
Stalk bracket Vari-Opal 7 Sech
Bolts for leg Dural
Leg 80x30/E
Depth wheel D35x148/120 V07
Depth wheel D35x158/120x615 V07
Uni-wheel D35/148/120 VO 7 5/140
Uni-wheel D35/148/120 V07 6/205
Wheel 5/94/140 D14 10.0/80-12 8PR ET-25
Wheel 5/94/140 D14 185R14 D650x188 4PR
Bearing 5/93,5/140 M14 50x50
Bearing V60-6/160/205 D18
Wheel 6/161/205 D18 405/70 R20xM27 TL155A2/143B LI
Wheel 5/94/140 M14 10.0/75-15.3 12PR AW ET-20
Wheel 6/161/205 D18 10.0/75-15.3 12PR AW ET-25
Wheel 6/161/205 D18 D770/340 13.0/55-16
Depth wheel V7 10,0/75-15.3
Depth wheel V07 195R14 D650x198
Depth wheel V07 10,0/80-12
Depth wheel V07/615 195R15 D650x198
Depth wheel V07/615 10.0/80-12
Uni-wheel V07 10.0/80-12
Uni-wheel V07 10.0/75-15.3
Uni-wheel V07 13.0/55-16
Carrier for light LH 1
Carrier for light LH3A UNI
Lighting equipment with boards HR+HL 7m
Disc coulter V0 5/6/7 D500 A Z Z40
Disc coulter VO 5/6/7 D500 A G-Z40
Disc coulter VO 5/6/7 D500-M G
Disc coulter VO 5/6/7 D500-M Z
Headland attachment disc GPS-E7-D530
Attachment arm E2V
Bracket E7 D16/160x65 kpl.
Check chain for attachment arm Vari-Opal 7/8/9
HY-assembly attachment arm PA-E1-D
HY-assembly attachment arm PA-E1-K
HY-width adjuster Memory-VUP DZ90/40/100-600 L WE
Width adjuster DZ90/40/100-600 L WE
HY-turnover device D70/IV-A
HY-turnover device D70 VUP HPS-II-A
HY-turnover device D80 VUP HPS-II-AR
HY-turnover device D80/240 Vari-Stop
HY-turnover device D80/240 Vari-Stop-Memory
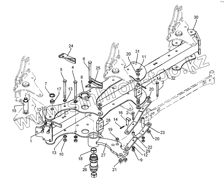
1
2
3
4
5
6
7
8
9
10
11
12
12
13
13
14
14
15
16
17
18
19
20
20
20
21
22
23
24
25
26
27
28
29
30
31
32
33
Позиция на иллюстрации
Заводской номер детали
Название детали
1
301 3701
Screw
2
301 3903
Bolt
3
301 4117
Bolt
4
301 4522
Bolt
5
301 4523
Bolt
6
301 4538
Bolt
7
303 0338
Grooved nut
8
303 0341
Grooved nut
9
303 0976
Nut
10
303 0977
Nut
11
305 6283
Washer
12
305 9887
Spring ring
13
305 9888
Spring ring
14
309 6072
Expansion bush
15
313 5560
Pin
16
313 8052
Pin with stop
17
317 2000
Bush
18
317 2025
Expansion bush
19
317 3345
Expansion bush
20
317 3337
Expansion bush
21
317 3417
Expansion bush
22
317 6801
Tube
23
317 6859
Tube
24
321 7200
Holder
25
321 7201
Holder
26
402 1282
Lagerrohr
27
402 1660
Rocker arm
28
402 1709
Cross union
29
402 1765
Rod
30
402 2940
Bearing plate
31
402 2960
Bearing plate
32
402 8240
Basic frame
33
402 8300
Stop
34
323 8071
Cap
Содержащиеся в справочниках-каталогах запасные части и детали не предлагаются к продаже, а носят исключительно информационный характер
Дополнительная информация
×
Название:
Номер:
Примечание: