Вернуться на главную
Поиск
Каталоги запчастей к технике
Сельхозтехника
Lemken
Thorit 9/600 KA
Seat valve SVH04M878SA-OM14G12
Каталог запасных частей к технике: Lemken Thorit 9/600 KA. Seat valve SVH04M878SA-OM14G12
zoom-in
zoom-out
enlarge
shrink
circle-right
circle-left
file-text2
info
cart
Тип техники
Не выбрано
Легковые автомобили
Грузовые автомобили и прицепы
Автобусы
Сельхозтехника
Спецтехника
Двигатели
Мототехника
Марка
Не выбрано
AGCO
Amity
CASE IH
DongFeng
Fortschritt
Foton
Franz Kleine
Gaspardo
Great Plains
KRONE
KUHN
Lemken
Lovol
MacDon
Massey Ferguson
New Holland
TIGARBO
Vaderstad
Versatile
Wirax
Агро
Агротехмаш
Бобруйскагромаш (ОАО «УКХ «Бобруйскагромаш»)
БЭМЗ
ВгТЗ
Воронежсельмаш
ВТЗ
Гомсельмаш
ДКЗ
ЗАО "Техника-сервис"
ЗиД
КЗК
Кировец-Ландтехник
Клевер
Красная Звезда
Лидагропроммаш
Лидсельмаш
ЛТЗ
Машстройхолдинг
Минитракторы
Мордовагромаш
МТЗ
Навигатор-Новое машиностроение
Нефтекамский автозавод
ПТЗ
Ремком
РСМ
Сибсельмаш
ТеКЗ
ТКЗ
ХЗТСШ
ХТЗ
ЮМЗ
Модель
Не выбрано
Achat 9/400 KA (2004)
Achat 9/500 KA (2004)
Achat 9/600 KA (2004)
Azurit 9 (2018)
Dolomit 9 (2010)
EuroDiamant 10 (2010)
EuroDiamant 10 X (2010)
EuroDiamant 8 (2010)
EuroGranat 5 (2006)
EuroGranat 6 (2006)
EuroGranat 7 (2006)
EurOpal 5 (2010)
EurOpal 5HX (2010)
EurOpal 6 (2010)
EurOpal 7 (2010)
EurOpal 7, EurOpal 7HX (2018)
EurOpal 7X (2010)
EurOpal 7X, EurOpal 7 HydriX (2018)
EurOpal 8 (2010)
EurOpal 9 (2010)
EuroTitan 10 (2010)
EuroTitan 10X (2010)
FixPack (2010)
Gigant 1000 (2010)
Gigant 1000 Smaragd (2010)
Gigant 800 (2010)
Gigant 800 S (2010)
Gigant 800 S Rubin (2006)
Gigant 800 Smaragd (2010)
Heliodor 9/600KA (2018)
Heliodor 9/700KA (2018)
Juwel 8M (2018)
Karat 9/600 KA (2016)
Kristall 9/500KA (2016)
Kristall 9/600KA (2016)
OptiDisc 25 (2018)
Primus 10 (Часть 1) (2017)
Primus 10 (Часть 2) (2017)
Quarz 7/250 (2010)
Quarz 7/250 F (2010)
Quarz 7/300 (2010)
Quarz 7/300F (2010)
Quarz 7/400 (2010)
Quarz 7/400F (2010)
Quarz 7/400K (2010)
Quarz 7/400KA (2010)
Quarz 7/500K (2010)
Quarz 7/500KA (2010)
Quarz 7/600K (2010)
Rubin 10/600 KUA (2018)
Rubin 10/700 KUA (2018)
Rubin 12/400 KUA (A) (2018)
Rubin 12/500 KUA (A) (2018)
Rubin 12/600 KUA (A) (2018)
Rubin 12/700 KUA (2018)
Rubin 9/300 U (2004)
Rubin 9/400 U (2004)
Saphir 7/300 (2010)
Saphir 7/400 (2010)
Smaragd 7/260 (2010)
Smaragd 7/300 (2010)
Smaragd 9/300 (2010)
Smaragd 9/400 (2010)
Smaragd 9/400 (2016)
Smaragd 9/400 K (2016)
Smaragd 9/400K (2010)
Smaragd 9/450K (2010)
Smaragd 9/500 K (2016)
Smaragd 9/500K (2004)
Smaragd 9/600 K (2016)
Smaragd 9/600K (2010)
Smaragd 9/600KA (2010)
Solitair 10/600K (2006)
Solitair 12/1000K (2007)
Solitair 12/1200K (2008)
Solitair 12/1200KD (2018)
Solitair 12/5800SW (2018)
Solitair 12/800K (2006)
Solitair 12/900K (2007)
Solitair 8/300 (2004)
Solitair 8/300 (2014)
Solitair 8/400 (2004)
Solitair 9/300 (2004)
Solitair 9/400 (2004)
Solitair 9/400K (2004)
Solitair 9/400KA (2004)
Solitair 9/450K (2004)
Solitair 9/450KA (2004)
Solitair 9/500K (2004)
Solitair 9/500KA (2009)
Solitair 9/600K (2004)
Solitair 9/600KA (2004)
System-Kompaktor Gigant 1000 (2010)
System-Kompaktor Gigant 800 (2010)
System-Kompaktor K450 (2010)
System-Kompaktor K450A (2010)
System-Kompaktor K500 (2010)
System-Kompaktor K500A (2010)
System-Kompaktor K600 (2010)
System-Kompaktor K600A (2010)
System-Kompaktor S300 (2010)
System-Kompaktor S400 (2010)
System-Korund 300 L (2010)
System-Korund 450 L (2010)
System-Korund 600 L (2010)
System-Korund 750 K (750 L) (2010)
System-Korund 900 K (2010)
System-Korund 900 L (2010)
Thorit 8/300 (2005)
Thorit 8/300 Combi-Liner (2004)
Thorit 8/400 (2010)
Thorit 8/400 Combi-Liner (2004)
Thorit 9/400 K (2004)
Thorit 9/400 KA (2003)
Thorit 9/450 K (2004)
Thorit 9/500 K (2004)
Thorit 9/500 KA (2003)
Thorit 9/600 K (2004)
Thorit 9/600 KA (2003)
Topas 140-A (2010)
Vari-Diamant 10 (2004)
Vari-Diamant 10X (2004)
Vari-Opal 100 (2014)
Vari-Opal 100HX (2014)
Vari-Opal 100X (2014)
Vari-Opal 160 (2014)
Vari-Opal X160 (2014)
Vari-Titan 10 (2010)
Vari-Turmalin 10 (2005)
Vari-Turmalin 10X (2005)
Variopack 110DP70 (2010)
Variopack 110DP90 (2010)
Variopack 110EP90 (2010)
Variopack 110FEPK700 (2010)
Variopack 80DP70 (2010)
Variopack S 110DP70 (2010)
VariOpal 5 (2010)
VariOpal 7 (2010)
VariOpal 7X (2010)
VariOpal 8 (2010)
VariOpal 8X (2010)
VariOpal 9 (2010)
VariOpal 9X (2010)
Zirkon 10/300 (2010)
Zirkon 10/400 (2010)
Zirkon 10/400K (2010)
Zirkon 10/450 (2010)
Zirkon 10/450K (2010)
Zirkon 10/450KA (2010)
Zirkon 10/500K (2010)
Zirkon 10/500KA (2010)
Zirkon 10/600KA (2010)
Zirkon 7/250 (2010)
Zirkon 7/300 (2010)
Zirkon 7/400 (2010)
Zirkon 9/300 (2010)
Zirkon 9/400 (2010)
Zirkon 9/600K "B" (2010)
Схема
>
Не выбрано
Thorit 9/600 KA 2003
Center section Thorit/Achat 9/500-600 KA
Lateral part Thorit 9/600 KA RE
Lateral part Thorit 9/600 KA LI
Stand 70x22/110x110x600
Fittings for AHG Smaragd 9
Accessories Smaragd 9 K(U)AB
Fittings for AHG Smaragd 9U D30G
Lower link connection ED68/55 L2 Z2
Lower link connection ED68/55 L3 Z2
Lower link connection ED68 L2 Z3
Lower link connection ED68 L3 Z3
Lower link connection ED68 L1100 Z58 K700
Depth limiter K700 -B M24
Adapter-inner thread ZPW-SM9/600-K RE+LI
Packer roller ZPW D500-3,0m
Tube bar roller D400-300 SM9 K
Tube bar roller D540-300 RE SM9
Tube bar roller D540-300 LI SM9
Tube bar roller D600-300 SM9-K RE
Tube bar roller D600-300 SM9-K LI
Double roller D400-300 RE SM9K
Double roller D400-300 LI SM9K
Double roller D400-300 RE SM9K
Double roller D400-300 LI SM9K
Trapeze packer roller TPW D500-300-24R-125
Packer roller, short scraper ZPW D500-3,0m
Trapeze packer roller TPW D500-300-20R150
Trapeze packer roller TPW D500-300-17R175
Trapeze disc roller TSW D500-300-24R-125
Knife roller MSW D600-300 RE SM9
Knife roller MSW D600-300 LI SM9
Double roller D540/400-3.00 RE
Double roller D540/400-3.00 LI
Carrier 1795 T-Form RE Thorit 9
Carrier 1795 T-Form LI Thorit 9
Carrier 2095 U-Form RE Thorit 9
Carrier 2095 U-Form LI Torit 9U
Carrier 1795 T-Form RE Thorit 9 STR
Carrier 1795 T-Form LI Thorit 9 STR
Carrier 2095 U-Form RE Thorit 9U STR
Carrier 2095 U-Form LI Thorit 9U STR
Balance bar Thorit 9/600
Frame for hollow discs Thorit 9/600 KA
Levelling type harrow STR80-600
Hollow disc RE D450 Smaragd 9
Hollow disc LI D450 Smaragd 9
Bracket for outer disc 80x80 Thorit 9 KA
Bracket for outer disc 80x80 TH.8+9
Pair of hollow discs 2xD450 Thorit 9
Pair of hollow discs Mitte 2xD450 TH.9
Hollow disc RE D450 Thorit 9
Trip device 50x18 SM9
Trip device D30G-20 206-Drehpunkt SM.9
Trip device Achat 9 D30G-20
Tine S12P RE 70x22 D24
Tine S12P LI 70x22 D24
Tine S12P MI 70x22 D24
Tine S12P RE 70x22x795 D16
Tine S12P LI 70x22x795 D16
Tine S12P MI 70x22x795 D16
Lighting equipment V Thorit/Achat 9 KA
Lighting equipment V Thorit/Achat 9 KA
Lighting equipment, rear KA 150x150
Bearing D35x622 6/205 MONROC
Braking axle GS12008 55.72.448.000
Running axle GS7008 55.67.001.014
Wheel 6/161/205 D18 400-15.5 T404 -14PR RE
Wheel 6/161/205 D18 400-15.5 T404 -14PR LI
Wheel 8/221/575 Trelleborg 550/60-22.5 12PR/RE
Wheel 8/221/575 Trelleborg 550/60-22.5 12PR/LI
Wheel 8/221/575 12,5/80-18 12PR AW
Wheel 8/221/575 Alliance 700/50-22,5 12PR ET0
Wheel 8/221/575 Alliance 700/50-22,5 12PR ET0
Twobar hydraulic 100x100 Thorit/Achat 9 KA
Twobar Thorit 9 KA KG45
Depth wheel 400/60-15,5 Thorit 9 RE
Depth wheel 400/60-15,5 Thorit 9 LI
Trailer Thorit/Achat 9/400-600 KA
Kupplungsteil FK 140x140 (Solitair 9KA)
Kupplungsteil FK 150x150x120 (Solitair 9KA)
Hydraulic lift linkage D50x200 L2 Z2
Three-way pressure balance LU8SSCK-QM22/04
Valve 6/3 LD8SE4D2525
Seat valve SVH04M878SA-OM14G12
Hose carrier D42,5x6,3x830
HY-assembly lift linkage DZ 110x450
HY-assembly lift linkage DZ 110x450
HY-pipe assembly Thorit/Achat 9 KA
HY-assembly folding device Thorit 9/500+600 KA DZ90/450
HY-assembly trailer Thorit/Achat 9 KA DZ100/245
HY-assembly trailer Thorit/Achat 9 KA DZ100/245
HY-pipe assembly folding dev. Thorit/Achat 9 KA
HY-pipe assembly Thorit/Achat 9 KA 6/2 W. AHG
HY-pipe assembly Thorit/Achat 9 KA
HY-pipe assembly Thorit/Achat 9 KA
HY-pipe assembly Thorit/Achat 9 KA
HY-pipe assembly Thorit/Achat 9 KA
HY-assembly control valve Thorit/Achat 9 KA L8S
HY-assembly control valve Thorit/Achat 9 KA -FW
HY-pipe assembly Thorit/Achat 9 KA
HY-pipe assembly Thorit/Achat 9 KA
HY-pipe assembly Thorit/Achat 9 KA -AHG
HY-assembly track marker Thorit/Achat 9 KA 4+4,5m
HY-assembly track marker Thorit/Achat 9 KA 4+4,5m
Hydraulic braking assembly Thorit/Achat 9 KA 2xEZ 30x110
HY-pipe lifting device Thorit/Achat 9 KA EW
Compressed-air brake Thorit/Achat 9 KA
Axle for track marker D30x595 668A
Track marker Solitair FW450/Z600 D380
Bracket for track marker Smaragd 9/6M RE
Bracket for track marker Smaragd 9/6M LI
Extension cable 22-polig 8m
Control box ELFG104-XXXX
Cable form ELFG104-XXXX 10m
Joystickbox JB-1
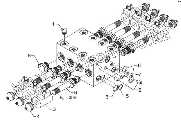
1
2
3
4
5
6
6
7
8
9
Позиция на иллюстрации
Заводской номер детали
Название детали
1
301 9708
Plug
2
309 3301
Expansion bush
3
373 4701
Magnet coil
4
373 4702
Hand control, stop
5
375 1118
O-ring
6
375 1138
O-ring
7
375 1149
O-ring
8
375 5151
Plug
9
575 1132
Valve
Содержащиеся в справочниках-каталогах запасные части и детали не предлагаются к продаже, а носят исключительно информационный характер
Дополнительная информация
×
Название:
Номер:
Примечание: