Вернуться на главную
Поиск
Каталоги запчастей к технике
Сельхозтехника
Lemken
System-Kompaktor K600
Depth limiter K700 D68
Каталог запасных частей к технике: Lemken System-Kompaktor K600. Depth limiter K700 D68
zoom-in
zoom-out
enlarge
shrink
circle-right
circle-left
file-text2
info
cart
Тип техники
Не выбрано
Легковые автомобили
Грузовые автомобили и прицепы
Автобусы
Сельхозтехника
Спецтехника
Двигатели
Мототехника
Марка
Не выбрано
AGCO
Amity
CASE IH
DongFeng
Fortschritt
Foton
Franz Kleine
Gaspardo
Great Plains
KRONE
KUHN
Lemken
Lovol
MacDon
Massey Ferguson
New Holland
TIGARBO
Vaderstad
Versatile
Wirax
Агро
Агротехмаш
Бобруйскагромаш (ОАО «УКХ «Бобруйскагромаш»)
БЭМЗ
ВгТЗ
Воронежсельмаш
ВТЗ
Гомсельмаш
ДКЗ
ЗАО "Техника-сервис"
ЗиД
КЗК
Кировец-Ландтехник
Клевер
Красная Звезда
Лидагропроммаш
Лидсельмаш
ЛТЗ
Машстройхолдинг
Минитракторы
Мордовагромаш
МТЗ
Навигатор-Новое машиностроение
Нефтекамский автозавод
ПТЗ
Ремком
РСМ
Сибсельмаш
ТеКЗ
ТКЗ
ХЗТСШ
ХТЗ
ЮМЗ
Модель
Не выбрано
Achat 9/400 KA (2004)
Achat 9/500 KA (2004)
Achat 9/600 KA (2004)
Azurit 9 (2018)
Dolomit 9 (2010)
EuroDiamant 10 (2010)
EuroDiamant 10 X (2010)
EuroDiamant 8 (2010)
EuroGranat 5 (2006)
EuroGranat 6 (2006)
EuroGranat 7 (2006)
EurOpal 5 (2010)
EurOpal 5HX (2010)
EurOpal 6 (2010)
EurOpal 7 (2010)
EurOpal 7, EurOpal 7HX (2018)
EurOpal 7X (2010)
EurOpal 7X, EurOpal 7 HydriX (2018)
EurOpal 8 (2010)
EurOpal 9 (2010)
EuroTitan 10 (2010)
EuroTitan 10X (2010)
FixPack (2010)
Gigant 1000 (2010)
Gigant 1000 Smaragd (2010)
Gigant 800 (2010)
Gigant 800 S (2010)
Gigant 800 S Rubin (2006)
Gigant 800 Smaragd (2010)
Heliodor 9/600KA (2018)
Heliodor 9/700KA (2018)
Juwel 8M (2018)
Karat 9/600 KA (2016)
Kristall 9/500KA (2016)
Kristall 9/600KA (2016)
OptiDisc 25 (2018)
Primus 10 (Часть 1) (2017)
Primus 10 (Часть 2) (2017)
Quarz 7/250 (2010)
Quarz 7/250 F (2010)
Quarz 7/300 (2010)
Quarz 7/300F (2010)
Quarz 7/400 (2010)
Quarz 7/400F (2010)
Quarz 7/400K (2010)
Quarz 7/400KA (2010)
Quarz 7/500K (2010)
Quarz 7/500KA (2010)
Quarz 7/600K (2010)
Rubin 10/600 KUA (2018)
Rubin 10/700 KUA (2018)
Rubin 12/400 KUA (A) (2018)
Rubin 12/500 KUA (A) (2018)
Rubin 12/600 KUA (A) (2018)
Rubin 12/700 KUA (2018)
Rubin 9/300 U (2004)
Rubin 9/400 U (2004)
Saphir 7/300 (2010)
Saphir 7/400 (2010)
Smaragd 7/260 (2010)
Smaragd 7/300 (2010)
Smaragd 9/300 (2010)
Smaragd 9/400 (2010)
Smaragd 9/400 (2016)
Smaragd 9/400 K (2016)
Smaragd 9/400K (2010)
Smaragd 9/450K (2010)
Smaragd 9/500 K (2016)
Smaragd 9/500K (2004)
Smaragd 9/600 K (2016)
Smaragd 9/600K (2010)
Smaragd 9/600KA (2010)
Solitair 10/600K (2006)
Solitair 12/1000K (2007)
Solitair 12/1200K (2008)
Solitair 12/1200KD (2018)
Solitair 12/5800SW (2018)
Solitair 12/800K (2006)
Solitair 12/900K (2007)
Solitair 8/300 (2004)
Solitair 8/300 (2014)
Solitair 8/400 (2004)
Solitair 9/300 (2004)
Solitair 9/400 (2004)
Solitair 9/400K (2004)
Solitair 9/400KA (2004)
Solitair 9/450K (2004)
Solitair 9/450KA (2004)
Solitair 9/500K (2004)
Solitair 9/500KA (2009)
Solitair 9/600K (2004)
Solitair 9/600KA (2004)
System-Kompaktor Gigant 1000 (2010)
System-Kompaktor Gigant 800 (2010)
System-Kompaktor K450 (2010)
System-Kompaktor K450A (2010)
System-Kompaktor K500 (2010)
System-Kompaktor K500A (2010)
System-Kompaktor K600 (2010)
System-Kompaktor K600A (2010)
System-Kompaktor S300 (2010)
System-Kompaktor S400 (2010)
System-Korund 300 L (2010)
System-Korund 450 L (2010)
System-Korund 600 L (2010)
System-Korund 750 K (750 L) (2010)
System-Korund 900 K (2010)
System-Korund 900 L (2010)
Thorit 8/300 (2005)
Thorit 8/300 Combi-Liner (2004)
Thorit 8/400 (2010)
Thorit 8/400 Combi-Liner (2004)
Thorit 9/400 K (2004)
Thorit 9/400 KA (2003)
Thorit 9/450 K (2004)
Thorit 9/500 K (2004)
Thorit 9/500 KA (2003)
Thorit 9/600 K (2004)
Thorit 9/600 KA (2003)
Topas 140-A (2010)
Vari-Diamant 10 (2004)
Vari-Diamant 10X (2004)
Vari-Opal 100 (2014)
Vari-Opal 100HX (2014)
Vari-Opal 100X (2014)
Vari-Opal 160 (2014)
Vari-Opal X160 (2014)
Vari-Titan 10 (2010)
Vari-Turmalin 10 (2005)
Vari-Turmalin 10X (2005)
Variopack 110DP70 (2010)
Variopack 110DP90 (2010)
Variopack 110EP90 (2010)
Variopack 110FEPK700 (2010)
Variopack 80DP70 (2010)
Variopack S 110DP70 (2010)
VariOpal 5 (2010)
VariOpal 7 (2010)
VariOpal 7X (2010)
VariOpal 8 (2010)
VariOpal 8X (2010)
VariOpal 9 (2010)
VariOpal 9X (2010)
Zirkon 10/300 (2010)
Zirkon 10/400 (2010)
Zirkon 10/400K (2010)
Zirkon 10/450 (2010)
Zirkon 10/450K (2010)
Zirkon 10/450KA (2010)
Zirkon 10/500K (2010)
Zirkon 10/500KA (2010)
Zirkon 10/600KA (2010)
Zirkon 7/250 (2010)
Zirkon 7/300 (2010)
Zirkon 7/400 (2010)
Zirkon 9/300 (2010)
Zirkon 9/400 (2010)
Zirkon 9/600K "B" (2010)
Схема
>
Не выбрано
System-Kompaktor K 600
Harrow section 1,5m - GZ 12
Harrow section 1,5m - GFS 6 - A
Harrow section 1,5m - GFS 6U - A
Harrow section 1,5m - GFS 6U - A G28
Crumbler frame 1,5m FK 270
Crumbler frame 1,5m RK 330
Crumbler frame 1,5m RK 400
Trip device 40x15x450 - GFS U
Stone protection bar 1,5m/820mm
Kompaktor section 1,5m-GFS 6-FK270-B
Kompaktor section 1,5m-GFS 6U-FK270-B
Kompaktor section 1,5m-GZ 12-FK270-B
Kompaktor section 1,5m-GFS 6-RK330
Kompaktor section 1,5m-GFS 6U-RK330
Kompaktor section 1,5m-GZ 12-RK330
Kompaktor section 1,5m-GFS 6-RK400
Kompaktor section 1,5m-GFS 6U-RK400
Kompaktor section 1,5m-GZ 12-RK400
Kompaktor section 1,5m-GFS28-6-FK270
Kompaktor section 1,5m-GFS28-6U-FK270
Kompaktor section 1,5m-GFS28-6-RK330
Kompaktor section 1,5m-GFS28-6U-RK330
Kompaktor section 1,5m-GFS28-6-RK400
Kompaktor section 1,5m-GFS28-6U-RK400
Adjustment for cutting bar HY-Sy-Kompaktor
Leaf spring 120x6x330x220/545
Shield 250x5x640
Shield MI 5x250x794
Basic frame Kompaktor K600A
Top link pin with chain KAT3G D31,7/25,4x158
Extension for headstock K700
Lower link connection D55/68 L2 Z3
Lower link connection D68/68 L3 Z3
Lower link connection D68/68 L1100 Z58 K700
Depth limiter K700 D68
CRP roller 1,5m CKP 400 GEFA BA
CRP roller 1,5m CKP 400 GEFA BA m.Zugst.
Tube bar roller 1,5m RSP 400
Nockenring roller 1,5m NRP 450
Trapezering roller 1,5m TRP 500
Stone devider Kompaktor 30x8 - M10
Holder for track scraper 40x20 80x80 H
Track scraper FSU+G25 40x20
Track scraper FSU P50/6
Holder K500,K600 80x80x1240
Holder K500,K600 80x80x1585
Spurlockerer mit Halter FSU-G25 80x80
Spurlockerer mit Halter FSU-P50 80x80
Carrier for light LH 13
Lighting equipment with boards HVR+HVL 5m
HY-assembly folding device Kompaktor K 600
HY-pipe assembly folding Kompaktor K
HY-pipe assembly cutting bar K600
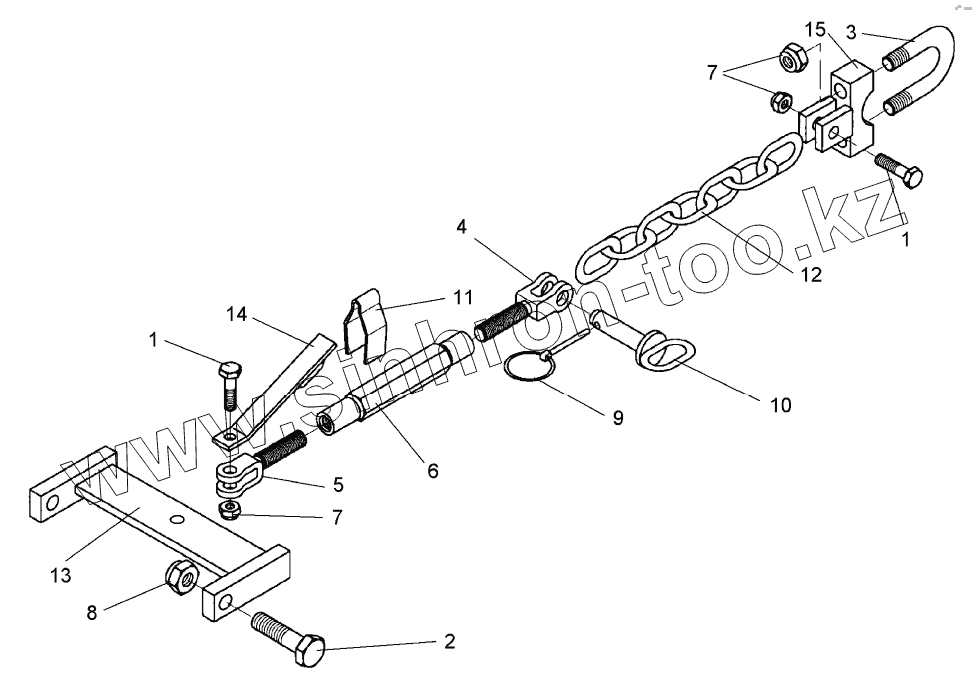
1
1
2
3
4
5
6
7
7
8
9
10
11
12
13
14
15
Позиция на иллюстрации
Заводской номер детали
Название детали
1
301 4602
Bolt
2
301 4661
Bolt
3
301 7825
U-bolt
4
302 8980
Forkpiece
5
302 8981
Forkpiece
6
302 8892
Threaded sleeve
7
303 0936
Selflocking nut
8
303 0937
Selflocking nut
9
311 9565
Securing pin
10
313 8147
Pin with grip
11
329 1792
U-spring
12
331 6584
Chain
13
461 6172
Drawbar
14
461 6173
Holder
15
461 6174
Clamp strap
Содержащиеся в справочниках-каталогах запасные части и детали не предлагаются к продаже, а носят исключительно информационный характер
Дополнительная информация
×
Название:
Номер:
Примечание: