Вернуться на главную
Поиск
Каталоги запчастей к технике
Сельхозтехника
Lemken
System-Kompaktor K450A
Depth limiter K700 -B M30
Каталог запасных частей к технике: Lemken System-Kompaktor K450A. Depth limiter K700 -B M30
zoom-in
zoom-out
enlarge
shrink
circle-right
circle-left
file-text2
info
cart
Тип техники
Не выбрано
Легковые автомобили
Грузовые автомобили и прицепы
Автобусы
Сельхозтехника
Спецтехника
Двигатели
Мототехника
Марка
Не выбрано
AGCO
Amity
CASE IH
DongFeng
Fortschritt
Foton
Franz Kleine
Gaspardo
Great Plains
KRONE
KUHN
Lemken
Lovol
MacDon
Massey Ferguson
New Holland
TIGARBO
Vaderstad
Versatile
Wirax
Агро
Агротехмаш
Бобруйскагромаш (ОАО «УКХ «Бобруйскагромаш»)
БЭМЗ
ВгТЗ
Воронежсельмаш
ВТЗ
Гомсельмаш
ДКЗ
ЗАО "Техника-сервис"
ЗиД
КЗК
Кировец-Ландтехник
Клевер
Красная Звезда
Лидагропроммаш
Лидсельмаш
ЛТЗ
Машстройхолдинг
Минитракторы
Мордовагромаш
МТЗ
Навигатор-Новое машиностроение
Нефтекамский автозавод
ПТЗ
Ремком
РСМ
Сибсельмаш
ТеКЗ
ТКЗ
ХЗТСШ
ХТЗ
ЮМЗ
Модель
Не выбрано
Achat 9/400 KA (2004)
Achat 9/500 KA (2004)
Achat 9/600 KA (2004)
Azurit 9 (2018)
Dolomit 9 (2010)
EuroDiamant 10 (2010)
EuroDiamant 10 X (2010)
EuroDiamant 8 (2010)
EuroGranat 5 (2006)
EuroGranat 6 (2006)
EuroGranat 7 (2006)
EurOpal 5 (2010)
EurOpal 5HX (2010)
EurOpal 6 (2010)
EurOpal 7 (2010)
EurOpal 7, EurOpal 7HX (2018)
EurOpal 7X (2010)
EurOpal 7X, EurOpal 7 HydriX (2018)
EurOpal 8 (2010)
EurOpal 9 (2010)
EuroTitan 10 (2010)
EuroTitan 10X (2010)
FixPack (2010)
Gigant 1000 (2010)
Gigant 1000 Smaragd (2010)
Gigant 800 (2010)
Gigant 800 S (2010)
Gigant 800 S Rubin (2006)
Gigant 800 Smaragd (2010)
Heliodor 9/600KA (2018)
Heliodor 9/700KA (2018)
Juwel 8M (2018)
Karat 9/600 KA (2016)
Kristall 9/500KA (2016)
Kristall 9/600KA (2016)
OptiDisc 25 (2018)
Primus 10 (Часть 1) (2017)
Primus 10 (Часть 2) (2017)
Quarz 7/250 (2010)
Quarz 7/250 F (2010)
Quarz 7/300 (2010)
Quarz 7/300F (2010)
Quarz 7/400 (2010)
Quarz 7/400F (2010)
Quarz 7/400K (2010)
Quarz 7/400KA (2010)
Quarz 7/500K (2010)
Quarz 7/500KA (2010)
Quarz 7/600K (2010)
Rubin 10/600 KUA (2018)
Rubin 10/700 KUA (2018)
Rubin 12/400 KUA (A) (2018)
Rubin 12/500 KUA (A) (2018)
Rubin 12/600 KUA (A) (2018)
Rubin 12/700 KUA (2018)
Rubin 9/300 U (2004)
Rubin 9/400 U (2004)
Saphir 7/300 (2010)
Saphir 7/400 (2010)
Smaragd 7/260 (2010)
Smaragd 7/300 (2010)
Smaragd 9/300 (2010)
Smaragd 9/400 (2010)
Smaragd 9/400 (2016)
Smaragd 9/400 K (2016)
Smaragd 9/400K (2010)
Smaragd 9/450K (2010)
Smaragd 9/500 K (2016)
Smaragd 9/500K (2004)
Smaragd 9/600 K (2016)
Smaragd 9/600K (2010)
Smaragd 9/600KA (2010)
Solitair 10/600K (2006)
Solitair 12/1000K (2007)
Solitair 12/1200K (2008)
Solitair 12/1200KD (2018)
Solitair 12/5800SW (2018)
Solitair 12/800K (2006)
Solitair 12/900K (2007)
Solitair 8/300 (2004)
Solitair 8/300 (2014)
Solitair 8/400 (2004)
Solitair 9/300 (2004)
Solitair 9/400 (2004)
Solitair 9/400K (2004)
Solitair 9/400KA (2004)
Solitair 9/450K (2004)
Solitair 9/450KA (2004)
Solitair 9/500K (2004)
Solitair 9/500KA (2009)
Solitair 9/600K (2004)
Solitair 9/600KA (2004)
System-Kompaktor Gigant 1000 (2010)
System-Kompaktor Gigant 800 (2010)
System-Kompaktor K450 (2010)
System-Kompaktor K450A (2010)
System-Kompaktor K500 (2010)
System-Kompaktor K500A (2010)
System-Kompaktor K600 (2010)
System-Kompaktor K600A (2010)
System-Kompaktor S300 (2010)
System-Kompaktor S400 (2010)
System-Korund 300 L (2010)
System-Korund 450 L (2010)
System-Korund 600 L (2010)
System-Korund 750 K (750 L) (2010)
System-Korund 900 K (2010)
System-Korund 900 L (2010)
Thorit 8/300 (2005)
Thorit 8/300 Combi-Liner (2004)
Thorit 8/400 (2010)
Thorit 8/400 Combi-Liner (2004)
Thorit 9/400 K (2004)
Thorit 9/400 KA (2003)
Thorit 9/450 K (2004)
Thorit 9/500 K (2004)
Thorit 9/500 KA (2003)
Thorit 9/600 K (2004)
Thorit 9/600 KA (2003)
Topas 140-A (2010)
Vari-Diamant 10 (2004)
Vari-Diamant 10X (2004)
Vari-Opal 100 (2014)
Vari-Opal 100HX (2014)
Vari-Opal 100X (2014)
Vari-Opal 160 (2014)
Vari-Opal X160 (2014)
Vari-Titan 10 (2010)
Vari-Turmalin 10 (2005)
Vari-Turmalin 10X (2005)
Variopack 110DP70 (2010)
Variopack 110DP90 (2010)
Variopack 110EP90 (2010)
Variopack 110FEPK700 (2010)
Variopack 80DP70 (2010)
Variopack S 110DP70 (2010)
VariOpal 5 (2010)
VariOpal 7 (2010)
VariOpal 7X (2010)
VariOpal 8 (2010)
VariOpal 8X (2010)
VariOpal 9 (2010)
VariOpal 9X (2010)
Zirkon 10/300 (2010)
Zirkon 10/400 (2010)
Zirkon 10/400K (2010)
Zirkon 10/450 (2010)
Zirkon 10/450K (2010)
Zirkon 10/450KA (2010)
Zirkon 10/500K (2010)
Zirkon 10/500KA (2010)
Zirkon 10/600KA (2010)
Zirkon 7/250 (2010)
Zirkon 7/300 (2010)
Zirkon 7/400 (2010)
Zirkon 9/300 (2010)
Zirkon 9/400 (2010)
Zirkon 9/600K "B" (2010)
Схема
>
Не выбрано
System-Kompaktor K 450 A
Harrow section 1,5m - GZ 12
Harrow section 1,5m - GFS 6 - A
Harrow section 1,5m - GFS 6U - A
Harrow section 1,5m - GFS 6U - A G28
Crumbler fram 1,5m FK 270
Crumbler frame 1,5m RK 330
Crumbler frame 1,5m RK 400
Trip device 40x15x450 - GFS U
Stone protection bar 1,5m/820mm
Kompaktor section 1,5m-GFS 6-FK270-B
Kompaktor section 1,5m-GFS 6U-FK270-B
Kompaktor section 1,5m-GZ 12-FK270-B
Kompaktor section 1,5m-GFS 6-RK330
Kompaktor section 1,5m-GFS 6U-RK330
Kompaktor section 1,5m-GZ 12-RK330
Kompaktor section 1,5m-GFS 6-RK400
Kompaktor section 1,5m-GFS 6U-RK400
Kompaktor section 1,5m-GZ 12-RK400
Kompaktor section 1,5m-GFS28-6-FK270
Kompaktor section 1,5m-GFS28-6U-FK270
Kompaktor section 1,5m-GFS28-6-RK330
Kompaktor section 1,5m-GFS28-6U-RK330
Kompaktor section 1,5m-GFS28-6-RK400
Kompaktor section 1,5m-GFS28-6U-RK400
Adjustment for cutting bar HY-Sy-Kompaktor
Leaf spring 120x6x330x220/545
Shield 250x5x640
Shield MI 5x250x794
Braking axle GS12008 55.72.448.000
Running axle GS7008 55.67.001.014
Wheel 8/221/575 Trelleborg 550/60-22.5 12PR/RE
Wheel 8/221/575 Trelleborg 550/60-22.5 12PR/LI
Wheel 8/221/575 12,5/80-18 12PR AW
Wheel 8/221/575 Alliance 700/50-22,5 12PR ET0
Wheel 8/221/575 Alliance 700/50-22,5 12PR ET0
Basic frame Kompaktor K450A C
Twobar Kompaktor KA C KG45
Trailer Sy-Kompaktor KA
Lower link connection ED68/55 L2 Z2
Lower link connection ED68/55 L3 Z2
Lower link connection ED68 L2 Z3
Lower link connection ED68 L3 Z3
Lower link connection ED68 L1100 Z58 K700
Depth limiter K700 -B M30
Kupplungsteil FK 140x140 (Solitair 9KA)
Kupplungsteil FK 150x150x120 (Solitair 9KA)
Hydraulic lift linkage D50x200 L2 Z2
CRP roller 1,5m CKP 400 GEFA BA
CRP roller 1,5m CKP 400 GEFA BA m.Zugst.
Tube bar roller 1,5m RSP 400
Nockenring roller 1,5m NRP 450
Trapezering roller 1,5m TRP 500
Stone devider Kompaktor 30x8 - M10
Stand 70x22/110x110x600
Holder for track scraper 40x20 80x80 H
Track scraper FSU+G25 40x20
Track scraper FSU P50/6
Holder K450 80x80x2800
Spurlockerer mit Halter FSU-G25 80x80
Spurlockerer mit Halter FSU-P50 80x80
Lighting equipment, front Smaragd 9 KA B
Lighting equipment, front Kompaktor KA-C
Lighting equipment, rear KA 150x150
Three-way pressure balance LU8SSCK-QM22/04
Valve 6/3 LD8SE4D2525
Seat valve SVH04M878SA-OM14G12
HY-assembly folding device Kompaktor K 450
HY-assembly lift linkage DZ 90x450
HY-assembly lift linkage DZ 110x450
HY-pipe assembly folding Kompaktor KA-C
HY-assembly trailer Kompaktor KA-C DZ100/200
HY-assembly pressure release Kompaktor KA-C DZ100/200
HY-pipe assembly folding Kompaktor KA-C
HY-pipe assembly. 6/2 valve Kompaktor KA-C
HY-pipe lift linkage Kompaktor KA-C
Hydraulic pipe Kompaktor KA-C
Hydraulic pipe Kompaktor KA-C
HY-pipe seed drill drive Kompaktor KA-C
HY-assembly control valve L8S Kompaktor KA-C
HY-assembly control valve Kompaktor KA-C -FW
HY-pipe assembly Kompaktor KA-C -K
HY-pipe assembly Kompaktor KA-C -SP
HY-pipe assembly Kompaktor KA-C -AHG
HY-assembly track marker 4,5 m Kompaktor KA-C
HY-assembly control valve Kompaktor KA-C - SP 4,5 m
HY-pipe assembly cutting bar K 500 A-C
Extension cable 22-polig 8m
Control box ELFG104-XXXX
Seat valve cartridge und Verbindungsleitung
Hydraulic braking assembly EZ 30x110 Kompaktor KA-C
Compressed-air brake Kompaktor KA-C
Axle for track marker D30x595 668A
Bracket for track marker 4.50-6.00 Kompaktor
Track marker WS 4.50
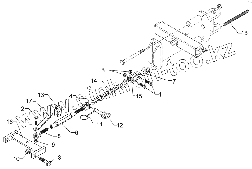
1
2
3
4
5
6
7
8
9
10
11
12
13
14
15
16
17
18
Позиция на иллюстрации
Заводской номер детали
Название детали
1
301 3838
Bolt
2
301 4602
Bolt
3
301 4661
Bolt
4
302 8980
Forkpiece
5
302 8981
Forkpiece
6
302 8892
Threaded sleeve
7
303 0331
Eye nut
8
303 0935
Selflocking nut
9
303 0936
Selflocking nut
10
303 0937
Selflocking nut
11
311 9565
Securing pin
12
313 8147
Pin with grip
13
329 1792
U-spring
14
331 6584
Chain
15
459 1001
Clamp plate
16
461 6172
Drawbar
17
461 6173
Holder
18
302 0123
Threaded rod
Содержащиеся в справочниках-каталогах запасные части и детали не предлагаются к продаже, а носят исключительно информационный характер
Дополнительная информация
×
Название:
Номер:
Примечание: