Вернуться на главную
Поиск
Каталоги запчастей к технике
Сельхозтехника
Lemken
Solitair 9/450KA
Single disc coulter, long D325 RE
Каталог запасных частей к технике: Lemken Solitair 9/450KA. Single disc coulter, long D325 RE
zoom-in
zoom-out
enlarge
shrink
circle-right
circle-left
file-text2
info
cart
Тип техники
Не выбрано
Легковые автомобили
Грузовые автомобили и прицепы
Автобусы
Сельхозтехника
Спецтехника
Двигатели
Мототехника
Марка
Не выбрано
AGCO
Amity
CASE IH
DongFeng
Fortschritt
Foton
Franz Kleine
Gaspardo
Great Plains
KRONE
KUHN
Lemken
Lovol
MacDon
Massey Ferguson
New Holland
TIGARBO
Vaderstad
Versatile
Wirax
Агро
Агротехмаш
Бобруйскагромаш (ОАО «УКХ «Бобруйскагромаш»)
БЭМЗ
ВгТЗ
Воронежсельмаш
ВТЗ
Гомсельмаш
ДКЗ
ЗАО "Техника-сервис"
ЗиД
КЗК
Кировец-Ландтехник
Клевер
Красная Звезда
Лидагропроммаш
Лидсельмаш
ЛТЗ
Машстройхолдинг
Минитракторы
Мордовагромаш
МТЗ
Навигатор-Новое машиностроение
Нефтекамский автозавод
ПТЗ
Ремком
РСМ
Сибсельмаш
ТеКЗ
ТКЗ
ХЗТСШ
ХТЗ
ЮМЗ
Модель
Не выбрано
Achat 9/400 KA (2004)
Achat 9/500 KA (2004)
Achat 9/600 KA (2004)
Azurit 9 (2018)
Dolomit 9 (2010)
EuroDiamant 10 (2010)
EuroDiamant 10 X (2010)
EuroDiamant 8 (2010)
EuroGranat 5 (2006)
EuroGranat 6 (2006)
EuroGranat 7 (2006)
EurOpal 5 (2010)
EurOpal 5HX (2010)
EurOpal 6 (2010)
EurOpal 7 (2010)
EurOpal 7, EurOpal 7HX (2018)
EurOpal 7X (2010)
EurOpal 7X, EurOpal 7 HydriX (2018)
EurOpal 8 (2010)
EurOpal 9 (2010)
EuroTitan 10 (2010)
EuroTitan 10X (2010)
FixPack (2010)
Gigant 1000 (2010)
Gigant 1000 Smaragd (2010)
Gigant 800 (2010)
Gigant 800 S (2010)
Gigant 800 S Rubin (2006)
Gigant 800 Smaragd (2010)
Heliodor 9/600KA (2018)
Heliodor 9/700KA (2018)
Juwel 8M (2018)
Karat 9/600 KA (2016)
Kristall 9/500KA (2016)
Kristall 9/600KA (2016)
OptiDisc 25 (2018)
Primus 10 (Часть 1) (2017)
Primus 10 (Часть 2) (2017)
Quarz 7/250 (2010)
Quarz 7/250 F (2010)
Quarz 7/300 (2010)
Quarz 7/300F (2010)
Quarz 7/400 (2010)
Quarz 7/400F (2010)
Quarz 7/400K (2010)
Quarz 7/400KA (2010)
Quarz 7/500K (2010)
Quarz 7/500KA (2010)
Quarz 7/600K (2010)
Rubin 10/600 KUA (2018)
Rubin 10/700 KUA (2018)
Rubin 12/400 KUA (A) (2018)
Rubin 12/500 KUA (A) (2018)
Rubin 12/600 KUA (A) (2018)
Rubin 12/700 KUA (2018)
Rubin 9/300 U (2004)
Rubin 9/400 U (2004)
Saphir 7/300 (2010)
Saphir 7/400 (2010)
Smaragd 7/260 (2010)
Smaragd 7/300 (2010)
Smaragd 9/300 (2010)
Smaragd 9/400 (2010)
Smaragd 9/400 (2016)
Smaragd 9/400 K (2016)
Smaragd 9/400K (2010)
Smaragd 9/450K (2010)
Smaragd 9/500 K (2016)
Smaragd 9/500K (2004)
Smaragd 9/600 K (2016)
Smaragd 9/600K (2010)
Smaragd 9/600KA (2010)
Solitair 10/600K (2006)
Solitair 12/1000K (2007)
Solitair 12/1200K (2008)
Solitair 12/1200KD (2018)
Solitair 12/5800SW (2018)
Solitair 12/800K (2006)
Solitair 12/900K (2007)
Solitair 8/300 (2004)
Solitair 8/300 (2014)
Solitair 8/400 (2004)
Solitair 9/300 (2004)
Solitair 9/400 (2004)
Solitair 9/400K (2004)
Solitair 9/400KA (2004)
Solitair 9/450K (2004)
Solitair 9/450KA (2004)
Solitair 9/500K (2004)
Solitair 9/500KA (2009)
Solitair 9/600K (2004)
Solitair 9/600KA (2004)
System-Kompaktor Gigant 1000 (2010)
System-Kompaktor Gigant 800 (2010)
System-Kompaktor K450 (2010)
System-Kompaktor K450A (2010)
System-Kompaktor K500 (2010)
System-Kompaktor K500A (2010)
System-Kompaktor K600 (2010)
System-Kompaktor K600A (2010)
System-Kompaktor S300 (2010)
System-Kompaktor S400 (2010)
System-Korund 300 L (2010)
System-Korund 450 L (2010)
System-Korund 600 L (2010)
System-Korund 750 K (750 L) (2010)
System-Korund 900 K (2010)
System-Korund 900 L (2010)
Thorit 8/300 (2005)
Thorit 8/300 Combi-Liner (2004)
Thorit 8/400 (2010)
Thorit 8/400 Combi-Liner (2004)
Thorit 9/400 K (2004)
Thorit 9/400 KA (2003)
Thorit 9/450 K (2004)
Thorit 9/500 K (2004)
Thorit 9/500 KA (2003)
Thorit 9/600 K (2004)
Thorit 9/600 KA (2003)
Topas 140-A (2010)
Vari-Diamant 10 (2004)
Vari-Diamant 10X (2004)
Vari-Opal 100 (2014)
Vari-Opal 100HX (2014)
Vari-Opal 100X (2014)
Vari-Opal 160 (2014)
Vari-Opal X160 (2014)
Vari-Titan 10 (2010)
Vari-Turmalin 10 (2005)
Vari-Turmalin 10X (2005)
Variopack 110DP70 (2010)
Variopack 110DP90 (2010)
Variopack 110EP90 (2010)
Variopack 110FEPK700 (2010)
Variopack 80DP70 (2010)
Variopack S 110DP70 (2010)
VariOpal 5 (2010)
VariOpal 7 (2010)
VariOpal 7X (2010)
VariOpal 8 (2010)
VariOpal 8X (2010)
VariOpal 9 (2010)
VariOpal 9X (2010)
Zirkon 10/300 (2010)
Zirkon 10/400 (2010)
Zirkon 10/400K (2010)
Zirkon 10/450 (2010)
Zirkon 10/450K (2010)
Zirkon 10/450KA (2010)
Zirkon 10/500K (2010)
Zirkon 10/500KA (2010)
Zirkon 10/600KA (2010)
Zirkon 7/250 (2010)
Zirkon 7/300 (2010)
Zirkon 7/400 (2010)
Zirkon 9/300 (2010)
Zirkon 9/400 (2010)
Zirkon 9/600K "B" (2010)
Схема
>
Не выбрано
Solitair 9/450 KA > 263550
Support Solitair
Dosage 4-A C
Dosage, top part K 4-A
Dosage, lower part K 4-A
Seeding mechanism 4-A D 6/L 45GRD Solitair
Seeding mechanism 4-A E 6/L 45GRD Solitair
Seeding mechanism 4-A K 6/L 45GRD Solitair
Tramline mechanism 1-F
Tramline mechanism 2-F
Hopper 1100l (170cm)
Hopper 1500l (170cm)
Hopper 1850l (170cm)
Hopper 2300 Liter
Hopper 1850l (160cm)
Cover 1100l-1850l (170cm)
Cover 2300l
Cover 1850l (160cm)
Dosage 4-Auslaufe C
Dosage K 4xA Solitair
Flexible hose D25x940 2xD30
Flexible hose D25x1100 1xD30
Flexible hose D25x450
Tube turn 45° D25/30
Flexible hose D25x1250
Flexible hose D25x1100 1xD30 Solitair ES
Flexible hose D25x300 D25x830
Flexible hose D25x300 D25x570
Holder for distributor 90x90 325x295 A D77
Holder for distributor 90x90 282x70 I D77
Holder for distributor A D77 40x10x570 2xD10,5
Emptying unit for hopper 7/8B-M64x4
Emptying unit for hopper 9B-M72x4
Distributor 7B
Distributor 8B
Distributor 9B
Supply hoses D65 2x1150 2x1580
Supply hoses D65 2x1270 2x1850 450KA
Recirculation Solitair 1500 2-Dusen
Recirculation Solitair 1850/2300 2-Dusen
Recirculation 1100 l
Recirculation 1500 l
Recirculation 1850/2300 L
Recirculation-connection Solitair K 1xRuckfuhrung
Recirculation-connection Solitair KA 1R
Recirculation-connection Solitair K ES/S 1xR
Cyclone with cover D230-1250 Solitair-K
Cyclone D230-800 Solitair-S
Cyclone D230-570 Solitair-KA+FW
Cyclone D230-2800 Solitair-K schm.Tank
Cyclone D230-1300 Solitair-K schm.Tank
Fan Typ GST 520
Basic frame Solitair
Basic frame Solitair 8+9
Adjustment centre 720 M Solitair DS
Adjustment centre 1010 HY Solitair KA B
Adjustment centre 1010 HY Solitair KA ES+S
Adjustment centre 720 HYD Solitair DS
Accessories Solitair 9-K
Accessories Solitair 9-KA
Step with platform 420x975 3+1 K Solitair
Step with platform 660x975 3+1 KA Solitair
Step with platform 660x975 3+1 KA Solitair f.k.Ta
Step with platform 3STU.o.STR.1100-1850 Sol.K
Step with platform 3STU.o.STR.2300 Sol.KA/SA
Step with platform 3STU.o.STR.1100-1850 Sol.KA/SA
Step with platform 4STU.m.STR.1100-1850 Sol.K
Step with platform 4STU.m.STR.2300 Sol.KA/SA
Step with platform 4STU.m.STR.1100-1850 Sol.KA/SA
Coulter frame Solitair 9/450-K 36R-125
Coulter frame Solitair 9/450-K 30R-150
Coulter frame Solitair 9/450-K 260-175
Coulter frame Solitair 9/450 K-ES 36R-125
Coulter frame Solitair 9/450 K-ES 30R-150
Coulter frame Solitair 9/450 K-ES 26R-175
Levelling harrow S-1,00
Levelling harrow S-1,25
Swinging arm
Levelling harrow S-1,00
Levelling harrow S-1,25
Carrier STR 70x2000
Holder, long
Holder, short
Double disc coulter + roller D350/330 B-250
Double disc coulter + roller D350/330 B-250-U
Double disc coulter + roller D350/330 B-800
Single disc coulter, long D325 RE
Single disc coulter, short D325 LI
Single disc coulter, short D325 RE
Single disc coulter, long D325 LI
Suffolk coulter Saphir 7
Suffolk coulter Saphir 7
Scraper
Single harrow D10x960
Pre-emergency marker HS D325 VALM
Pre-emergency marker lang MI-Rahmen
Pre-emergency marker kurz MI_Rahmen
Pre-emergency marker DS-Ausfuhrung
Fittings FK Solitair/Zirkon 9
Fittings Solitair
Fittings Zirkon 9-Solitair KA
Lighting equipment, front Solitair 9 FW
Lighting equipment, rear Solitair 9 K
Lighting equipment, front Solitair 9 FW
Lighting equipment Solitair 9
Lighting equipment Solitair 9
Working spot light Solitair 9
Working spot light Solitair 9
Bearing V60-6/160/205 D18
Wheel 6/161/205 D18 11.5/80-15.3 10PR AW
Wheel 6/161/205 D18 400-15.5 T404 -14PR RE
Wheel 6/161/205 D18 400-15.5 T404 -14PR LI
Wheel 8/221/575 Trelleborg 550/60-22.5 12PR/RE
Wheel 8/221/575 Trelleborg 550/60-22.5 12PR/LI
Stand 40x20/120x120-Solitair
Deichsel Fur Fahrwerk Solitair
Trailer Solitair D55 A 6/160/205
Trailer Solitair 8-Loch
Lower link connection D55/P L2 Z2
Lower link connection D55/P L2 Z3
Lower link connection D55/P L3 Z2
Lower link connection D55/P L3 Z3
Carrier D55x35 6x60-200
Stand RE+LE Solitair + Saphir 7
Support 26,9x277 1x90 D16,25
Support 26,9x277 1x90 D16,25
Holder 120x120 Solitair
Holder 90x90 Solitair
Holder 90x90x97 40x20
Track scraper FSU-VS33
Track scraper FSU+G25 40x20
Track scraper with holder FSU-G25 120x120 Solitair
Track scraper with holder FSU-G25 90x90 Solitair
Track scraper with holder FSU-G25 90x90-97 Solitair KA
Track scraper with holder FSU-VS33-90x90-97
Track scraper with holder FSU-VS33-90x90-67
Track scraper with holder FSU-VS33-120x120
Track scraper with holder FSU-VS33-70x70
Carrier for track scraper Solitair 9 ES/S
Axle for track marker D30x595 668A
Track marker
Track marker Zirkon 400K+450-K D380 B
Cable M12x1 1-2 2x3/1x4-polig 0,3m
Connection cable (monitor box) LH5000 22-polig 4200lg Stecker
Connection cable (monitor box) LH5000 22-polig 6000lg Stecker
Extension cable 5000
Extension cable 8000
Electric drive Solitair Schneckenradantrieb
Electric drive Solitair Stirnradgetriebe
Distributor monitoring 4-V Solitair 9
Tramline control 2x1-F Solitair 9
Tramline control 2x2-F Solitair 9
Tramline control 2x3-F Solitair 9
Tramline control 2x4-F Solitair 9
Tramline control 4x2-F Solitair 9
Tramline control 4x3-F Solitair 9
Tramline-distributor control 2x1-F 4-V Solitair 9
Tramline-distributor control 2x2-F 4-V Solitair 9
Tramline-distributor control 2x3-F 4-V Solitair 9
Tramline-distributor control 2x4-F 4-V Solitair 9
Tramline-distributor control 4x2-F 4-V Solitair 9
Tramline-distributor control 4x3-F 4-V Solitair 9
Partly width switch off 4-Teilbreiten
Cable form HY-1
Tractor mounting set
Tractor mounting set LH 5000
Tractor mounting set 4-Teilbreiten LH 5000
On board computer LH5000-GPS
On board computer LH 5000
Cable form Solitair
Electronic box LH 5000
Electric assembly f.hy.harrow Solitair
Operator terminal LKT1 Solitronic
Cable form basis Solitronic
Cable form pro Solitronic
Cable form Solitronic
Power supply cable Solitronic Soli 9 KA
Power supply cable Solitronic Soli 9 starr/K
Job computer MDB Solitronic
MDA-job computer
Coupling box Solitronic
Extension 8m-10 Solitronic
Electric drive Solitair 9
HY-pipe assembly pole
Holder Solitair Fw mit Deichsel
Hydraulic motor Solitair V+R
Control valve Solitair 1V-0M-0T
Control valve Solitair 2V-0M-0T
Control valve Solitair 3V-0M-0T
Control valve Solitair 0V-1M-4T
Control valve Solitair 1V-1M-4T
Control valve Solitair 2V-1M-4T
Control valve Solitair 3V-1M-4T
Hydraulic assembly fan Solitair 2L V+R
Hydraulic assembly fan Solitair 8+9 m.SRV
HY-assembly coulter lifting DZ63/30-245 Solitair B
HY-assembly coulter pressure DZ60-245 Solitair
HY-assembly harrow 4-Felder Solitair
HY-assembly harrow 4-Felder STB Solitair
HY-assembly coulter frame D60-210 Solitair 9 K
HY-assembly coulter frame D60-210 Solitair 9 KA
HY-assembly track marker Solitair FW
HY-assembly track marker Zirkon 400/450, 400K/450K
Hydraulic assembly EZ Solitair 1x2
Hydraulic assembly DZ Solitair 1x2
Hydraulic assembly DZ Solitair 1x2 STB
Hydraulic assembly EZ Solitair 1x2 STB
Partly width switch off hydr. TBA 4x R.682_7001
Partly width switch off hydr. TBA 4x R.682_7002
Supply hoses STB Solitair 8+9 R.682_7001
Supply hoses STB Solitair 8+9 R.681_7002
Track marker Solitair FW450/Z600 D380
Extension pulse pick-up wheel 80x20x610 4xD12,5
Drive wheel D540 IG W-90
Drive wheel D540 2xD16
Drive wheel D350 Solitronic
Coupling 8x32x38
Coupling 1.3/4-6T
Coupling 1.3/4-20Z
Coupling 1.3/8-6Z
HY-pipe assembly Solitair EHA-A
Relief pressure valve Solitair EHA-A
Oil tank Solitair EHA-A
Oil cooler Solitair EHA-A
Pump Solitair EHA-A
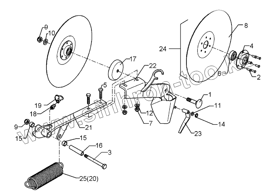
1
2
3
4
5
6
7
8
10
11
12
14
15
15
16
17
18
19
20
21
22
23
24
25
Позиция на иллюстрации
Заводской номер детали
Название детали
1
301 1816
Bolt, cup square head
2
315 8008
Rivet
3
301 3470
Bolt
4
319 1126
Bearing housing
5
301 7308
Screw
6
319 8563
Bearing
7
303 0933
Selflocking nut
8
303 0934
Selflocking nut
10
305 8578
Washer
11
305 8694
Washer
12
305 8696
Washer
14
305 8844
Washer
15
317 3299
Bush
16
317 5264
Bush
17
319 1130
Cap
18
323 6345
Grease nipple
19
323 6401
Cap
20
329 8517
Spring
21
481 6041
Flat steel
22
481 8029
Disc holder
23
481 8528
Flap
24
582 2603
Hollow disc
25
329 8522
Spring
Содержащиеся в справочниках-каталогах запасные части и детали не предлагаются к продаже, а носят исключительно информационный характер
Дополнительная информация
×
Название:
Номер:
Примечание: