Вернуться на главную
Поиск
Каталоги запчастей к технике
Сельхозтехника
Lemken
Solitair 9/400
Control valve Solitair 1V-1M-4T
Каталог запасных частей к технике: Lemken Solitair 9/400. Control valve Solitair 1V-1M-4T
zoom-in
zoom-out
enlarge
shrink
circle-right
circle-left
file-text2
info
cart
Тип техники
Не выбрано
Легковые автомобили
Грузовые автомобили и прицепы
Автобусы
Сельхозтехника
Спецтехника
Двигатели
Мототехника
Марка
Не выбрано
AGCO
Amity
CASE IH
DongFeng
Fortschritt
Foton
Franz Kleine
Gaspardo
Great Plains
KRONE
KUHN
Lemken
Lovol
MacDon
Massey Ferguson
New Holland
TIGARBO
Vaderstad
Versatile
Wirax
Агро
Агротехмаш
Бобруйскагромаш (ОАО «УКХ «Бобруйскагромаш»)
БЭМЗ
ВгТЗ
Воронежсельмаш
ВТЗ
Гомсельмаш
ДКЗ
ЗАО "Техника-сервис"
ЗиД
КЗК
Кировец-Ландтехник
Клевер
Красная Звезда
Лидагропроммаш
Лидсельмаш
ЛТЗ
Машстройхолдинг
Минитракторы
Мордовагромаш
МТЗ
Навигатор-Новое машиностроение
Нефтекамский автозавод
ПТЗ
Ремком
РСМ
Сибсельмаш
ТеКЗ
ТКЗ
ХЗТСШ
ХТЗ
ЮМЗ
Модель
Не выбрано
Achat 9/400 KA (2004)
Achat 9/500 KA (2004)
Achat 9/600 KA (2004)
Azurit 9 (2018)
Dolomit 9 (2010)
EuroDiamant 10 (2010)
EuroDiamant 10 X (2010)
EuroDiamant 8 (2010)
EuroGranat 5 (2006)
EuroGranat 6 (2006)
EuroGranat 7 (2006)
EurOpal 5 (2010)
EurOpal 5HX (2010)
EurOpal 6 (2010)
EurOpal 7 (2010)
EurOpal 7, EurOpal 7HX (2018)
EurOpal 7X (2010)
EurOpal 7X, EurOpal 7 HydriX (2018)
EurOpal 8 (2010)
EurOpal 9 (2010)
EuroTitan 10 (2010)
EuroTitan 10X (2010)
FixPack (2010)
Gigant 1000 (2010)
Gigant 1000 Smaragd (2010)
Gigant 800 (2010)
Gigant 800 S (2010)
Gigant 800 S Rubin (2006)
Gigant 800 Smaragd (2010)
Heliodor 9/600KA (2018)
Heliodor 9/700KA (2018)
Juwel 8M (2018)
Karat 9/600 KA (2016)
Kristall 9/500KA (2016)
Kristall 9/600KA (2016)
OptiDisc 25 (2018)
Primus 10 (Часть 1) (2017)
Primus 10 (Часть 2) (2017)
Quarz 7/250 (2010)
Quarz 7/250 F (2010)
Quarz 7/300 (2010)
Quarz 7/300F (2010)
Quarz 7/400 (2010)
Quarz 7/400F (2010)
Quarz 7/400K (2010)
Quarz 7/400KA (2010)
Quarz 7/500K (2010)
Quarz 7/500KA (2010)
Quarz 7/600K (2010)
Rubin 10/600 KUA (2018)
Rubin 10/700 KUA (2018)
Rubin 12/400 KUA (A) (2018)
Rubin 12/500 KUA (A) (2018)
Rubin 12/600 KUA (A) (2018)
Rubin 12/700 KUA (2018)
Rubin 9/300 U (2004)
Rubin 9/400 U (2004)
Saphir 7/300 (2010)
Saphir 7/400 (2010)
Smaragd 7/260 (2010)
Smaragd 7/300 (2010)
Smaragd 9/300 (2010)
Smaragd 9/400 (2010)
Smaragd 9/400 (2016)
Smaragd 9/400 K (2016)
Smaragd 9/400K (2010)
Smaragd 9/450K (2010)
Smaragd 9/500 K (2016)
Smaragd 9/500K (2004)
Smaragd 9/600 K (2016)
Smaragd 9/600K (2010)
Smaragd 9/600KA (2010)
Solitair 10/600K (2006)
Solitair 12/1000K (2007)
Solitair 12/1200K (2008)
Solitair 12/1200KD (2018)
Solitair 12/5800SW (2018)
Solitair 12/800K (2006)
Solitair 12/900K (2007)
Solitair 8/300 (2004)
Solitair 8/300 (2014)
Solitair 8/400 (2004)
Solitair 9/300 (2004)
Solitair 9/400 (2004)
Solitair 9/400K (2004)
Solitair 9/400KA (2004)
Solitair 9/450K (2004)
Solitair 9/450KA (2004)
Solitair 9/500K (2004)
Solitair 9/500KA (2009)
Solitair 9/600K (2004)
Solitair 9/600KA (2004)
System-Kompaktor Gigant 1000 (2010)
System-Kompaktor Gigant 800 (2010)
System-Kompaktor K450 (2010)
System-Kompaktor K450A (2010)
System-Kompaktor K500 (2010)
System-Kompaktor K500A (2010)
System-Kompaktor K600 (2010)
System-Kompaktor K600A (2010)
System-Kompaktor S300 (2010)
System-Kompaktor S400 (2010)
System-Korund 300 L (2010)
System-Korund 450 L (2010)
System-Korund 600 L (2010)
System-Korund 750 K (750 L) (2010)
System-Korund 900 K (2010)
System-Korund 900 L (2010)
Thorit 8/300 (2005)
Thorit 8/300 Combi-Liner (2004)
Thorit 8/400 (2010)
Thorit 8/400 Combi-Liner (2004)
Thorit 9/400 K (2004)
Thorit 9/400 KA (2003)
Thorit 9/450 K (2004)
Thorit 9/500 K (2004)
Thorit 9/500 KA (2003)
Thorit 9/600 K (2004)
Thorit 9/600 KA (2003)
Topas 140-A (2010)
Vari-Diamant 10 (2004)
Vari-Diamant 10X (2004)
Vari-Opal 100 (2014)
Vari-Opal 100HX (2014)
Vari-Opal 100X (2014)
Vari-Opal 160 (2014)
Vari-Opal X160 (2014)
Vari-Titan 10 (2010)
Vari-Turmalin 10 (2005)
Vari-Turmalin 10X (2005)
Variopack 110DP70 (2010)
Variopack 110DP90 (2010)
Variopack 110EP90 (2010)
Variopack 110FEPK700 (2010)
Variopack 80DP70 (2010)
Variopack S 110DP70 (2010)
VariOpal 5 (2010)
VariOpal 7 (2010)
VariOpal 7X (2010)
VariOpal 8 (2010)
VariOpal 8X (2010)
VariOpal 9 (2010)
VariOpal 9X (2010)
Zirkon 10/300 (2010)
Zirkon 10/400 (2010)
Zirkon 10/400K (2010)
Zirkon 10/450 (2010)
Zirkon 10/450K (2010)
Zirkon 10/450KA (2010)
Zirkon 10/500K (2010)
Zirkon 10/500KA (2010)
Zirkon 10/600KA (2010)
Zirkon 7/250 (2010)
Zirkon 7/300 (2010)
Zirkon 7/400 (2010)
Zirkon 9/300 (2010)
Zirkon 9/400 (2010)
Zirkon 9/600K "B" (2010)
Схема
>
Не выбрано
Solitair 9/400
Support Solitair
Dosage 4-A C
Dosage, top part K 4-A
Dosage, lower part K 4-A
Dosage 4-Auslaufe C
Dosage K 4xA Solitair
Seeding mechanism 4-A E 6/L 45GRD Solitair
Seeding mechanism 4-A K 6/L 45GRD Solitair
Hopper 1500 Liter
Hopper 1850 Liter
Hopper 2300 Liter
Hopper 1850 Liter
Cover 1100l-1850l
Cover 2300l
Cover 1850l
Flexible hose D25x940 2xD30
Flexible hose D25x1100 1xD30
Flexible hose D25x450
Flexible hose D25x1400
Holder for distributor 90x90 325x295 A D77
Holder for distributor 90x90 282x70 I D77
Holder for distributor A D77 40x10x570 2xD10,5
Holder Solitair 9 E
Emptying unit for hopper 7/8B-M64x4
Tramline mechanism 1-F
Tramline mechanism 2-F
Distributor 7B
Distributor 8B
Supply hoses D65 2x1150 2x1700
Supply hoses D65 2x1270 2x1750 400KA
Recirculation Solitair 1500 2-Dusen
Recirculation Solitair 1850/2300 2-Dusen
Recirculation 1500-l Methode C+D
Recirculation 1850/2300-l 4-Dusen
Recirculation 1500 l
Recirculation 1850/2300 L
Recirculation-connection Solitair S 2R
Recirculation-connection Solitair S 1R
Recirculation 4,0-S
Cyclone D230-800 Solitair-S
Cyclone D230-570 Solitair-KA+FW
Fan Typ GST 520
Top link pin, cpl. KAT2 D25,4x140
Basic frame Solitair
Adjustment centre 720 M Solitair DS
Adjustment centre 720 M Solitair ES
Adjustment centre 1010 HY Solitair KA B
Adjustment centre 720 HYD Solitair DS
Adjustment centre 720 HYD Solitair ES
Step with platform 90x90 3+1 Solitair
Step with platform 3STU.o.STR.2300 Sol.KA/SA
Step with platform 3STU.o.STR.1100-1850 Sol.KA/SA
Step with platform 3STU.o.STR.1100-1850 Sol.S
Step with platform 4STU.m.STR.2300 Sol.KA/SA
Step with platform 4STU.m.STR.1100-1850 Sol.KA/SA
Step with platform 4STU.m.STR.1100-1850 Sol.S
Coulter frame Solitair 9/400 32R-125 90x3980
Coulter frame Solitair 9/400 27R-150
Coulter frame Solitair 9/400 23R-175
Coulter frame Solitair 9/400-DS 32R-125
Coulter frame Solitair 9/400-DS 27R-150
Coulter frame Solitair 9/400-DS 23R-175
Coulter frame Solitair 9/400-ES 32R-125
Levelling harrow S-1,00
Swinging arm
Disc D350/70/34x3 AA
Pressure adjustment, mech. S+ES
Coupling tube RE EuroDrill/Solitair 9 E
Coupling tube LI EuroDrill/Solitair 9 E
Harrow-S, separated Eurodrill 400
Coulter, short Solitair 9 E
Coulter, long Solitair 9 E
Levelling harrow S-1,00
Carrier STR 70x2000
Holder, long
Holder, short
Double disc coulter + roller D350/330-B
Double disc coulter + roller D350/330-U
Single disc coulter, long D325 RE
Single disc coulter, short D325 LI
Single disc coulter, short D325 RE
Single disc coulter, long D325 LI
Scraper
Single harrow D10x960
Pre-emergency marker HS D325 VALM
Bracket pre-emergence marker D20x24t=8
Pre-emergency marker lang MI-Rahmen
Pre-emergency marker kurz MI_Rahmen
Pre-emergency marker DS-Ausfuhrung
Pre-emergency marker lang Seiten-Rahmen
Pre-emergency marker kurz Seiten-Rahmen
Fittings FK Solitair/Zirkon 9
Kupplungsteil FK Solitair/Zirkon 7
Fittings Solitair-Fremdgerate
Fittings Zirkon 9-Solitair KA
Fittings Zirkon 7-Solitair KA
Lighting equipment with boards AL18 B LI+RE
Working spot light Solitair 9
Set of cables Solitair 9/400
Wheel 6/161/205 D18 11.5/80-15.3 10PR AW
Wheel 6/161/205 D18 400-15.5 T404 -14PR RE
Wheel 6/161/205 D18 400-15.5 T404 -14PR LI
Trailer Solitair D55 A 6/160/205
Lower link connection D55/P L2 Z2
Lower link connection D55/P L2 Z3
Lower link connection D55/P L3 Z2
Lower link connection D55/P L3 Z3
Stand 40x20/120x120-Solitair
Stand RE+LE Solitair + Saphir 7
Holder 120x120 Solitair
Holder 90x90 Solitair
Track scraper FSU-VS33
Track scraper FSU+G25 40x20
Track scraper with holder FSU-G25 120x120 Solitair
Track scraper with holder FSU-G25 90x90 Solitair
Track scraper with holder FSU-VS33-90x90-67
Track scraper with holder FSU-VS33-120x120
Axle for track marker D30x595 668A
Track marker
Track marker Zirkon 400+450 D380 B
Extension cable 5000
Extension cable 8000
Sensor - filling level kpl. Solitair LH5000
Electric drive Solitair Stirnradgetriebe
Distributor monitoring 4-V Solitair 9
Tramline control 2x1-F Solitair 9
Tramline control 2x2-F Solitair 9
Tramline control 2x3-F Solitair 9
Tramline control 2x4-F Solitair 9
Tramline control 4x2-F Solitair 9
Tramline control 4x3-F Solitair 9
Tramline-distributor control 2x1-F 4-V Solitair 9
Tramline-distributor control 2x2-F 4-V Solitair 9
Tramline-distributor control 2x3-F 4-V Solitair 9
Tramline-distributor control 2x4-F 4-V Solitair 9
Tramline-distributor control 4x2-F 4-V Solitair 9
Tramline-distributor control 4x3-F 4-V Solitair 9
Partly width switch off 2-TB
Partly width switch off 4-Teilbreiten
Tractor mounting set GBT 2000 /30x30
Tractor mounting set LH 5000
Tractor mounting set 2-TB/LH 5000
Tractor mounting set 4-Teilbreiten LH 5000
On board computer LH5000-GPS
On board computer LH 5000
Cable form Solitair
Electronic box LH 5000
Bedienterminal LKT1 Solitronic
Cable form Solitronic
Cable form Solitronic
Sensorkabelbaum Basis Solitronic
Versorgungskabel Soli9 starr/K Solitronic
Jobrechner MDB Solitronic
MDB-job computer
Koppelbox Solitair 9 komplett Solitronic
Electric drive Solitair 9
Control valve Solitair 1V-0M-0T
Control valve Solitair 2V-0M-0T
Control valve Solitair 3V-0M-0T
Control valve Solitair 0V-1M-4T
Control valve Solitair 1V-1M-4T
Control valve Solitair 2V-1M-4T
Control valve Solitair 3V-1M-4T
Hydraulic assembly fan Solitair 2L V+R
HY-assembly coulter lifting DZ63/30-245 Solitair B
HY-assembly coulter pressure DZ60-245 Solitair
HY-assembly harrow 4-Felder Solitair
HY-assembly harrow 4-Felder STB Solitair
HY-assembly track marker Zirkon 400/450, 400K/450K
Hydraulic assembly EZ Solitair 1x2
Hydraulic assembly DZ Solitair 1x2
Hydraulic assembly EZ Solitair 2x2
Hydraulic assembly DZ Solitair 2x2
Hydraulic assembly DZ Solitair 1x2 STB
Hydraulic assembly EZ Solitair 1x2 STB
Partly width switch off hydr. TBA 2x
Partly width switch off hydr. TBA 4x R.682_7001
Partly width switch off hydr. TBA 4x R.682_7002
Supply hoses STB Solitair 8+9 R.682_7001
Supply hoses STB Solitair 8+9 R.681_7002
Drive wheel D540 IG W-90
Drive wheel (harrow) D540 IG W-90/L
Drive wheel D540 2xD16
Accessories Solitair 9
Accessories Solitair 9-KA
1
2
3
4
5
6
7
8
9
10
11
Позиция на иллюстрации
Заводской номер детали
Название детали
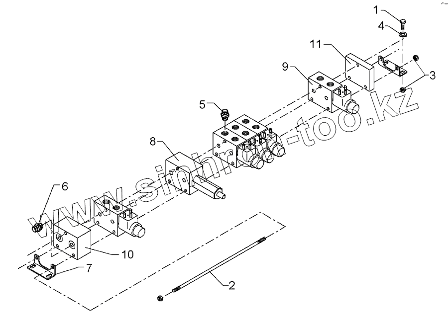
1
301 3003
Screw
2
302 0151
Threaded rod
3
303 0931
Selflocking nut
4
305 8571
Washer
5
375 3974
Nipple
6
375 4020
Nipple
7
475 4388
Angle bracket
8
575 4870
Control valve
9
575 4871
Single segment valve
10
575 4872
Shutter plate
11
575 4873
End plate
Содержащиеся в справочниках-каталогах запасные части и детали не предлагаются к продаже, а носят исключительно информационный характер
Дополнительная информация
×
Название:
Номер:
Примечание: