Вернуться на главную
Поиск
Каталоги запчастей к технике
Сельхозтехника
Lemken
Solitair 12/900K
Dosage 4-A C
Каталог запасных частей к технике: Lemken Solitair 12/900K. Dosage 4-A C
zoom-in
zoom-out
enlarge
shrink
circle-right
circle-left
file-text2
info
cart
Тип техники
Не выбрано
Легковые автомобили
Грузовые автомобили и прицепы
Автобусы
Сельхозтехника
Спецтехника
Двигатели
Мототехника
Марка
Не выбрано
AGCO
Amity
CASE IH
DongFeng
Fortschritt
Foton
Franz Kleine
Gaspardo
Great Plains
KRONE
KUHN
Lemken
Lovol
MacDon
Massey Ferguson
New Holland
TIGARBO
Vaderstad
Versatile
Wirax
Агро
Агротехмаш
Бобруйскагромаш (ОАО «УКХ «Бобруйскагромаш»)
БЭМЗ
ВгТЗ
Воронежсельмаш
ВТЗ
Гомсельмаш
ДКЗ
ЗАО "Техника-сервис"
ЗиД
КЗК
Кировец-Ландтехник
Клевер
Красная Звезда
Лидагропроммаш
Лидсельмаш
ЛТЗ
Машстройхолдинг
Минитракторы
Мордовагромаш
МТЗ
Навигатор-Новое машиностроение
Нефтекамский автозавод
ПТЗ
Ремком
РСМ
Сибсельмаш
ТеКЗ
ТКЗ
ХЗТСШ
ХТЗ
ЮМЗ
Модель
Не выбрано
Achat 9/400 KA (2004)
Achat 9/500 KA (2004)
Achat 9/600 KA (2004)
Azurit 9 (2018)
Dolomit 9 (2010)
EuroDiamant 10 (2010)
EuroDiamant 10 X (2010)
EuroDiamant 8 (2010)
EuroGranat 5 (2006)
EuroGranat 6 (2006)
EuroGranat 7 (2006)
EurOpal 5 (2010)
EurOpal 5HX (2010)
EurOpal 6 (2010)
EurOpal 7 (2010)
EurOpal 7, EurOpal 7HX (2018)
EurOpal 7X (2010)
EurOpal 7X, EurOpal 7 HydriX (2018)
EurOpal 8 (2010)
EurOpal 9 (2010)
EuroTitan 10 (2010)
EuroTitan 10X (2010)
FixPack (2010)
Gigant 1000 (2010)
Gigant 1000 Smaragd (2010)
Gigant 800 (2010)
Gigant 800 S (2010)
Gigant 800 S Rubin (2006)
Gigant 800 Smaragd (2010)
Heliodor 9/600KA (2018)
Heliodor 9/700KA (2018)
Juwel 8M (2018)
Karat 9/600 KA (2016)
Kristall 9/500KA (2016)
Kristall 9/600KA (2016)
OptiDisc 25 (2018)
Primus 10 (Часть 1) (2017)
Primus 10 (Часть 2) (2017)
Quarz 7/250 (2010)
Quarz 7/250 F (2010)
Quarz 7/300 (2010)
Quarz 7/300F (2010)
Quarz 7/400 (2010)
Quarz 7/400F (2010)
Quarz 7/400K (2010)
Quarz 7/400KA (2010)
Quarz 7/500K (2010)
Quarz 7/500KA (2010)
Quarz 7/600K (2010)
Rubin 10/600 KUA (2018)
Rubin 10/700 KUA (2018)
Rubin 12/400 KUA (A) (2018)
Rubin 12/500 KUA (A) (2018)
Rubin 12/600 KUA (A) (2018)
Rubin 12/700 KUA (2018)
Rubin 9/300 U (2004)
Rubin 9/400 U (2004)
Saphir 7/300 (2010)
Saphir 7/400 (2010)
Smaragd 7/260 (2010)
Smaragd 7/300 (2010)
Smaragd 9/300 (2010)
Smaragd 9/400 (2010)
Smaragd 9/400 (2016)
Smaragd 9/400 K (2016)
Smaragd 9/400K (2010)
Smaragd 9/450K (2010)
Smaragd 9/500 K (2016)
Smaragd 9/500K (2004)
Smaragd 9/600 K (2016)
Smaragd 9/600K (2010)
Smaragd 9/600KA (2010)
Solitair 10/600K (2006)
Solitair 12/1000K (2007)
Solitair 12/1200K (2008)
Solitair 12/1200KD (2018)
Solitair 12/5800SW (2018)
Solitair 12/800K (2006)
Solitair 12/900K (2007)
Solitair 8/300 (2004)
Solitair 8/300 (2014)
Solitair 8/400 (2004)
Solitair 9/300 (2004)
Solitair 9/400 (2004)
Solitair 9/400K (2004)
Solitair 9/400KA (2004)
Solitair 9/450K (2004)
Solitair 9/450KA (2004)
Solitair 9/500K (2004)
Solitair 9/500KA (2009)
Solitair 9/600K (2004)
Solitair 9/600KA (2004)
System-Kompaktor Gigant 1000 (2010)
System-Kompaktor Gigant 800 (2010)
System-Kompaktor K450 (2010)
System-Kompaktor K450A (2010)
System-Kompaktor K500 (2010)
System-Kompaktor K500A (2010)
System-Kompaktor K600 (2010)
System-Kompaktor K600A (2010)
System-Kompaktor S300 (2010)
System-Kompaktor S400 (2010)
System-Korund 300 L (2010)
System-Korund 450 L (2010)
System-Korund 600 L (2010)
System-Korund 750 K (750 L) (2010)
System-Korund 900 K (2010)
System-Korund 900 L (2010)
Thorit 8/300 (2005)
Thorit 8/300 Combi-Liner (2004)
Thorit 8/400 (2010)
Thorit 8/400 Combi-Liner (2004)
Thorit 9/400 K (2004)
Thorit 9/400 KA (2003)
Thorit 9/450 K (2004)
Thorit 9/500 K (2004)
Thorit 9/500 KA (2003)
Thorit 9/600 K (2004)
Thorit 9/600 KA (2003)
Topas 140-A (2010)
Vari-Diamant 10 (2004)
Vari-Diamant 10X (2004)
Vari-Opal 100 (2014)
Vari-Opal 100HX (2014)
Vari-Opal 100X (2014)
Vari-Opal 160 (2014)
Vari-Opal X160 (2014)
Vari-Titan 10 (2010)
Vari-Turmalin 10 (2005)
Vari-Turmalin 10X (2005)
Variopack 110DP70 (2010)
Variopack 110DP90 (2010)
Variopack 110EP90 (2010)
Variopack 110FEPK700 (2010)
Variopack 80DP70 (2010)
Variopack S 110DP70 (2010)
VariOpal 5 (2010)
VariOpal 7 (2010)
VariOpal 7X (2010)
VariOpal 8 (2010)
VariOpal 8X (2010)
VariOpal 9 (2010)
VariOpal 9X (2010)
Zirkon 10/300 (2010)
Zirkon 10/400 (2010)
Zirkon 10/400K (2010)
Zirkon 10/450 (2010)
Zirkon 10/450K (2010)
Zirkon 10/450KA (2010)
Zirkon 10/500K (2010)
Zirkon 10/500KA (2010)
Zirkon 10/600KA (2010)
Zirkon 7/250 (2010)
Zirkon 7/300 (2010)
Zirkon 7/400 (2010)
Zirkon 9/300 (2010)
Zirkon 9/400 (2010)
Zirkon 9/600K "B" (2010)
Схема
>
Не выбрано
Solitair 12/900 K
Support Solitair
Dosage 4-A C
Dosage, top part K 4-A
Dosage, lower part K 4-A 4-Klappen
Dosage, lower part K 4-A 4-Klappen
Seeding mechanism 4-A RE 6/L 45Grd Solitair 12
Seeding mechanism 4-A LI 6/L 45Grd Solitair 12
Seeding mechanism 4-A K 6/L 45GRD Solitair 12
Hopper 5800 LITER
Cover Solitair 10+12
Dosage 2x4-Auslaufe Solitair 12
Dosage K 4xA 4xK RE Solitair 12
Dosage K 4xA 4xK LI Solitair 12
Flexible hose D25x940 2xD30
Flexible hose D25x1100 1xD30
Flexible hose D25x450
Flexible hose D25x300 D25x830
Flexible hose D25x300 D25x570
Holder for distributor A D77 40x10x570 2xD10,5
Tramline mechanism 1-F
Tramline mechanism 2-F
Distributor 9B
Distributor 10B
Supply hoses D65 Solitair 12/900 K
Recirculation Solitair 12 1R
Recirculation Solitair 12 2R
Recirculation Solitair 12 1R
Recirculation-connection Solitair 12 1R
Recirculation-connection Solitair 12 2R
Recirculation 2x3 1,8m Solitair 12/900
Recirculation 4x3
Fan Solitair 12
Stand D185x720 0-300mm
Lift linkage Solitair 12 1070lg.
Lift linkage Solitair 12 1240lg.
Basic frame Solitair 12
Electric drive Solitair 12
Electric drive Solitair 12
Folding frame Solitair 12/900-K-125
Folding frame Solitair 12/900-K-150
Folding frame Solitair 12/900-K-175
Coulter frame Solitair 12/900-K 72R-125
Coulter frame Solitair 12/900-K 60R-150
Coulter frame Solitair 12/900-K 52R-175
Link Solitair 12/800+900+1000
Levelling harrow S-1,00
Levelling harrow S-1,25
Swinging arm
Disc D350/70/34x3 AA
Levelling harrow S-1,00
Levelling harrow S-1,25
Holder, long
Holder, short
Double disc coulter + roller D350/330-B
Double disc coulter + roller D350/330-U
Scraper
Single harrow D10x960
Pre-emergency marker DS-Ausfuhrung
Pre-emergency marker lang Seiten-Rahmen
Pre-emergency marker kurz Seiten-Rahmen
Control valve Solitair 1V-0M-0T
Control valve Solitair 2V-0M-0T
Control valve Solitair 3V-0M-0T
Control valve Solitair 0V-1M-6T
Control valve Solitair 1V-1M-6T
Control valve Solitair 2V-1M-6T
Control valve Solitair 3V-1M-6T
Control valve Solitair 0V-1M-8T
Control valve Solitair 1V-1M-8T
Control valve Solitair 2V-1M-8T
Control valve Solitair 3V-1M-8T
Hydraulic assembly fan Solitair 12
PTO driven oil supply Solitair 12
Mounting parts Solitair 12/900
Hydraulic assembly folding de. Solitair 12
Hydraulic assembly balance Solitair 12/900
HY-assembly track marker Solitair 12/900
HY-assembly track marker fold. Solitair 12/900
HY-assembly lift linkage Solitair 12
HY-assembly top link+hose Solitair 12
HY-assembly supply hose Solitair 12
HY-assembly pre-emerg.DZ chas. Solitair 12 1x2
Hydraulic assembly EZ 1x2 Solitair 12
Hydraulic assembly DZ Solitair 12 2x2
HY-assembly pre-emerg.+harrow 1x2 FW Solitair 12
Braking system, hydraulic Solitair 10 2xEZ 30x110
HY-assembly pre-emerg.EZ chas. 1x2 STR Solitair 12+10
HY-assembly harrow 8-Felder Solitair 12/900
Hydraulic assembly DZ 2x2 Solitair 12
HY-assembly pre-emerg.DZ chas. 2x2 Solitair 12+10
Connecting hoses STB EW Solitair 12
Connecting hoses STB DW Solitair 12
Hydraulic assembly EZ 1x2 STB Solitair 12
Partly width switch off hydr. TBA 6x
Partly width switch off hydr. TBA 8x
Supply hoses lang STB Solitair
Extension pulse pick-up wheel 80x20x610 4xD12,5
Ball-shaped coupling K80 M9615
Traction loop Zirkon 9KA D58x200
Traction loop Zirkon 9KA D40x200
Traction loop Zirkon 9KA D50x200
Drive wheel D540 2xD16
Drive wheel D350 Solitronic
Carrier Solitair 12
Braking axle GS12010 150x10x2530 10/280/335
Wheel 10/280/335 Alliance 550/60-22.5 12PR/RE
Wheel 10/280/335 Alliance 550/60-22.5 12PR/RE
Wheel 10/280/335 Alliance 700/50-30.5 12PR/RE
Wheel 10/280/335 Alliance 700/50-30.5 12PR/LI
Ball-shaped coupling K80 M9615
Traction loop Zirkon 9KA D58x200
Traction loop Zirkon 9KA D40x200
Traction loop Zirkon 9KA D50x200
Compressed-air brake Solitair 12
Holder for track scraper FSU 140x140-40x20
Track scraper FSU-VS33
Track scraper FSU-VS33 Solitair 12 FAW
Track scraper with holder FSU-VS33 Solitair 12 Sch.
Lighting equipment, rear Solitair 12
Lighting equipment, front Solitair 10/12
Arbeitsscheinwerfer +Tankbel. Solitair 10/12
Track marker Solitair 9/900 RE
Track marker Solitair 12/900 LI
Sensor - filling level kpl. Solitair LH5000
Tramline control 2x1-F Solitair 12
Tramline control 2x2-F Solitair 12
Tramline control 2x3-F Solitair 12
Tramline control 2x4-F Solitair 12
Tramline control 4x2-F Solitair 12
Tramline-distributor control 2x1-F 8-V Solitair 12
Tramline-distributor control 2x2-F 8-V Solitair 12
Tramline-distributor control 2x3-F 8-V Solitair 12
Tramline-distributor control 2x4-F 8-V Solitair 12
Tramline-distributor control 4x2-F 8-V Solitair 12
Distributor monitoring 8-V Solitair 12
Partly width switch off 8-TBRA Solitair 12
Tractor mounting set GBT 2000 /30x30
On board computer LH5000-GPS
On board computer LH 5000
Tractor mounting set 8-TBRA Solitair 12
Tractor mounting set o.TRBA Solitair 10+12
Cable form Solitair 12
Electronic box Solitair 12+10
Connection cable (monitor box) 7m Solitair 12 22P+3P
Electric assembly f.hy.harrow Solitair
Analogue indication-seed depth Solitair 12
Operator terminal LKT1 Solitronic
Cable form Solitronic
Power supply cable Solitronic, Soli 10/12
Cable form Solitronic
Cable form Solitronic
MDA-job computer
Coupling box Solitronic
Coupling 8x32x38
Coupling 1.3/4-6T
Coupling 1.3/4-20Z
Coupling 1.3/8-6Z
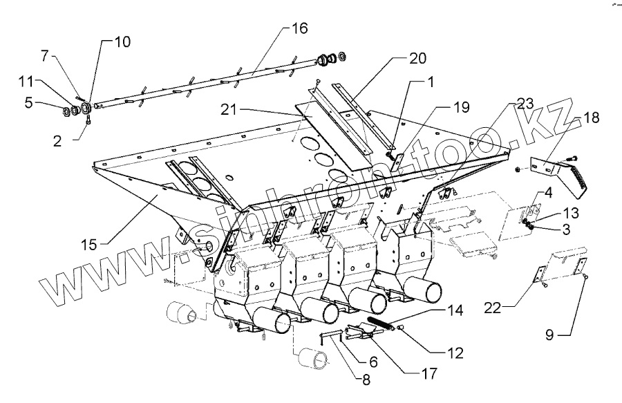
1
2
3
4
5
6
7
8
9
10
11
12
13
14
15
16
17
18
19
20
21
22
23
Позиция на иллюстрации
Заводской номер детали
Название детали
1
301 1123
Bolt, cup square head
2
301 5854
Allen screw
3
303 0932
Selflocking nut
4
305 6124
Washer
5
305 6143
Washer
6
311 7602
Peg
7
311 7615
Peg
8
313 0802
Pin
9
315 9608
Rivet
10
317 7641
Bearing housing
11
317 7642
Bush
12
323 6510
Plastic cap
13
329 6127
Tellerfeder
14
329 8553
Spring
15
482 5758
Dosage
16
482 5830
Agitator shaft
17
482 5840
Soil flap
18
482 5846
Fixing device
19
482 5849
Cover plate
20
482 5857
Cutting bar
21
482 5858
Viewing glass
22
482 5907
Plate
23
482 5908
U-lashing
Содержащиеся в справочниках-каталогах запасные части и детали не предлагаются к продаже, а носят исключительно информационный характер
Дополнительная информация
×
Название:
Номер:
Примечание: