Вернуться на главную
Поиск
Каталоги запчастей к технике
Сельхозтехника
Lemken
Solitair 12/1200KD
6825682 Fan
Каталог запасных частей к технике: Lemken Solitair 12/1200KD. 6825682 Fan
zoom-in
zoom-out
enlarge
shrink
circle-right
circle-left
file-text2
info
cart
Тип техники
Не выбрано
Легковые автомобили
Грузовые автомобили и прицепы
Автобусы
Сельхозтехника
Спецтехника
Двигатели
Мототехника
Марка
Не выбрано
AGCO
Amity
CASE IH
DongFeng
Fortschritt
Foton
Franz Kleine
Gaspardo
Great Plains
KRONE
KUHN
Lemken
Lovol
MacDon
Massey Ferguson
New Holland
TIGARBO
Vaderstad
Versatile
Wirax
Агро
Агротехмаш
Бобруйскагромаш (ОАО «УКХ «Бобруйскагромаш»)
БЭМЗ
ВгТЗ
Воронежсельмаш
ВТЗ
Гомсельмаш
ДКЗ
ЗАО "Техника-сервис"
ЗиД
КЗК
Кировец-Ландтехник
Клевер
Красная Звезда
Лидагропроммаш
Лидсельмаш
ЛТЗ
Машстройхолдинг
Минитракторы
Мордовагромаш
МТЗ
Навигатор-Новое машиностроение
Нефтекамский автозавод
ПТЗ
Ремком
РСМ
Сибсельмаш
ТеКЗ
ТКЗ
ХЗТСШ
ХТЗ
ЮМЗ
Модель
Не выбрано
Achat 9/400 KA (2004)
Achat 9/500 KA (2004)
Achat 9/600 KA (2004)
Azurit 9 (2018)
Dolomit 9 (2010)
EuroDiamant 10 (2010)
EuroDiamant 10 X (2010)
EuroDiamant 8 (2010)
EuroGranat 5 (2006)
EuroGranat 6 (2006)
EuroGranat 7 (2006)
EurOpal 5 (2010)
EurOpal 5HX (2010)
EurOpal 6 (2010)
EurOpal 7 (2010)
EurOpal 7, EurOpal 7HX (2018)
EurOpal 7X (2010)
EurOpal 7X, EurOpal 7 HydriX (2018)
EurOpal 8 (2010)
EurOpal 9 (2010)
EuroTitan 10 (2010)
EuroTitan 10X (2010)
FixPack (2010)
Gigant 1000 (2010)
Gigant 1000 Smaragd (2010)
Gigant 800 (2010)
Gigant 800 S (2010)
Gigant 800 S Rubin (2006)
Gigant 800 Smaragd (2010)
Heliodor 9/600KA (2018)
Heliodor 9/700KA (2018)
Juwel 8M (2018)
Karat 9/600 KA (2016)
Kristall 9/500KA (2016)
Kristall 9/600KA (2016)
OptiDisc 25 (2018)
Primus 10 (Часть 1) (2017)
Primus 10 (Часть 2) (2017)
Quarz 7/250 (2010)
Quarz 7/250 F (2010)
Quarz 7/300 (2010)
Quarz 7/300F (2010)
Quarz 7/400 (2010)
Quarz 7/400F (2010)
Quarz 7/400K (2010)
Quarz 7/400KA (2010)
Quarz 7/500K (2010)
Quarz 7/500KA (2010)
Quarz 7/600K (2010)
Rubin 10/600 KUA (2018)
Rubin 10/700 KUA (2018)
Rubin 12/400 KUA (A) (2018)
Rubin 12/500 KUA (A) (2018)
Rubin 12/600 KUA (A) (2018)
Rubin 12/700 KUA (2018)
Rubin 9/300 U (2004)
Rubin 9/400 U (2004)
Saphir 7/300 (2010)
Saphir 7/400 (2010)
Smaragd 7/260 (2010)
Smaragd 7/300 (2010)
Smaragd 9/300 (2010)
Smaragd 9/400 (2010)
Smaragd 9/400 (2016)
Smaragd 9/400 K (2016)
Smaragd 9/400K (2010)
Smaragd 9/450K (2010)
Smaragd 9/500 K (2016)
Smaragd 9/500K (2004)
Smaragd 9/600 K (2016)
Smaragd 9/600K (2010)
Smaragd 9/600KA (2010)
Solitair 10/600K (2006)
Solitair 12/1000K (2007)
Solitair 12/1200K (2008)
Solitair 12/1200KD (2018)
Solitair 12/5800SW (2018)
Solitair 12/800K (2006)
Solitair 12/900K (2007)
Solitair 8/300 (2004)
Solitair 8/300 (2014)
Solitair 8/400 (2004)
Solitair 9/300 (2004)
Solitair 9/400 (2004)
Solitair 9/400K (2004)
Solitair 9/400KA (2004)
Solitair 9/450K (2004)
Solitair 9/450KA (2004)
Solitair 9/500K (2004)
Solitair 9/500KA (2009)
Solitair 9/600K (2004)
Solitair 9/600KA (2004)
System-Kompaktor Gigant 1000 (2010)
System-Kompaktor Gigant 800 (2010)
System-Kompaktor K450 (2010)
System-Kompaktor K450A (2010)
System-Kompaktor K500 (2010)
System-Kompaktor K500A (2010)
System-Kompaktor K600 (2010)
System-Kompaktor K600A (2010)
System-Kompaktor S300 (2010)
System-Kompaktor S400 (2010)
System-Korund 300 L (2010)
System-Korund 450 L (2010)
System-Korund 600 L (2010)
System-Korund 750 K (750 L) (2010)
System-Korund 900 K (2010)
System-Korund 900 L (2010)
Thorit 8/300 (2005)
Thorit 8/300 Combi-Liner (2004)
Thorit 8/400 (2010)
Thorit 8/400 Combi-Liner (2004)
Thorit 9/400 K (2004)
Thorit 9/400 KA (2003)
Thorit 9/450 K (2004)
Thorit 9/500 K (2004)
Thorit 9/500 KA (2003)
Thorit 9/600 K (2004)
Thorit 9/600 KA (2003)
Topas 140-A (2010)
Vari-Diamant 10 (2004)
Vari-Diamant 10X (2004)
Vari-Opal 100 (2014)
Vari-Opal 100HX (2014)
Vari-Opal 100X (2014)
Vari-Opal 160 (2014)
Vari-Opal X160 (2014)
Vari-Titan 10 (2010)
Vari-Turmalin 10 (2005)
Vari-Turmalin 10X (2005)
Variopack 110DP70 (2010)
Variopack 110DP90 (2010)
Variopack 110EP90 (2010)
Variopack 110FEPK700 (2010)
Variopack 80DP70 (2010)
Variopack S 110DP70 (2010)
VariOpal 5 (2010)
VariOpal 7 (2010)
VariOpal 7X (2010)
VariOpal 8 (2010)
VariOpal 8X (2010)
VariOpal 9 (2010)
VariOpal 9X (2010)
Zirkon 10/300 (2010)
Zirkon 10/400 (2010)
Zirkon 10/400K (2010)
Zirkon 10/450 (2010)
Zirkon 10/450K (2010)
Zirkon 10/450KA (2010)
Zirkon 10/500K (2010)
Zirkon 10/500KA (2010)
Zirkon 10/600KA (2010)
Zirkon 7/250 (2010)
Zirkon 7/300 (2010)
Zirkon 7/400 (2010)
Zirkon 9/300 (2010)
Zirkon 9/400 (2010)
Zirkon 9/600K "B" (2010)
Схема
>
Не выбрано
Contens
59010110 Label
6297130 Stand
6822537 Holder
6828524 Folding frame
6828544 Coulter frame
6828555 Link
6829927 Accessories
68210333 Basic frame
68210389 Holder
6408592 Ball-shaped coupling
6408593 Traction loop
6408594 Traction loop
6408595 Traction loop
6408612 Ball-shaped coupling
6408613 Traction loop
6408614 Traction loop
6408615 Traction loop
6618519 Lift linkage
5752304 Hydraulic ram
5752312 Plunger-ram
5752314 Hydraulic ram
5752335 Hydraulic ram
5752351 Hydraulic ram
5752355 Hydraulic ram
5752356 Hydraulic ram
6758024 Control valve
6758309 Mounting parts
6758310 Hydraulic assembly folding de.
6758314 Hydraulic assembly
6758315 Hydraulic assembly
6758316 Hydraulic assembly
6758317 Hydraulic assembly balance
6758318 HY-assembly track marker
6758319 HY-assembly track marker fold.
6758327 Braking system
6758336 HY-assembly harrow
6758343 HY-assembly lift linkage
6758345 Connecting hoses
6758346 Connecting hoses
6758360 HY-assembly charging screw
6758441 Supply hoses
6758445 Manometric switch
67510916 Hydraulic assembly fan
67511102 HY-assembly lift linkage
67511103 HY-assembly lift linkage
57010100 Lighting unit
57010101 Lighting unit
57010112 Warning board
57010113 Warning board
5734431 Extension cable
5734471 Extension cable
5736128 Mounting set, batterie
5736133 Cable form
5736155 Junction box
5736171 Connection cable
5736172 Connection cable
5736179 Cable
5736201 Adapter
5738034 Sensor-filling level
57310195 Connecting cable
57310196 Connecting cable
57310197 Connecting cable
57310198 Connecting cable
57310199 Connecting cable
57310241 Dongle
57310278 Holder
57310549 Operation terminal
5822546 Extension pulse pick-up wheel
6702090 Lighting equipment, rear
6702091 Lighting equipment, front
67010103 Lighting equipment
67010116 Wheel chock
67010220 Work lighting
67010274 Lighting equipment
67010295 Lighting equipment
6734981 Holder
6734982 Holder
6735060 Electric assembly f.hy.harrow
6736111 Cable form pro
6736151 Job computer
6736155 Junction box
6736207 Joystickbox
6736210 Operation terminal
6736211 Operation terminal
6736216 Camera monitoring
6736217 Camera monitoring
6736218 Camera monitoring
67310022 Balance
67310063 GSM-Box
67310064 D-GPS receiver
67310065 f. Fahrtrichtung
67310066 Switch box
67310067 Camera monitoring
67310068 Supplementary set
67310071 CCI.Courier
67310073 CCI.Control
67310088 Cable form
67310089 Cable form
67310099 Parallel driving system
67310100 Section Control
67310194 D-GPS receiver
67310198 Operation terminal
67310219 Equipment
67310220 Cable form
67310221 Power supply cable
67310223 Electric drive fertilizer
67310224 Electric drive
67310290 Operation terminal
67310292 Supplementary set
67310294 Holder
6822514 Drive wheel
6822516 Pulse wheel
6996714 Operation terminal
R180156 Multifunctional handle
33110017 Safety chain
5508527 Braking axle
5508529 Running axle
5508880 Wheel
5508881 Wheel
55010048 Wheel
55010049 Wheel
5572523 Holder for wheel mark eradica.
5574991 Wheel mark eradicator
5822704 Levelling harrow
5822727 Swinging arm
5825709 Supplementary set
5826054 Holder for spring
58210024 Scraper
6575016 Wheel mark eradicator
6575017 Wheel mark eradicator w.holder
6822704 Levelling harrow
6822729 Holder, long
6826141 Pressure roller
6826142 Pressure roller
6826375 Scraper
6826401 Single harrow
68210112 Double disc coulter
68210113 Double disc coulter
68210114 Double disc coulter
5821248 Axle for track marker
6821338 Track marker
6821339 Track marker
5825617 Support
68210322 Hopper
68210324 Cover
68210479 Hopper
6871125 Filling screw
68710006 Filling screw
65010031 Parking brake
6776080 Compressed-air brake
67710011 Contact breaking cable
6825682 Fan
68210327 Distributor
68210328 Supply hose
68210329 Supply hose-fertilizer
68210330 Supply hose
5825781 Dosage, top part
5825836 Agitator finger
58210169 Seeding mechanism
58210170 Seeding mechanism fertilizer
58210178 Dosage, lower part
58210180 Hose carrier
58210181 Hose carrier
58210182 Hose carrier
58210184 Dosage, lower part
58210251 Hose carrier
58210252 Hose carrier
68210325 D-Dosage
68210335 D-Dosage
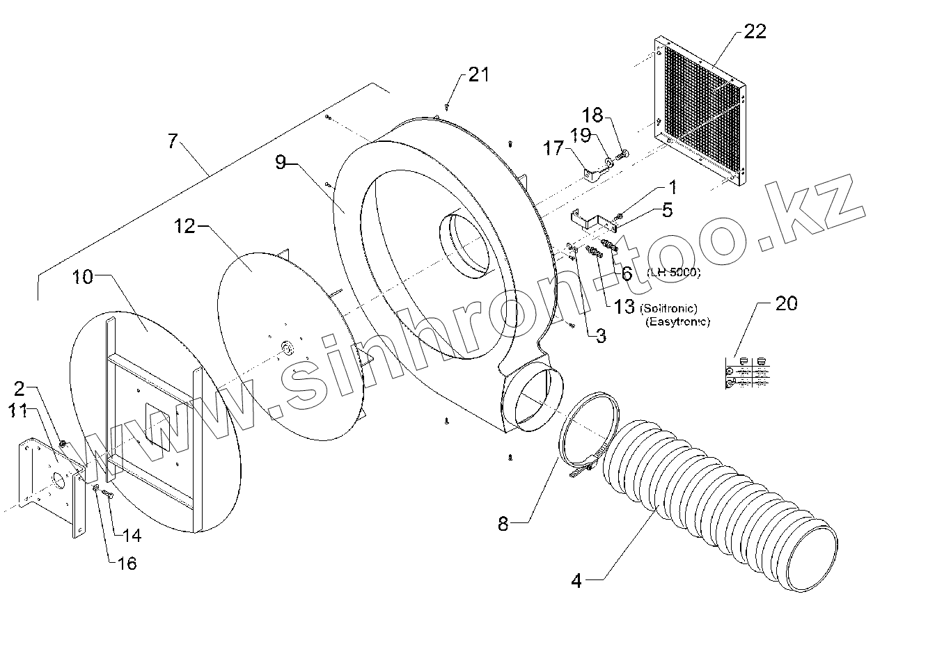
1
2
3
4
5
6
7
8
9
10
11
12
13
14
16
17
18
19
20
21
22
Позиция на иллюстрации
Заводской номер детали
Название детали
1
301 3003
Screw
2
303 0933
Selflocking nut
3
305 8572
Washer
4
377 4124
Flexible hose
5
473 8078
Sensor holder
6
573 4366
Sensor
7
582 5682
Fan
8
325 1192
Hose clip
9
482 5682
Fan housing
10
482 5683
Fan cover
11
482 5709
Basic plate
12
482 5711
Blower wheel
13
573 4375
Proximity switch
14
301 5423
Bolt
16
305 6132
Washer
17
473 8044
Pulse pick-up
18
301 3073
Bolt
19
305 9898
Spring ring
20
390 4149
Label
21
301 6092
Countersunk bolt
22
48210550
Protective grating
Содержащиеся в справочниках-каталогах запасные части и детали не предлагаются к продаже, а носят исключительно информационный характер
Дополнительная информация
×
Название:
Номер:
Примечание: