Вернуться на главную
Поиск
Каталоги запчастей к технике
Сельхозтехника
Lemken
Smaragd 9/600KA
Compressed-air brake Smaragd 9 KA B
Каталог запасных частей к технике: Lemken Smaragd 9/600KA. Compressed-air brake Smaragd 9 KA B
zoom-in
zoom-out
enlarge
shrink
circle-right
circle-left
file-text2
info
cart
Тип техники
Не выбрано
Легковые автомобили
Грузовые автомобили и прицепы
Автобусы
Сельхозтехника
Спецтехника
Двигатели
Мототехника
Марка
Не выбрано
AGCO
Amity
CASE IH
DongFeng
Fortschritt
Foton
Franz Kleine
Gaspardo
Great Plains
KRONE
KUHN
Lemken
Lovol
MacDon
Massey Ferguson
New Holland
TIGARBO
Vaderstad
Versatile
Wirax
Агро
Агротехмаш
Бобруйскагромаш (ОАО «УКХ «Бобруйскагромаш»)
БЭМЗ
ВгТЗ
Воронежсельмаш
ВТЗ
Гомсельмаш
ДКЗ
ЗАО "Техника-сервис"
ЗиД
КЗК
Кировец-Ландтехник
Клевер
Красная Звезда
Лидагропроммаш
Лидсельмаш
ЛТЗ
Машстройхолдинг
Минитракторы
Мордовагромаш
МТЗ
Навигатор-Новое машиностроение
Нефтекамский автозавод
ПТЗ
Ремком
РСМ
Сибсельмаш
ТеКЗ
ТКЗ
ХЗТСШ
ХТЗ
ЮМЗ
Модель
Не выбрано
Achat 9/400 KA (2004)
Achat 9/500 KA (2004)
Achat 9/600 KA (2004)
Azurit 9 (2018)
Dolomit 9 (2010)
EuroDiamant 10 (2010)
EuroDiamant 10 X (2010)
EuroDiamant 8 (2010)
EuroGranat 5 (2006)
EuroGranat 6 (2006)
EuroGranat 7 (2006)
EurOpal 5 (2010)
EurOpal 5HX (2010)
EurOpal 6 (2010)
EurOpal 7 (2010)
EurOpal 7, EurOpal 7HX (2018)
EurOpal 7X (2010)
EurOpal 7X, EurOpal 7 HydriX (2018)
EurOpal 8 (2010)
EurOpal 9 (2010)
EuroTitan 10 (2010)
EuroTitan 10X (2010)
FixPack (2010)
Gigant 1000 (2010)
Gigant 1000 Smaragd (2010)
Gigant 800 (2010)
Gigant 800 S (2010)
Gigant 800 S Rubin (2006)
Gigant 800 Smaragd (2010)
Heliodor 9/600KA (2018)
Heliodor 9/700KA (2018)
Juwel 8M (2018)
Karat 9/600 KA (2016)
Kristall 9/500KA (2016)
Kristall 9/600KA (2016)
OptiDisc 25 (2018)
Primus 10 (Часть 1) (2017)
Primus 10 (Часть 2) (2017)
Quarz 7/250 (2010)
Quarz 7/250 F (2010)
Quarz 7/300 (2010)
Quarz 7/300F (2010)
Quarz 7/400 (2010)
Quarz 7/400F (2010)
Quarz 7/400K (2010)
Quarz 7/400KA (2010)
Quarz 7/500K (2010)
Quarz 7/500KA (2010)
Quarz 7/600K (2010)
Rubin 10/600 KUA (2018)
Rubin 10/700 KUA (2018)
Rubin 12/400 KUA (A) (2018)
Rubin 12/500 KUA (A) (2018)
Rubin 12/600 KUA (A) (2018)
Rubin 12/700 KUA (2018)
Rubin 9/300 U (2004)
Rubin 9/400 U (2004)
Saphir 7/300 (2010)
Saphir 7/400 (2010)
Smaragd 7/260 (2010)
Smaragd 7/300 (2010)
Smaragd 9/300 (2010)
Smaragd 9/400 (2010)
Smaragd 9/400 (2016)
Smaragd 9/400 K (2016)
Smaragd 9/400K (2010)
Smaragd 9/450K (2010)
Smaragd 9/500 K (2016)
Smaragd 9/500K (2004)
Smaragd 9/600 K (2016)
Smaragd 9/600K (2010)
Smaragd 9/600KA (2010)
Solitair 10/600K (2006)
Solitair 12/1000K (2007)
Solitair 12/1200K (2008)
Solitair 12/1200KD (2018)
Solitair 12/5800SW (2018)
Solitair 12/800K (2006)
Solitair 12/900K (2007)
Solitair 8/300 (2004)
Solitair 8/300 (2014)
Solitair 8/400 (2004)
Solitair 9/300 (2004)
Solitair 9/400 (2004)
Solitair 9/400K (2004)
Solitair 9/400KA (2004)
Solitair 9/450K (2004)
Solitair 9/450KA (2004)
Solitair 9/500K (2004)
Solitair 9/500KA (2009)
Solitair 9/600K (2004)
Solitair 9/600KA (2004)
System-Kompaktor Gigant 1000 (2010)
System-Kompaktor Gigant 800 (2010)
System-Kompaktor K450 (2010)
System-Kompaktor K450A (2010)
System-Kompaktor K500 (2010)
System-Kompaktor K500A (2010)
System-Kompaktor K600 (2010)
System-Kompaktor K600A (2010)
System-Kompaktor S300 (2010)
System-Kompaktor S400 (2010)
System-Korund 300 L (2010)
System-Korund 450 L (2010)
System-Korund 600 L (2010)
System-Korund 750 K (750 L) (2010)
System-Korund 900 K (2010)
System-Korund 900 L (2010)
Thorit 8/300 (2005)
Thorit 8/300 Combi-Liner (2004)
Thorit 8/400 (2010)
Thorit 8/400 Combi-Liner (2004)
Thorit 9/400 K (2004)
Thorit 9/400 KA (2003)
Thorit 9/450 K (2004)
Thorit 9/500 K (2004)
Thorit 9/500 KA (2003)
Thorit 9/600 K (2004)
Thorit 9/600 KA (2003)
Topas 140-A (2010)
Vari-Diamant 10 (2004)
Vari-Diamant 10X (2004)
Vari-Opal 100 (2014)
Vari-Opal 100HX (2014)
Vari-Opal 100X (2014)
Vari-Opal 160 (2014)
Vari-Opal X160 (2014)
Vari-Titan 10 (2010)
Vari-Turmalin 10 (2005)
Vari-Turmalin 10X (2005)
Variopack 110DP70 (2010)
Variopack 110DP90 (2010)
Variopack 110EP90 (2010)
Variopack 110FEPK700 (2010)
Variopack 80DP70 (2010)
Variopack S 110DP70 (2010)
VariOpal 5 (2010)
VariOpal 7 (2010)
VariOpal 7X (2010)
VariOpal 8 (2010)
VariOpal 8X (2010)
VariOpal 9 (2010)
VariOpal 9X (2010)
Zirkon 10/300 (2010)
Zirkon 10/400 (2010)
Zirkon 10/400K (2010)
Zirkon 10/450 (2010)
Zirkon 10/450K (2010)
Zirkon 10/450KA (2010)
Zirkon 10/500K (2010)
Zirkon 10/500KA (2010)
Zirkon 10/600KA (2010)
Zirkon 7/250 (2010)
Zirkon 7/300 (2010)
Zirkon 7/400 (2010)
Zirkon 9/300 (2010)
Zirkon 9/400 (2010)
Zirkon 9/600K "B" (2010)
Схема
>
Не выбрано
Contents Smaragd 9/600 KA "B"
Carrier, 1 pair120x2095-80x20 Smaragd 9 KU
Carrier, 1 pair U-shape 120x2095-80-60 SM9KAU
Carrier, 1 pair U-shape 120x2095-80-60 SM9KAU D600
Carrier, 1 pair 120x1795-80x20 Smaragd 9 K
Carrier, 1 pair 120x1795-100x20 SM9K-D600
Carrier, 1 pair 120x2095-100x20 SM9UK-D600
Carrier-T for double roller 1795 Smaragd 9 K
Carrier-T for double roller 2095 Smaragd 9 K
Frame for hollow discs 2x SM9/600
Balance bar S9/600 K
Fittings for AHG Smaragd 9
Fittings for AHG Smaragd 90U+100U
Accessories Smaragd 9 K(U)AB
Fittings for AHG Smaragd 9U D30G
Adapter-inner thread ZPW-SM9/600-K RE+LI
Basic frame Smaragd 9/600-K
Holder GRW-GR D590-90
Packer roller ZPW D500-3,0m
Tube bar roller D400-300 SM9 K
Tube bar roller D540-300 RE SM9
Tube bar roller D540-300 LI SM9
Tube bar roller D600-300 SM9-K RE
Tube bar roller D600-300 SM9-K LI
Double roller D400-300 RE SM9K
Double roller D400-300 LI SM9K
Double roller D400-300 RE SM9K
Double roller D400-300 LI SM9K
Trapeze packer roller TPW D500-300-24R-125
Trapeze packer roller Packer roller, short scraper ZPW D500-3,0m
Trapeze packer roller TPW D500-300-20R150
Trapeze packer roller TPW D500-300-17R175
Trapeze disc roller TSW D500-400-32R-125
Knife roller MSW D600-300 RE SM9
Knife roller MSW D600-300 LI SM9
Knife roller MSW D600-300 RE SM9
Knife roller MSW D600-300 LI SM9
Double roller D540/400-3.00 RE
Double roller D540/400-3.00 LI
Rubber ring roller GRW D590-300-24R-125
Trip device 100x22-A SM90+9
Trip device D30G-16 SMARAGD 9
Trip device D30G-20 206-Drehpunkt SM.9
Trip device D30G-20 150-Drehpunkt SM.9
Trip device 50x18 SM9
Headstock Smaragd 9 KA B -12.99
Headstock Smaragd 9 KA B 01.00-
Pair of hollow discs 2xD450 Smaragd 9
Hollow disc RE D450 Smaragd 9
Hollow disc LI D450 Smaragd 9
Bracket for outer disc RE 80x80 SM9
Bracket for outer disc LI 80x80 SM9
Lower link connection D55/68 L2 Z3
Lower link connection D68/68 L3 Z3
Lower link connection D68/68 L1100 Z58 K700
Lower link connection ED68/55 L2 Z2
Lower link connection ED68/55 L3 Z2
Lower link connection ED68 L2 Z3
Lower link connection ED68 L3 Z3
Lower link connection ED68 L1100 Z58 K700
Depth limiter K700 D68
Depth limiter K700 -B M30 K700 -B M30
Tine with wing-shares RE 480 S12P/FL37P-G 70x22 D24
Tine with wing-shares LI 480 S12P/FL37P-G 70x22 D24
Tine with wing-shares MI 480 S12P/FL37P-G 70x22 D24
Tine with wing-shares RE 480 S12PK/FL37P-G 70x22 D24
Tine with wing-shares LI 480 S12PK/FL37P-G 70x22 D24
Tine with wing-shares MI 480 S12PK/FL37P-G 70x22 D24
Tine with wing-shares RE 480 S12P/FL37P-G 70x22 D16
Tine with wing-shares LI 480 S12P/FL37P-G 70x22 D16
Tine with wing-shares MI 480 S12P/FL37P-G 70x22 D16
Tine with wing-shares RE 480 S12PK/FL37P-G 70x22 D16
Tine with wing-shares LI 480 S12PK/FL37P-G 70x22 D16
Tine with wing-shares MI 480 S12PK/FL37P-G 70x22 D16
Lighting equipment, front Smaragd 9 KA B
Control box ELFG104-XXXX
Cable form ELFG104-XXXX 10m
Lighting equipment V Smaragd 9 KA B
Lighting equipment V Smaragd 9 KA B
Lighting equipment, rear KA 150x150
Lighting equipment, rear KA 140x140
Joystickbox JB-1
Extension 8m-10 Solitronic
Hydraulic locking device Smaragd 9/400K-600K
Control valve L8S-3D/1E
Three-way pressure balance LU8SSCK-QM22/04
Valve 6/3 LD8SE4D2525
Seat valve SVH04M878SA-OM14G12
Adapter-inner thread K700
Hose carrier D42,5x6,3x1740
HY-assembly lift linkage DZ 110x450
HY-assembly lift linkage DZ 110x450
HY-assembly folding device Smaragd 9 KA B DZ110/450
HY-pipe assembly Smaragd 9 KA B
HY-assembly folding device Smaragd 9 KA B DZ90/450
HY-assembly trailer Smaragd 9 KA B DZ100/245
HY-assembly trailer Smaragd 9 KA B DZ100/245
HY-pipe assembly folding dev. Smaragd 9 KA B
HY-pipe assembly Smaragd 9 KA B-6/2 W. AHG
HY-pipe assembly Smaragd 9 KA B
HY-pipe assembly Smaragd 9 KA B
HY-pipe assembly Smaragd 9 KA B
HY-pipe assembly Smaragd 9 KA B
HY-assembly control valve Smaragd 9 KA B L8S
HY-assembly control valve Smaragd 9 KA B-FW
HY-pipe assembly Smaragd 9 KA B-K
HY-pipe assembly Smaragd 9 KA B-SP
HY-pipe assembly Smaragd 9 KA B-AHG
HY-assembly track marker Smaragd 9 KA B 6m
HY-assembly track marker Smaragd 9 KA B 6m
Hydraulic braking assembly Smaragd 9 KAB 2xEZ 30x110
Transport height limiter Smaragd 9/600 KAB D40
HY-pipe lifting device Smaragd 9 KA B EW
HY-assembly unlocking device DZ25/18-240 SM9/500+600 K
Stand 70x22/100x100x600
Stand 70x22/110x110x600
Deichsel 100x100/Smaragd 9 KA-B -12.99
Deichsel 110x110/Sm.9 KA-B 01.00-04.03
Deichsel 110x110/Smaragd 9 KA-B KG45
Depth wheel 10.0/80-12 70x30
Wheel bracket 70x30 RE Smaragd 9K
Wheel bracket 70x30 LI Smaragd 9K
Bearing 8/220/275 M18 80x80
Set of fittings M18x1,5 125/80-18
Running axle 140x140x2530 8/220/275
Braking axle GS12008 55.72.448.000
Running axle GS7008 55.67.001.014
Wheel 8/221/575 Trelleborg 550/60-22.5 12PR/RE
Wheel 8/221/575 Trelleborg 550/60-22.5 12PR/LI
Wheel 8/221/575 12,5/80-18 12PR AW
Wheel 8/221/575 Alliance 700/50-22,5 12PR ET0
Wheel 8/221/575 Alliance 700/50-22,5 12PR ET0
Running axle 140x2530 8/220/275
Trailer Smaragd 9 KA B-12.01
Trailer Smaragd 9 KA B 01.02
Compressed-air brake Smaragd 9 KA B
Hydraulic lift linkage D50x200 L2 Z2
Axle for track marker D30x595 668A
Additional parts locking dev. Spuranreiner Z600
Track marker Solitair FW450/Z600 D380
Bracket for track marker Smaragd 9/6M RE
Bracket for track marker Smaragd 9/6M LI
Kupplungsteil FK 150x150 (Solitair 9KA)
Kupplungsteil FK 140x140 (Solitair 9KA)
Kupplungsteil FK 150x150x120 (Solitair 9KA)
Carrier, 1 pair U-shape 120x2095-80-60 SM9KAU
Carrier, 1 pair for harrow 120x1795-80x20 SM-9K
Carrier, 1 pair for harrow 120x2095-80x20 Smaragd 9 KU
Levelling type harrow STR80-600
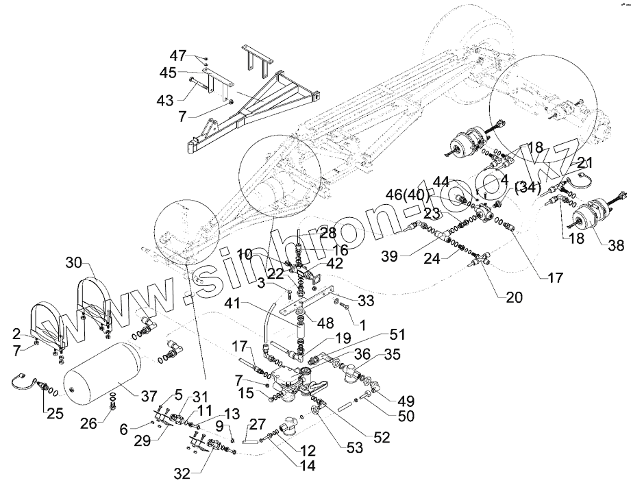
1
2
3
4
5
6
7
7
7
9
10
11
12
13
14
15
16
17
17
18
18
19
20
21
22
23
24
25
26
27
28
29
30
31
32
33
34
35
36
37
38
39
40
41
42
43
44
45
46
47
48
49
50
51
52
53
Позиция на иллюстрации
Заводской номер детали
Название детали
1
301 5424
Bolt
2
301 5004
Screw
3
301 5009
Screw
4
301 7260
Screw
5
301 7280
Screw
6
303 0932
Selflocking nut
7
303 0933
Selflocking nut
8
305 8694
Washer
9
325 1145
Hose clip
10
375 2190
Vent plug
11
377 1180
Thrust ring with O-ring
12
377 1181
Thrust ring with O-ring
13
377 1301
Hose nipple
14
377 1302
Hose nipple
15
377 1350
Plug
16
377 1400
Push-in connection
17
377 1401
Push-in connection
18
377 1409
Push-in connection
19
377 1410
Push-in connection
20
377 1440
Push-in connection
21
377 1450
Push-in connection
22
377 1460
Screwed socket
23
377 1461
Screwed socket
24
377 1482
Reducing fitting
25
377 1341
Test coupling
26
377 1380
Dewatering valve
27
377 2025
Brake hose
28
377 2070
Synthetic tube
29
377 2520
Hose clamp
30
377 2532
Strap
31
377 2540
Hose coupling
32
377 2541
Hose coupling
33
477 1125
Holder
34
577 2570
Venting filter
35
577 2580
Filter
36
577 2591
Trailer brake valve
37
577 2622
Compressed-air container
38
577 2641
Membrane-cylinder
39
577 2660
2-port control valve
40
577 2670
Quick release valve
41
577 2680
Nonreturn valve
42
577 2690
Parking valve
43
301 5438
Bolt
44
305 9898
Spring ring
45
477 1126
Holder
46
577 2671
Quick release valve
47
305 8696
Washer
48
375 5698
Nut
49
377 1260
Angle union
50
377 1300
Hose nipple
51
377 1472
Screwed socket
52
377 1473
Screwed socket
53
375 5710
Nut
Содержащиеся в справочниках-каталогах запасные части и детали не предлагаются к продаже, а носят исключительно информационный характер
Дополнительная информация
×
Название:
Номер:
Примечание: