Вернуться на главную
Поиск
Каталоги запчастей к технике
Сельхозтехника
Lemken
Smaragd 9/600K
Depth limiter K700 D68
Каталог запасных частей к технике: Lemken Smaragd 9/600K. Depth limiter K700 D68
zoom-in
zoom-out
enlarge
shrink
circle-right
circle-left
file-text2
info
cart
Тип техники
Не выбрано
Легковые автомобили
Грузовые автомобили и прицепы
Автобусы
Сельхозтехника
Спецтехника
Двигатели
Мототехника
Марка
Не выбрано
AGCO
Amity
CASE IH
DongFeng
Fortschritt
Foton
Franz Kleine
Gaspardo
Great Plains
KRONE
KUHN
Lemken
Lovol
MacDon
Massey Ferguson
New Holland
TIGARBO
Vaderstad
Versatile
Wirax
Агро
Агротехмаш
Бобруйскагромаш (ОАО «УКХ «Бобруйскагромаш»)
БЭМЗ
ВгТЗ
Воронежсельмаш
ВТЗ
Гомсельмаш
ДКЗ
ЗАО "Техника-сервис"
ЗиД
КЗК
Кировец-Ландтехник
Клевер
Красная Звезда
Лидагропроммаш
Лидсельмаш
ЛТЗ
Машстройхолдинг
Минитракторы
Мордовагромаш
МТЗ
Навигатор-Новое машиностроение
Нефтекамский автозавод
ПТЗ
Ремком
РСМ
Сибсельмаш
ТеКЗ
ТКЗ
ХЗТСШ
ХТЗ
ЮМЗ
Модель
Не выбрано
Achat 9/400 KA (2004)
Achat 9/500 KA (2004)
Achat 9/600 KA (2004)
Azurit 9 (2018)
Dolomit 9 (2010)
EuroDiamant 10 (2010)
EuroDiamant 10 X (2010)
EuroDiamant 8 (2010)
EuroGranat 5 (2006)
EuroGranat 6 (2006)
EuroGranat 7 (2006)
EurOpal 5 (2010)
EurOpal 5HX (2010)
EurOpal 6 (2010)
EurOpal 7 (2010)
EurOpal 7, EurOpal 7HX (2018)
EurOpal 7X (2010)
EurOpal 7X, EurOpal 7 HydriX (2018)
EurOpal 8 (2010)
EurOpal 9 (2010)
EuroTitan 10 (2010)
EuroTitan 10X (2010)
FixPack (2010)
Gigant 1000 (2010)
Gigant 1000 Smaragd (2010)
Gigant 800 (2010)
Gigant 800 S (2010)
Gigant 800 S Rubin (2006)
Gigant 800 Smaragd (2010)
Heliodor 9/600KA (2018)
Heliodor 9/700KA (2018)
Juwel 8M (2018)
Karat 9/600 KA (2016)
Kristall 9/500KA (2016)
Kristall 9/600KA (2016)
OptiDisc 25 (2018)
Primus 10 (Часть 1) (2017)
Primus 10 (Часть 2) (2017)
Quarz 7/250 (2010)
Quarz 7/250 F (2010)
Quarz 7/300 (2010)
Quarz 7/300F (2010)
Quarz 7/400 (2010)
Quarz 7/400F (2010)
Quarz 7/400K (2010)
Quarz 7/400KA (2010)
Quarz 7/500K (2010)
Quarz 7/500KA (2010)
Quarz 7/600K (2010)
Rubin 10/600 KUA (2018)
Rubin 10/700 KUA (2018)
Rubin 12/400 KUA (A) (2018)
Rubin 12/500 KUA (A) (2018)
Rubin 12/600 KUA (A) (2018)
Rubin 12/700 KUA (2018)
Rubin 9/300 U (2004)
Rubin 9/400 U (2004)
Saphir 7/300 (2010)
Saphir 7/400 (2010)
Smaragd 7/260 (2010)
Smaragd 7/300 (2010)
Smaragd 9/300 (2010)
Smaragd 9/400 (2010)
Smaragd 9/400 (2016)
Smaragd 9/400 K (2016)
Smaragd 9/400K (2010)
Smaragd 9/450K (2010)
Smaragd 9/500 K (2016)
Smaragd 9/500K (2004)
Smaragd 9/600 K (2016)
Smaragd 9/600K (2010)
Smaragd 9/600KA (2010)
Solitair 10/600K (2006)
Solitair 12/1000K (2007)
Solitair 12/1200K (2008)
Solitair 12/1200KD (2018)
Solitair 12/5800SW (2018)
Solitair 12/800K (2006)
Solitair 12/900K (2007)
Solitair 8/300 (2004)
Solitair 8/300 (2014)
Solitair 8/400 (2004)
Solitair 9/300 (2004)
Solitair 9/400 (2004)
Solitair 9/400K (2004)
Solitair 9/400KA (2004)
Solitair 9/450K (2004)
Solitair 9/450KA (2004)
Solitair 9/500K (2004)
Solitair 9/500KA (2009)
Solitair 9/600K (2004)
Solitair 9/600KA (2004)
System-Kompaktor Gigant 1000 (2010)
System-Kompaktor Gigant 800 (2010)
System-Kompaktor K450 (2010)
System-Kompaktor K450A (2010)
System-Kompaktor K500 (2010)
System-Kompaktor K500A (2010)
System-Kompaktor K600 (2010)
System-Kompaktor K600A (2010)
System-Kompaktor S300 (2010)
System-Kompaktor S400 (2010)
System-Korund 300 L (2010)
System-Korund 450 L (2010)
System-Korund 600 L (2010)
System-Korund 750 K (750 L) (2010)
System-Korund 900 K (2010)
System-Korund 900 L (2010)
Thorit 8/300 (2005)
Thorit 8/300 Combi-Liner (2004)
Thorit 8/400 (2010)
Thorit 8/400 Combi-Liner (2004)
Thorit 9/400 K (2004)
Thorit 9/400 KA (2003)
Thorit 9/450 K (2004)
Thorit 9/500 K (2004)
Thorit 9/500 KA (2003)
Thorit 9/600 K (2004)
Thorit 9/600 KA (2003)
Topas 140-A (2010)
Vari-Diamant 10 (2004)
Vari-Diamant 10X (2004)
Vari-Opal 100 (2014)
Vari-Opal 100HX (2014)
Vari-Opal 100X (2014)
Vari-Opal 160 (2014)
Vari-Opal X160 (2014)
Vari-Titan 10 (2010)
Vari-Turmalin 10 (2005)
Vari-Turmalin 10X (2005)
Variopack 110DP70 (2010)
Variopack 110DP90 (2010)
Variopack 110EP90 (2010)
Variopack 110FEPK700 (2010)
Variopack 80DP70 (2010)
Variopack S 110DP70 (2010)
VariOpal 5 (2010)
VariOpal 7 (2010)
VariOpal 7X (2010)
VariOpal 8 (2010)
VariOpal 8X (2010)
VariOpal 9 (2010)
VariOpal 9X (2010)
Zirkon 10/300 (2010)
Zirkon 10/400 (2010)
Zirkon 10/400K (2010)
Zirkon 10/450 (2010)
Zirkon 10/450K (2010)
Zirkon 10/450KA (2010)
Zirkon 10/500K (2010)
Zirkon 10/500KA (2010)
Zirkon 10/600KA (2010)
Zirkon 7/250 (2010)
Zirkon 7/300 (2010)
Zirkon 7/400 (2010)
Zirkon 9/300 (2010)
Zirkon 9/400 (2010)
Zirkon 9/600K "B" (2010)
Схема
>
Не выбрано
Smaragd 9/600K
Top link pin KAT3 D31,5x140
Top link pin with chain KAT2GL D25,4/31,7x173
Top link pin with chain KAT3GL D31,7/25,4x173
Top link pin with chain K700 D40/44,5x228
Top link pin with chain KAT3GK700 31,7x228
Carrier, 1 pair 120x2095-80x20 Smaragd 9 KU
Carrier, 1 pair 120x1795-80x20 Smaragd 9 K
Carrier, 1 pair 120x1795-100x20 SM9K-D600
Carrier, 1 pair 120x2095-100x20 SM9UK-D600
Carrier, 1 pair for harrow 120x1795-80x20 SM-9K
Carrier, 1 pair for harrow 120x2095-80x20 Smaragd 9 KU
Carrier 120x1795-60x20 Smaragd 9 K
Carrier 2095 Smaragd 9 KU
Carrier-T for double roller 1795 Smaragd 9 K
Carrier-T for double roller 2095 Smaragd 9 K
Balance bar S9/600 K
Frame for hollow discs 2x SM9/600
Bracket for outer disc RE 80x80 SM9
Bracket for outer disc LI 80x80 SM9
Basic frame Smaragd 9/600-K
Stand 70x2940 Smaragd 9/600 K
Fittings for AHG Smaragd 9
Adapter-inner thread ZPW-SM9/600-K RE+LI
Holder GRW-GR D590-90
Packer roller ZPW D500-3,0m
Tube bar roller D400-300 SM9 K
Tube bar roller D540-300 RE SM9
Tube bar roller D540-300 LI SM9
Tube bar roller D600-300 SM9-K RE
Tube bar roller D600-300 SM9-K LI
Double roller D400-300 RE SM9K
Double roller D400-300 LI SM9K
Double roller D400-300 RE SM9K
Double roller D400-300 LI SM9K
Trapeze packer roller TPW D500-300-24R-125
Packer roller, short scraper ZPW D500-3,0m
Trapeze packer roller TPW D500-300-20R150
Trapeze packer roller TPW D500-300-17R175
Trapeze disc roller TSW D500-300-24R-125
Knife roller MSW D600-300 RE SM9
Knife roller MSW D600-300 LI SM9
Knife roller MSW D600-300 RE SM9
Knife roller MSW D600-300 LI SM9
Double roller D540/400-3.00 RE
Double roller D540/400-3.00 LI
Rubber ring roller GRW D590-300-24R-125
Headstock KAT2+3 Smaragd 9 K
Headstock K700+KAT3 Smaragd 9 K
Headstock A KAT2+3 Smaragd 9K
Headstock K700+KAT3 Smaragd 9K
Headstock A KAT2+3+Hitch Smaragd 9K
Pair of hollow discs 2xD450 Smaragd 9
Hollow disc RE D450 Smaragd 9
Hollow disc LI D450 Smaragd 9
Lower link connection D55/68 L2 Z3
Lower link connection D68/68 L3 Z3
Lower link connection D68/68 L1100 Z58 K700
Lower link connection E55 L2 Z3
Lower link connection E68 L3 Z3
Lower link connection E68 L1100 Z58 K700
Lower link connection E55FH L2 Z3
Lower link connection E68FH L3 Z3
Depth limiter K700 D68
Trip device 100x22-A SM90+9
Trip device 50x18 SM9
Trip device D30G-16 SMARAGD 9
Trip device D30G-20 206-Drehpunkt SM.9
Trip device D30G-20 150-Drehpunkt SM.9
Tine with wing-shares RE 480BR S12D 70x22 D24x875
Tine with wing-shares LI 480BR S12D 70x22 D24x875
Tine with wing-shares MI 480BR S12D 70x22 D24x875
Tine with wing-shares RE 480 S12P/FL37P-G 70x22 D24
Tine with wing-shares LI 480 S12P/FL37P-G 70x22 D24
Tine with wing-shares MI 480 S12P/FL37P-G 70x22 D24
Tine with wing-shares RE 480 S12PK/FL37P-G 70x22 D24
Tine with wing-shares LI 480 S12PK/FL37P-G 70x22 D24
Tine with wing-shares MI 480 S12PK/FL37P-G 70x22 D24
Tine with wing-shares RE 480BR S12D 70x22 D16x795
Tine with wing-shares LI 480BR S12D 70x22 D16x795
Tine with wing-shares MI 480BR S12D 70x22 D16x795
Tine with wing-shares RE 480 S12P/FL37P-G 70x22 D16
Tine with wing-shares LI 480 S12P/FL37P-G 70x22 D16
Tine with wing-shares MI 480 S12P/FL37P-G 70x22 D16
Tine with wing-shares RE 480 S12PK/FL37P-G 70x22 D16
Tine with wing-shares LI 480 S12PK/FL37P-G 70x22 D16
Tine with wing-shares MI 480 S12PK/FL37P-G 70x22 D16
Set of cables Smaragd 9 K
Lighting equipment with boards AL18 HR+HL+VR+VL
Cable set with carrier Smaragd 9/400K 9/600K
Cable set with carrier Smaragd 9-K U
Carrier for light extension 50x15x286
Carrier for light extension GRW 590 60x15x420 60°
Locking device Smaragd 9/500K+600K
Hydraulic locking device Smaragd 9/400K-600K
Adapter-inner thread K700
HY-assembly unlocking device DZ25/18-240 SM9/500+600 K
Hydraulic assembly Smaragd-9 90x450
Conversion-set locking device URS-HY Smaragd 9/500+600 K
Parts for front headstock Smaragd 9 K
Front headstock KAT2 Smaragd 9
Wheel 5/94/140 D14 195R15 D650x198 4PR ET-0
Depth wheel 10.0/80-12 70x30
Depth wheel 195 R15 70x30
Wheel bracket 70x30 Smaragd 9
Wheel bracket 70x30 RE Smaragd 9K
Wheel bracket 70x30 LI Smaragd 9K
Wheel arm RE 70x30 Topas 140
Wheel arm LI 70x30 Topas 140
Levelling type harrow STR80-600
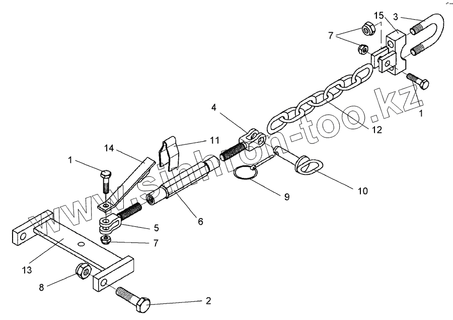
1
1
2
3
4
5
6
7
7
8
9
10
11
12
13
14
15
Позиция на иллюстрации
Заводской номер детали
Название детали
1
301 4602
Bolt
2
301 4661
Bolt
3
301 7825
U-bolt
4
302 8980
Forkpiece
5
302 8981
Forkpiece
6
302 8892
Threaded sleeve
7
303 0936
Selflocking nut
8
303 0937
Selflocking nut
9
311 9565
Securing pin
10
313 8147
Pin with grip
11
329 1792
U-spring
12
331 6584
Chain
13
461 6172
Drawbar
14
461 6173
Holder
15
461 6174
Clamp strap
Содержащиеся в справочниках-каталогах запасные части и детали не предлагаются к продаже, а носят исключительно информационный характер
Дополнительная информация
×
Название:
Номер:
Примечание: