Вернуться на главную
Поиск
Каталоги запчастей к технике
Сельхозтехника
Lemken
Smaragd 9/400K
Carrier 120x1795-60x20 Smaragd 9 K
Каталог запасных частей к технике: Lemken Smaragd 9/400K. Carrier 120x1795-60x20 Smaragd 9 K
zoom-in
zoom-out
enlarge
shrink
circle-right
circle-left
file-text2
info
cart
Тип техники
Не выбрано
Легковые автомобили
Грузовые автомобили и прицепы
Автобусы
Сельхозтехника
Спецтехника
Двигатели
Мототехника
Марка
Не выбрано
AGCO
Amity
CASE IH
DongFeng
Fortschritt
Foton
Franz Kleine
Gaspardo
Great Plains
KRONE
KUHN
Lemken
Lovol
MacDon
Massey Ferguson
New Holland
TIGARBO
Vaderstad
Versatile
Wirax
Агро
Агротехмаш
Бобруйскагромаш (ОАО «УКХ «Бобруйскагромаш»)
БЭМЗ
ВгТЗ
Воронежсельмаш
ВТЗ
Гомсельмаш
ДКЗ
ЗАО "Техника-сервис"
ЗиД
КЗК
Кировец-Ландтехник
Клевер
Красная Звезда
Лидагропроммаш
Лидсельмаш
ЛТЗ
Машстройхолдинг
Минитракторы
Мордовагромаш
МТЗ
Навигатор-Новое машиностроение
Нефтекамский автозавод
ПТЗ
Ремком
РСМ
Сибсельмаш
ТеКЗ
ТКЗ
ХЗТСШ
ХТЗ
ЮМЗ
Модель
Не выбрано
Achat 9/400 KA (2004)
Achat 9/500 KA (2004)
Achat 9/600 KA (2004)
Azurit 9 (2018)
Dolomit 9 (2010)
EuroDiamant 10 (2010)
EuroDiamant 10 X (2010)
EuroDiamant 8 (2010)
EuroGranat 5 (2006)
EuroGranat 6 (2006)
EuroGranat 7 (2006)
EurOpal 5 (2010)
EurOpal 5HX (2010)
EurOpal 6 (2010)
EurOpal 7 (2010)
EurOpal 7, EurOpal 7HX (2018)
EurOpal 7X (2010)
EurOpal 7X, EurOpal 7 HydriX (2018)
EurOpal 8 (2010)
EurOpal 9 (2010)
EuroTitan 10 (2010)
EuroTitan 10X (2010)
FixPack (2010)
Gigant 1000 (2010)
Gigant 1000 Smaragd (2010)
Gigant 800 (2010)
Gigant 800 S (2010)
Gigant 800 S Rubin (2006)
Gigant 800 Smaragd (2010)
Heliodor 9/600KA (2018)
Heliodor 9/700KA (2018)
Juwel 8M (2018)
Karat 9/600 KA (2016)
Kristall 9/500KA (2016)
Kristall 9/600KA (2016)
OptiDisc 25 (2018)
Primus 10 (Часть 1) (2017)
Primus 10 (Часть 2) (2017)
Quarz 7/250 (2010)
Quarz 7/250 F (2010)
Quarz 7/300 (2010)
Quarz 7/300F (2010)
Quarz 7/400 (2010)
Quarz 7/400F (2010)
Quarz 7/400K (2010)
Quarz 7/400KA (2010)
Quarz 7/500K (2010)
Quarz 7/500KA (2010)
Quarz 7/600K (2010)
Rubin 10/600 KUA (2018)
Rubin 10/700 KUA (2018)
Rubin 12/400 KUA (A) (2018)
Rubin 12/500 KUA (A) (2018)
Rubin 12/600 KUA (A) (2018)
Rubin 12/700 KUA (2018)
Rubin 9/300 U (2004)
Rubin 9/400 U (2004)
Saphir 7/300 (2010)
Saphir 7/400 (2010)
Smaragd 7/260 (2010)
Smaragd 7/300 (2010)
Smaragd 9/300 (2010)
Smaragd 9/400 (2010)
Smaragd 9/400 (2016)
Smaragd 9/400 K (2016)
Smaragd 9/400K (2010)
Smaragd 9/450K (2010)
Smaragd 9/500 K (2016)
Smaragd 9/500K (2004)
Smaragd 9/600 K (2016)
Smaragd 9/600K (2010)
Smaragd 9/600KA (2010)
Solitair 10/600K (2006)
Solitair 12/1000K (2007)
Solitair 12/1200K (2008)
Solitair 12/1200KD (2018)
Solitair 12/5800SW (2018)
Solitair 12/800K (2006)
Solitair 12/900K (2007)
Solitair 8/300 (2004)
Solitair 8/300 (2014)
Solitair 8/400 (2004)
Solitair 9/300 (2004)
Solitair 9/400 (2004)
Solitair 9/400K (2004)
Solitair 9/400KA (2004)
Solitair 9/450K (2004)
Solitair 9/450KA (2004)
Solitair 9/500K (2004)
Solitair 9/500KA (2009)
Solitair 9/600K (2004)
Solitair 9/600KA (2004)
System-Kompaktor Gigant 1000 (2010)
System-Kompaktor Gigant 800 (2010)
System-Kompaktor K450 (2010)
System-Kompaktor K450A (2010)
System-Kompaktor K500 (2010)
System-Kompaktor K500A (2010)
System-Kompaktor K600 (2010)
System-Kompaktor K600A (2010)
System-Kompaktor S300 (2010)
System-Kompaktor S400 (2010)
System-Korund 300 L (2010)
System-Korund 450 L (2010)
System-Korund 600 L (2010)
System-Korund 750 K (750 L) (2010)
System-Korund 900 K (2010)
System-Korund 900 L (2010)
Thorit 8/300 (2005)
Thorit 8/300 Combi-Liner (2004)
Thorit 8/400 (2010)
Thorit 8/400 Combi-Liner (2004)
Thorit 9/400 K (2004)
Thorit 9/400 KA (2003)
Thorit 9/450 K (2004)
Thorit 9/500 K (2004)
Thorit 9/500 KA (2003)
Thorit 9/600 K (2004)
Thorit 9/600 KA (2003)
Topas 140-A (2010)
Vari-Diamant 10 (2004)
Vari-Diamant 10X (2004)
Vari-Opal 100 (2014)
Vari-Opal 100HX (2014)
Vari-Opal 100X (2014)
Vari-Opal 160 (2014)
Vari-Opal X160 (2014)
Vari-Titan 10 (2010)
Vari-Turmalin 10 (2005)
Vari-Turmalin 10X (2005)
Variopack 110DP70 (2010)
Variopack 110DP90 (2010)
Variopack 110EP90 (2010)
Variopack 110FEPK700 (2010)
Variopack 80DP70 (2010)
Variopack S 110DP70 (2010)
VariOpal 5 (2010)
VariOpal 7 (2010)
VariOpal 7X (2010)
VariOpal 8 (2010)
VariOpal 8X (2010)
VariOpal 9 (2010)
VariOpal 9X (2010)
Zirkon 10/300 (2010)
Zirkon 10/400 (2010)
Zirkon 10/400K (2010)
Zirkon 10/450 (2010)
Zirkon 10/450K (2010)
Zirkon 10/450KA (2010)
Zirkon 10/500K (2010)
Zirkon 10/500KA (2010)
Zirkon 10/600KA (2010)
Zirkon 7/250 (2010)
Zirkon 7/300 (2010)
Zirkon 7/400 (2010)
Zirkon 9/300 (2010)
Zirkon 9/400 (2010)
Zirkon 9/600K "B" (2010)
Схема
>
Не выбрано
Smaragd 9/400K
Top link pin KAT3 D31,5x140
Top link pin with chain KAT2GL D25,4/31,7x173
Top link pin with chain KAT3GL D31,7/25,4x173
Top link pin with chain K700 D40/44,5x228
Top link pin with chain KAT3GK700 31,7x228
Carrier, 1 pair 120x2095-80x20 Smaragd 9 KU
Carrier, 1 pair 120x1795-80x20 Smaragd 9 K
Carrier, 1 pair 120x1795-100x20 SM9K-D600
Carrier, 1 pair 120x2095-100x20 SM9UK-D600
Carrier, 1 pair for harrow 120x1795-80x20 SM-9K
Carrier, 1 pair for harrow 120x2095-80x20 Smaragd 9 KU
Carrier 1795 Smaragd 9/400 K
Carrier 2095 Smaragd 9/400 KU
Carrier 120x1795-60x20 Smaragd 9 K
Carrier 2095 Smaragd 9 KU
Carrier-T for double roller 1795 Smaragd 9 K
Carrier-T for double roller 2095 Smaragd 9 K
Frame for hollow discs 2x SM9/400
Bracket for outer disc RE 80x80 SM9
Bracket for outer disc LI 80x80 SM9
Basic frame Smaragd 9/400-K
Stand 70x1940 Smaragd 9/400 K
Fittings for AHG Smaragd 9
Adapter-inner thread ZPW-SM9/400 RE+LI
Holder GRW-GR D590-90
Levelling type harrow STR80-400 S+K
Tube bar roller D540-200 RE SM9
Tube bar roller D540-200 LI SM9
Tube bar roller D400-200 SM9
Tube bar roller D600-200 SM9 RE
Tube bar roller D600-200 SM9 LI
Double roller D400-200 RE SM9
Double roller D400-200 LI SM9
Double roller D400-200 RE SM9
Double roller D400-200 LI SM9
Packer roller ZPW D500-2,0m
Trapeze packer roller TPW D500-200-16R125
Packer roller, short scraper ZPW D500-2,0m
Trapeze packer roller TPW D500-200-13R150
Trapeze packer roller TPW D500-200-14R150
Trapeze packer roller TPW D500-200-11R175
Trapeze packer roller TPW D500-200-12R175
Trapeze disc roller TSW D500-200-16R-125
Knife roller MSW D600-200 RE SM9
Knife roller MSW D600-200 LI SM9
Knife roller MSW D600-200 RE SM9
Knife roller MSW D600-200 LI SM9
Double roller D540/400-2.00 RE
Double roller D540/400-2.00 LI
Rubber ring roller GRW D590-200-16R-125
Trip device 100x22-A SM90+9
Trip device D30G-20 206-Drehpunkt SM.9
Trip device D30G-20 150-Drehpunkt SM.9
Trip device 50x18 SM9
Headstock KAT2+3 Smaragd 9 K
Headstock K700 + KAT3 Smaragd 9 K
Headstock A KAT2+3 Smaragd 9K
Headstock K700+KAT3 Smaragd 9K
Headstock A KAT2+3 +Hitch Smaragd 9K
Pair of hollow discs 2xD450 Smaragd 9
Hollow disc RE D450 Smaragd 9
Hollow disc LI D450 Smaragd 9
Lower link connection D55/68 L2 Z3
Lower link connection D68/68 L3 Z3
Lower link connection D68/68 L1100 Z58 K700
Lower link connection E55 L2 Z3
Lower link connection E68 L3 Z3
Lower link connection E68 L1100 Z58 K700
Lower link connection E55FH L2 Z3
Lower link connection E68FH L3 Z3
Depth limiter K700 D68
Tools Smaragd 9/400-500
Set of cables Smaragd 9 K
Lighting equipment with boards AL18 HR+HL+VR+VL
Cable set with carrier Smaragd 9/450K 9/500K
Cable set with carrier Smaragd 9-K U
Carrier for light extension 50x15x286
Carrier for light extension GRW 590 60x15x420 60°
Locking device Smaragd 9/400 K
Hydraulic locking device Smaragd 9/400K-600K
Adapter-inner thread K700
Hydraulic assembly Smaragd-9 80x320
HY-assembly unlocking device DZ25/18-240 Smaragd 9/400 K
Conversion-set locking device URS-HY Smaragd 9/400 K
Parts for front headstock Smaragd 9 K
Front headstock KAT2 Smaragd 9
Wheel 5/94/140 D14 195R15 D650x198 4PR ET-0
Depth wheel 10.0/80-12 70x30
Depth wheel 195 R15 70x30
Wheel bracket 70x30 Smaragd 9
Wheel bracket 70x30 RE Smaragd 9K
Wheel bracket 70x30 LI Smaragd 9K
Wheel arm RE 70x30 Topas 140
Wheel arm LI 70x30 Topas 140
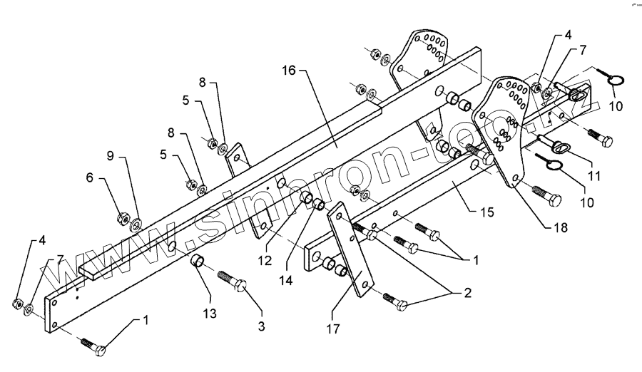
1
1
2
3
4
4
5
5
6
7
7
8
8
9
10
10
11
12
13
14
15
16
17
18
Позиция на иллюстрации
Заводской номер детали
Название детали
1
301 3870
Bolt
2
301 4602
Bolt
3
301 5392
Bolt
4
303 0935
Selflocking nut
5
303 0936
Selflocking nut
6
303 0937
Selflocking nut
7
305 6155
Washer
8
305 6164
Washer
9
305 6274
Washer
10
311 9565
Securing pin
11
313 8140
Pin with grip
12
317 3352
Expansion bush
13
317 3407
Expansion bush
14
317 6657
Bush
15
417 8097
Carrier
16
417 8122
Carrier
17
417 8110
Link
18
417 8111
Adjuster plate
Содержащиеся в справочниках-каталогах запасные части и детали не предлагаются к продаже, а носят исключительно информационный характер
Дополнительная информация
×
Название:
Номер:
Примечание: