Вернуться на главную
Поиск
Каталоги запчастей к технике
Сельхозтехника
Lemken
Smaragd 9/400
617 8109 Carrier
Каталог запасных частей к технике: Lemken Smaragd 9/400. 617 8109 Carrier
zoom-in
zoom-out
enlarge
shrink
circle-right
circle-left
file-text2
info
cart
Тип техники
Не выбрано
Легковые автомобили
Грузовые автомобили и прицепы
Автобусы
Сельхозтехника
Спецтехника
Двигатели
Мототехника
Марка
Не выбрано
AGCO
Amity
CASE IH
DongFeng
Fortschritt
Foton
Franz Kleine
Gaspardo
Great Plains
KRONE
KUHN
Lemken
Lovol
MacDon
Massey Ferguson
New Holland
TIGARBO
Vaderstad
Versatile
Wirax
Агро
Агротехмаш
Бобруйскагромаш (ОАО «УКХ «Бобруйскагромаш»)
БЭМЗ
ВгТЗ
Воронежсельмаш
ВТЗ
Гомсельмаш
ДКЗ
ЗАО "Техника-сервис"
ЗиД
КЗК
Кировец-Ландтехник
Клевер
Красная Звезда
Лидагропроммаш
Лидсельмаш
ЛТЗ
Машстройхолдинг
Минитракторы
Мордовагромаш
МТЗ
Навигатор-Новое машиностроение
Нефтекамский автозавод
ПТЗ
Ремком
РСМ
Сибсельмаш
ТеКЗ
ТКЗ
ХЗТСШ
ХТЗ
ЮМЗ
Модель
Не выбрано
Achat 9/400 KA (2004)
Achat 9/500 KA (2004)
Achat 9/600 KA (2004)
Azurit 9 (2018)
Dolomit 9 (2010)
EuroDiamant 10 (2010)
EuroDiamant 10 X (2010)
EuroDiamant 8 (2010)
EuroGranat 5 (2006)
EuroGranat 6 (2006)
EuroGranat 7 (2006)
EurOpal 5 (2010)
EurOpal 5HX (2010)
EurOpal 6 (2010)
EurOpal 7 (2010)
EurOpal 7, EurOpal 7HX (2018)
EurOpal 7X (2010)
EurOpal 7X, EurOpal 7 HydriX (2018)
EurOpal 8 (2010)
EurOpal 9 (2010)
EuroTitan 10 (2010)
EuroTitan 10X (2010)
FixPack (2010)
Gigant 1000 (2010)
Gigant 1000 Smaragd (2010)
Gigant 800 (2010)
Gigant 800 S (2010)
Gigant 800 S Rubin (2006)
Gigant 800 Smaragd (2010)
Heliodor 9/600KA (2018)
Heliodor 9/700KA (2018)
Juwel 8M (2018)
Karat 9/600 KA (2016)
Kristall 9/500KA (2016)
Kristall 9/600KA (2016)
OptiDisc 25 (2018)
Primus 10 (Часть 1) (2017)
Primus 10 (Часть 2) (2017)
Quarz 7/250 (2010)
Quarz 7/250 F (2010)
Quarz 7/300 (2010)
Quarz 7/300F (2010)
Quarz 7/400 (2010)
Quarz 7/400F (2010)
Quarz 7/400K (2010)
Quarz 7/400KA (2010)
Quarz 7/500K (2010)
Quarz 7/500KA (2010)
Quarz 7/600K (2010)
Rubin 10/600 KUA (2018)
Rubin 10/700 KUA (2018)
Rubin 12/400 KUA (A) (2018)
Rubin 12/500 KUA (A) (2018)
Rubin 12/600 KUA (A) (2018)
Rubin 12/700 KUA (2018)
Rubin 9/300 U (2004)
Rubin 9/400 U (2004)
Saphir 7/300 (2010)
Saphir 7/400 (2010)
Smaragd 7/260 (2010)
Smaragd 7/300 (2010)
Smaragd 9/300 (2010)
Smaragd 9/400 (2010)
Smaragd 9/400 (2016)
Smaragd 9/400 K (2016)
Smaragd 9/400K (2010)
Smaragd 9/450K (2010)
Smaragd 9/500 K (2016)
Smaragd 9/500K (2004)
Smaragd 9/600 K (2016)
Smaragd 9/600K (2010)
Smaragd 9/600KA (2010)
Solitair 10/600K (2006)
Solitair 12/1000K (2007)
Solitair 12/1200K (2008)
Solitair 12/1200KD (2018)
Solitair 12/5800SW (2018)
Solitair 12/800K (2006)
Solitair 12/900K (2007)
Solitair 8/300 (2004)
Solitair 8/300 (2014)
Solitair 8/400 (2004)
Solitair 9/300 (2004)
Solitair 9/400 (2004)
Solitair 9/400K (2004)
Solitair 9/400KA (2004)
Solitair 9/450K (2004)
Solitair 9/450KA (2004)
Solitair 9/500K (2004)
Solitair 9/500KA (2009)
Solitair 9/600K (2004)
Solitair 9/600KA (2004)
System-Kompaktor Gigant 1000 (2010)
System-Kompaktor Gigant 800 (2010)
System-Kompaktor K450 (2010)
System-Kompaktor K450A (2010)
System-Kompaktor K500 (2010)
System-Kompaktor K500A (2010)
System-Kompaktor K600 (2010)
System-Kompaktor K600A (2010)
System-Kompaktor S300 (2010)
System-Kompaktor S400 (2010)
System-Korund 300 L (2010)
System-Korund 450 L (2010)
System-Korund 600 L (2010)
System-Korund 750 K (750 L) (2010)
System-Korund 900 K (2010)
System-Korund 900 L (2010)
Thorit 8/300 (2005)
Thorit 8/300 Combi-Liner (2004)
Thorit 8/400 (2010)
Thorit 8/400 Combi-Liner (2004)
Thorit 9/400 K (2004)
Thorit 9/400 KA (2003)
Thorit 9/450 K (2004)
Thorit 9/500 K (2004)
Thorit 9/500 KA (2003)
Thorit 9/600 K (2004)
Thorit 9/600 KA (2003)
Topas 140-A (2010)
Vari-Diamant 10 (2004)
Vari-Diamant 10X (2004)
Vari-Opal 100 (2014)
Vari-Opal 100HX (2014)
Vari-Opal 100X (2014)
Vari-Opal 160 (2014)
Vari-Opal X160 (2014)
Vari-Titan 10 (2010)
Vari-Turmalin 10 (2005)
Vari-Turmalin 10X (2005)
Variopack 110DP70 (2010)
Variopack 110DP90 (2010)
Variopack 110EP90 (2010)
Variopack 110FEPK700 (2010)
Variopack 80DP70 (2010)
Variopack S 110DP70 (2010)
VariOpal 5 (2010)
VariOpal 7 (2010)
VariOpal 7X (2010)
VariOpal 8 (2010)
VariOpal 8X (2010)
VariOpal 9 (2010)
VariOpal 9X (2010)
Zirkon 10/300 (2010)
Zirkon 10/400 (2010)
Zirkon 10/400K (2010)
Zirkon 10/450 (2010)
Zirkon 10/450K (2010)
Zirkon 10/450KA (2010)
Zirkon 10/500K (2010)
Zirkon 10/500KA (2010)
Zirkon 10/600KA (2010)
Zirkon 7/250 (2010)
Zirkon 7/300 (2010)
Zirkon 7/400 (2010)
Zirkon 9/300 (2010)
Zirkon 9/400 (2010)
Zirkon 9/600K "B" (2010)
Схема
>
Не выбрано
313 7913 Contents
313 7913 Top link pin with chain
313 7923 Top link pin with chain
313 7927 Top link pin with chain
313 7929 Top link pin with chain
617 8087 Carrier
617 8088 Carrier for double roller
617 8100 Carrier
617 8101 Carrier
617 8104 Carrier for double roller
617 8105 Carrier for double roller
617 8108 Carrier for double roller
617 8109 Carrier
617 8156 Frame for hollow discs
617 8204 Basic frame
690 1201 Package parts
690 1204 Package parts
617 8182 Adapter
622 0150 Holder
622 0152 Holder
622 0184 Holder
622 0188 Holder
622 1036 Stabilizer
640 5416 Headstock
640 5218 Headstock
661 6160 Depth limiter
640 8353 Parts for front headstock
640 8355 Front headstock
321 6964 Eccentric lever
622 6382 Levelling type harrow
622 6604 Tube bar roller
622 6605 Tube bar roller
622 6612 Tube bar roller
622 6622 Tube bar roller
622 6623 Tube bar roller
622 6650 Nockenring roller
622 6651 Nockenring roller
622 6720 Toothed packer roller
622 6736 Trapeze packer roller
622 6741 Packer roller, short scraper
622 6748 Trapeze packer roller
622 6749 Trapeze packer roller
622 6755 Trapeze packer roller
622 6756 Trapeze packer roller
622 6763 Trapeze disc roller
622 6777 Trapeze disc roller
622 6804 Knife roller
622 6805 Knife roller
622 6814 Knife roller
622 6815 Knife roller
622 6884 Knife roller
622 6885 Knife roller
622 6914 Knife roller
622 6915 Knife roller
622 7430 Toothed packer roller
622 7434 Packer roller, short scraper
622 7440 Trapeze packer roller
622 7444 Trapeze packer roller
622 7445 Trapeze packer roller
622 7464 Double profile roller
622 7465 Double profile roller
622 7530 Packer roller
622 7534 Packer roller
622 6684 Double roller
622 6685 Double roller
622 6702 Double roller
622 6703 Double roller
622 6852 Double roller
622 6853 Double roller
622 6870 Rubber ring roller
622 7252 Tube bar roller
622 7262 Tube bar roller
622 7263 Tube bar roller
622 7278 Tube bar roller
622 7279 Tube bar roller
622 7308 Double roller
622 7309 Double roller
622 7358 Double roller
622 7359 Double roller
622 7394 Double profile roller
622 7395 Double profile roller
622 8308 Double roller
622 8309 Double roller
627 5687 Overload safety device
627 5695 Overload safety device
627 5726 Overload safety device
627 5728 Overload safety device
657 2418 Pair of hollow discs
657 2420 Concave disc
657 2421 Concave disc
657 2424 Bracket for outer disc
657 2425 Bracket for outer disc
661 1385 Lower link connection
661 1386 Lower link connection
661 1387 Lower link connection
661 1388 Lower link connection
661 1389 Lower link connection
661 1390 Lower link connection
661 1391 Lower link connection
661 1392 Lower link connection
661 1393 Lower link connection
661 1401 Lower link connection
661 1402 Lower link connection
661 1405 Lower link connection
661 1406 Lower link connection
549 8849 Wheel 5/94/140 D14
549 8858 Wheel 5/94/140 D14
549 8859 Wheel 5/94/140 D14
549 8893 Bearing
647 2520 Depth wheel
647 2521 Depth wheel
647 7473 Wheel bracket
647 7478 Wheel bracket
647 7524 Wheel arm
647 7525 Wheel arm
670 1644 Carrier for light
670 1710 Lateral warning board
670 2011 Warning boards with lighting
699 0704 Tools
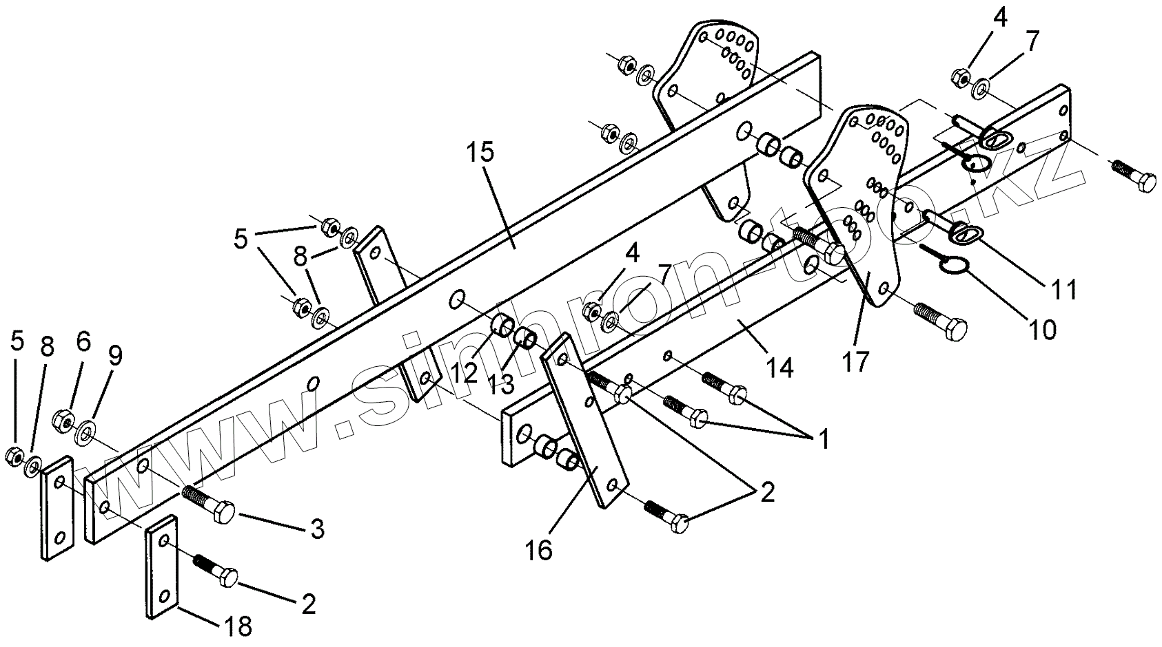
1
2
2
3
4
4
5
5
6
7
7
8
8
9
10
11
12
13
14
15
16
17
18
Позиция на иллюстрации
Заводской номер детали
Название детали
1
301 3870
Bolt
2
301 4603
Hexagon bolt
3
301 4692
Hexagon bolt
4
303 0935
Selflocking nut
5
303 0936
Selflocking nut
6
303 0937
Selflocking nut
7
305 6161
Washer
8
305 6012
Washer
9
305 6252
Washer
10
311 9565
Securing pin
11
313 8152
Pin with grip, yellow
12
317 3352
Expansion bush
13
317 6657
Bush
14
417 8099
Carrier
15
417 8101
Carrier
16
417 8110
Link
17
417 8111
Adjuster plate
18
459 1163
Clamp plate
Содержащиеся в справочниках-каталогах запасные части и детали не предлагаются к продаже, а носят исключительно информационный характер
Дополнительная информация
×
Название:
Номер:
Примечание: