Вернуться на главную
Поиск
Каталоги запчастей к технике
Сельхозтехника
Lemken
Smaragd 9/400
Hollow disc LI D450 Smaragd 9
Каталог запасных частей к технике: Lemken Smaragd 9/400. Hollow disc LI D450 Smaragd 9
zoom-in
zoom-out
enlarge
shrink
circle-right
circle-left
file-text2
info
cart
Тип техники
Не выбрано
Легковые автомобили
Грузовые автомобили и прицепы
Автобусы
Сельхозтехника
Спецтехника
Двигатели
Мототехника
Марка
Не выбрано
AGCO
Amity
CASE IH
DongFeng
Fortschritt
Foton
Franz Kleine
Gaspardo
Great Plains
KRONE
KUHN
Lemken
Lovol
MacDon
Massey Ferguson
New Holland
TIGARBO
Vaderstad
Versatile
Wirax
Агро
Агротехмаш
Бобруйскагромаш (ОАО «УКХ «Бобруйскагромаш»)
БЭМЗ
ВгТЗ
Воронежсельмаш
ВТЗ
Гомсельмаш
ДКЗ
ЗАО "Техника-сервис"
ЗиД
КЗК
Кировец-Ландтехник
Клевер
Красная Звезда
Лидагропроммаш
Лидсельмаш
ЛТЗ
Машстройхолдинг
Минитракторы
Мордовагромаш
МТЗ
Навигатор-Новое машиностроение
Нефтекамский автозавод
ПТЗ
Ремком
РСМ
Сибсельмаш
ТеКЗ
ТКЗ
ХЗТСШ
ХТЗ
ЮМЗ
Модель
Не выбрано
Achat 9/400 KA (2004)
Achat 9/500 KA (2004)
Achat 9/600 KA (2004)
Azurit 9 (2018)
Dolomit 9 (2010)
EuroDiamant 10 (2010)
EuroDiamant 10 X (2010)
EuroDiamant 8 (2010)
EuroGranat 5 (2006)
EuroGranat 6 (2006)
EuroGranat 7 (2006)
EurOpal 5 (2010)
EurOpal 5HX (2010)
EurOpal 6 (2010)
EurOpal 7 (2010)
EurOpal 7, EurOpal 7HX (2018)
EurOpal 7X (2010)
EurOpal 7X, EurOpal 7 HydriX (2018)
EurOpal 8 (2010)
EurOpal 9 (2010)
EuroTitan 10 (2010)
EuroTitan 10X (2010)
FixPack (2010)
Gigant 1000 (2010)
Gigant 1000 Smaragd (2010)
Gigant 800 (2010)
Gigant 800 S (2010)
Gigant 800 S Rubin (2006)
Gigant 800 Smaragd (2010)
Heliodor 9/600KA (2018)
Heliodor 9/700KA (2018)
Juwel 8M (2018)
Karat 9/600 KA (2016)
Kristall 9/500KA (2016)
Kristall 9/600KA (2016)
OptiDisc 25 (2018)
Primus 10 (Часть 1) (2017)
Primus 10 (Часть 2) (2017)
Quarz 7/250 (2010)
Quarz 7/250 F (2010)
Quarz 7/300 (2010)
Quarz 7/300F (2010)
Quarz 7/400 (2010)
Quarz 7/400F (2010)
Quarz 7/400K (2010)
Quarz 7/400KA (2010)
Quarz 7/500K (2010)
Quarz 7/500KA (2010)
Quarz 7/600K (2010)
Rubin 10/600 KUA (2018)
Rubin 10/700 KUA (2018)
Rubin 12/400 KUA (A) (2018)
Rubin 12/500 KUA (A) (2018)
Rubin 12/600 KUA (A) (2018)
Rubin 12/700 KUA (2018)
Rubin 9/300 U (2004)
Rubin 9/400 U (2004)
Saphir 7/300 (2010)
Saphir 7/400 (2010)
Smaragd 7/260 (2010)
Smaragd 7/300 (2010)
Smaragd 9/300 (2010)
Smaragd 9/400 (2010)
Smaragd 9/400 (2016)
Smaragd 9/400 K (2016)
Smaragd 9/400K (2010)
Smaragd 9/450K (2010)
Smaragd 9/500 K (2016)
Smaragd 9/500K (2004)
Smaragd 9/600 K (2016)
Smaragd 9/600K (2010)
Smaragd 9/600KA (2010)
Solitair 10/600K (2006)
Solitair 12/1000K (2007)
Solitair 12/1200K (2008)
Solitair 12/1200KD (2018)
Solitair 12/5800SW (2018)
Solitair 12/800K (2006)
Solitair 12/900K (2007)
Solitair 8/300 (2004)
Solitair 8/300 (2014)
Solitair 8/400 (2004)
Solitair 9/300 (2004)
Solitair 9/400 (2004)
Solitair 9/400K (2004)
Solitair 9/400KA (2004)
Solitair 9/450K (2004)
Solitair 9/450KA (2004)
Solitair 9/500K (2004)
Solitair 9/500KA (2009)
Solitair 9/600K (2004)
Solitair 9/600KA (2004)
System-Kompaktor Gigant 1000 (2010)
System-Kompaktor Gigant 800 (2010)
System-Kompaktor K450 (2010)
System-Kompaktor K450A (2010)
System-Kompaktor K500 (2010)
System-Kompaktor K500A (2010)
System-Kompaktor K600 (2010)
System-Kompaktor K600A (2010)
System-Kompaktor S300 (2010)
System-Kompaktor S400 (2010)
System-Korund 300 L (2010)
System-Korund 450 L (2010)
System-Korund 600 L (2010)
System-Korund 750 K (750 L) (2010)
System-Korund 900 K (2010)
System-Korund 900 L (2010)
Thorit 8/300 (2005)
Thorit 8/300 Combi-Liner (2004)
Thorit 8/400 (2010)
Thorit 8/400 Combi-Liner (2004)
Thorit 9/400 K (2004)
Thorit 9/400 KA (2003)
Thorit 9/450 K (2004)
Thorit 9/500 K (2004)
Thorit 9/500 KA (2003)
Thorit 9/600 K (2004)
Thorit 9/600 KA (2003)
Topas 140-A (2010)
Vari-Diamant 10 (2004)
Vari-Diamant 10X (2004)
Vari-Opal 100 (2014)
Vari-Opal 100HX (2014)
Vari-Opal 100X (2014)
Vari-Opal 160 (2014)
Vari-Opal X160 (2014)
Vari-Titan 10 (2010)
Vari-Turmalin 10 (2005)
Vari-Turmalin 10X (2005)
Variopack 110DP70 (2010)
Variopack 110DP90 (2010)
Variopack 110EP90 (2010)
Variopack 110FEPK700 (2010)
Variopack 80DP70 (2010)
Variopack S 110DP70 (2010)
VariOpal 5 (2010)
VariOpal 7 (2010)
VariOpal 7X (2010)
VariOpal 8 (2010)
VariOpal 8X (2010)
VariOpal 9 (2010)
VariOpal 9X (2010)
Zirkon 10/300 (2010)
Zirkon 10/400 (2010)
Zirkon 10/400K (2010)
Zirkon 10/450 (2010)
Zirkon 10/450K (2010)
Zirkon 10/450KA (2010)
Zirkon 10/500K (2010)
Zirkon 10/500KA (2010)
Zirkon 10/600KA (2010)
Zirkon 7/250 (2010)
Zirkon 7/300 (2010)
Zirkon 7/400 (2010)
Zirkon 9/300 (2010)
Zirkon 9/400 (2010)
Zirkon 9/600K "B" (2010)
Схема
>
Не выбрано
Smaragd 9/400
Top link pin with chain KAT2GL D25,4/31,7x173
Top link pin with chain KAT3GL D31,7/25,4x173
Top link pin with chain K700 D40/44,5x228
Top link pin with chain KAT3GK700 31,7x228
Carrier 120x20x1495-80x20 SM9
Carrier 120x20x1795-80x20 SM9 U
Carrier for double roller 120x20x1495-100x20 SM9
Carrier for double roller 120x20x1795-100x20 SM9 U
Frame for hollow discs 2x SM9/400
Bracket for outer disc RE 80x80 SM9
Bracket for outer disc LI 80x80 SM9
Basic frame Smaragd 9/400-S
Adapter-inner thread ZPW-SM9/400 RE+LI
Tube bar roller D540-200 RE SM9
Tube bar roller D540-200 LI SM9
Tube bar roller D400-200 SM9
Nockenring roller D450-200 RE SM9
Nockenring roller D450-200 LI SM9
Packer roller ZPW D500-2,0m
Packer roller, short scraper ZPW D500-2,0m
Knife roller MSW D600-200 RE SM9
Knife roller MSW D600-200 LI SM9
Double roller D400-200 RE SM9
Double roller D400-200 LI SM9
Double roller D400-200 RE SM9
Double roller D400-200 LI SM9
Converison set D30G20 SMARAGD 9
Trip device 100x22-A SM90+9
Trip device D30G-16 SMARAGD 9
Trip device D30G-20 206-Drehpunkt SM.9
Trip device 50x18 SM9
Headstock Smaragd9/300+9/400 KAT2+3
Headstock Smaragd 9/400 K700+KAT3
Pair of hollow discs 2xD450 Smaragd 9
Hollow disc RE D450 Smaragd 9
Hollow disc LI D450 Smaragd 9
Lower link connection E55 L2 Z2
Lower link connection E55 L2 Z3
Lower link connection E55 L3 Z2
Lower link connection E68 L3 Z3
Lower link connection E68 L1100 Z58 K700
Lower link connection E55F L2 Z2
Lower link connection E55F L2 Z3
Lower link connection E55F L3 Z2
Lower link connection E68F L3 Z3
Lower link connection E55FH L2 Z2
Lower link connection E55FH L3 Z2
Lower link connection E55FH L2 Z3
Lower link connection E68FH L3 Z3
Depth limiter K700 D68
Tine F20 70x22x935 D24 H830
Tine F24 70x22x935 D24 H830
Tine F20 70x22x880 D16 H830
Tine F24 70x22x880 D16 H830
Tine with leg protection F20 70x22x880-HM D16 H830
Tine with leg protection F24 70x22x880-HM D16 H830
Tine with leg protection F20 70x22x935-HM D24 H830
Tine with leg protection F24 70x22x935-HM D24 H830
Tine with wing-shares RE 480BR S12D 70x22 D24x875
Tine with wing-shares LI 480BR S12D 70x22 D24x875
Tine with wing-shares MI 480BR S12D 70x22 D24x875
Tine with wing-shares RE 480BR S12D 70x22 D16x795
Tine with wing-shares LI 480BR S12D 70x22 D16x795
Tine with wing-shares MI 480BR S12D 70x22 D16x795
Tine with wing-shares RE 480 S12P/FL37P-G 70x22 D16
Tine with wing-shares LI 480 S12P/FL37P-G 70x22 D16
Tine with wing-shares MI 480 S12P/FL37P-G 70x22 D16
Tine with wing-shares RE 480 S12PK/FL37P-G 70x22 D16
Tine with wing-shares LI 480 S12PK/FL37P-G 70x22 D16
Tine with wing-shares MI 480 S12PK/FL37P-G 70x22 D16
Tine with wing-shares RE 480 S12PK/FL37D-G 70x22 D16
Tine with wing-shares LI 480 S12PK/FL37D-G 70x22 D16
Tine with wing-shares MI 480 S12PK/FL37D-G 70x22 D16
Tine with wing-shares RE 450 S12P/FL35D-G 70x22 D16
Tine with wing-shares LI 450 S12P/FL35D-G 70x22 D16
Tine with wing-shares MI 450 S12P/FL35D-G 70x22 D16
Carrier for light LH 16
Lighting equipment with boards HVR+HVL5m
Parts for front headstock Smaragd 9 S
Front headstock KAT2 Smaragd 9
Depth wheel 10.0/80-12 70x30
Depth wheel 195 R15 70x30
Wheel bracket 70x30 Smaragd 9
Wheel bracket 70x30 Smaragd 9S
Wheel arm RE 70x30 Topas 140
Wheel arm LI 70x30 Topas 140
Carrier for double roller 120x20x1495-100x20 SM9+STR
Carrier 120x20x1795-100x20 SM9U+STR
Levelling type harrow STR80-400 S+K
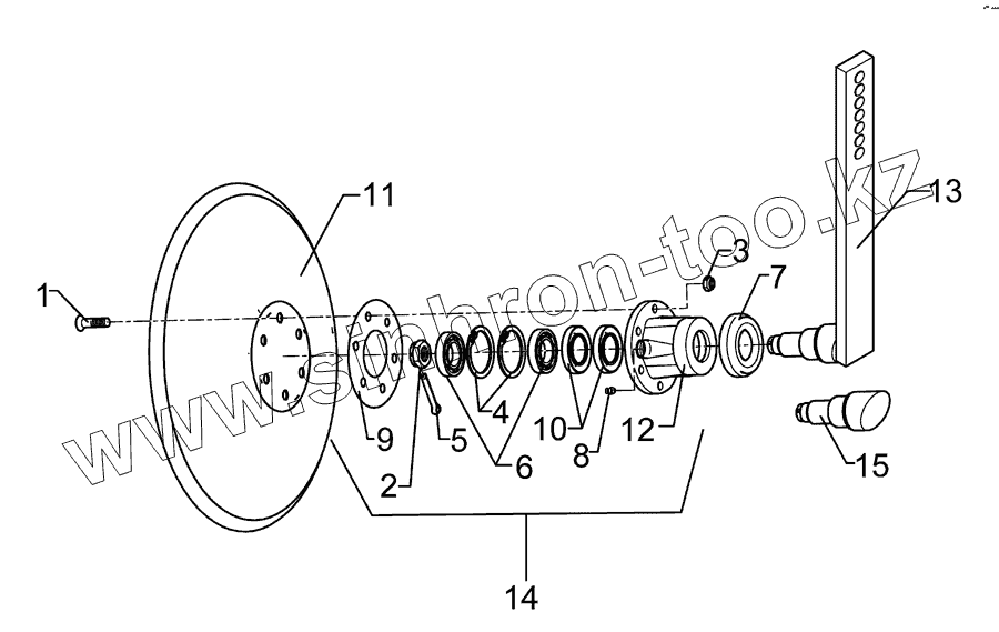
1
2
3
4
5
6
7
8
9
10
11
12
13
14
15
Позиция на иллюстрации
Заводской номер детали
Название детали
1
301 6123
Countersunk bolt
2
303 0193
Castle nut
3
303 0933
Selflocking nut
4
305 8924
Securing ring
5
311 7613
Peg
6
319 9116
Bearing
7
323 0410
Cap
8
323 6345
Grease nipple
9
323 7641
Seal
10
323 8032
Oil seal
11
349 0458
Hollow disc
12
447 8882
Hub
13
457 2421
Disc carrier
14
547 8883
Bearing
15
215 1636
Axle
Содержащиеся в справочниках-каталогах запасные части и детали не предлагаются к продаже, а носят исключительно информационный характер
Дополнительная информация
×
Название:
Номер:
Примечание: