Вернуться на главную
Поиск
Каталоги запчастей к технике
Сельхозтехника
Lemken
Saphir 7/400
Conversion-set lift limiter AHG-HB
Каталог запасных частей к технике: Lemken Saphir 7/400. Conversion-set lift limiter AHG-HB
zoom-in
zoom-out
enlarge
shrink
circle-right
circle-left
file-text2
info
cart
Тип техники
Не выбрано
Легковые автомобили
Грузовые автомобили и прицепы
Автобусы
Сельхозтехника
Спецтехника
Двигатели
Мототехника
Марка
Не выбрано
AGCO
Amity
CASE IH
DongFeng
Fortschritt
Foton
Franz Kleine
Gaspardo
Great Plains
KRONE
KUHN
Lemken
Lovol
MacDon
Massey Ferguson
New Holland
TIGARBO
Vaderstad
Versatile
Wirax
Агро
Агротехмаш
Бобруйскагромаш (ОАО «УКХ «Бобруйскагромаш»)
БЭМЗ
ВгТЗ
Воронежсельмаш
ВТЗ
Гомсельмаш
ДКЗ
ЗАО "Техника-сервис"
ЗиД
КЗК
Кировец-Ландтехник
Клевер
Красная Звезда
Лидагропроммаш
Лидсельмаш
ЛТЗ
Машстройхолдинг
Минитракторы
Мордовагромаш
МТЗ
Навигатор-Новое машиностроение
Нефтекамский автозавод
ПТЗ
Ремком
РСМ
Сибсельмаш
ТеКЗ
ТКЗ
ХЗТСШ
ХТЗ
ЮМЗ
Модель
Не выбрано
Achat 9/400 KA (2004)
Achat 9/500 KA (2004)
Achat 9/600 KA (2004)
Azurit 9 (2018)
Dolomit 9 (2010)
EuroDiamant 10 (2010)
EuroDiamant 10 X (2010)
EuroDiamant 8 (2010)
EuroGranat 5 (2006)
EuroGranat 6 (2006)
EuroGranat 7 (2006)
EurOpal 5 (2010)
EurOpal 5HX (2010)
EurOpal 6 (2010)
EurOpal 7 (2010)
EurOpal 7, EurOpal 7HX (2018)
EurOpal 7X (2010)
EurOpal 7X, EurOpal 7 HydriX (2018)
EurOpal 8 (2010)
EurOpal 9 (2010)
EuroTitan 10 (2010)
EuroTitan 10X (2010)
FixPack (2010)
Gigant 1000 (2010)
Gigant 1000 Smaragd (2010)
Gigant 800 (2010)
Gigant 800 S (2010)
Gigant 800 S Rubin (2006)
Gigant 800 Smaragd (2010)
Heliodor 9/600KA (2018)
Heliodor 9/700KA (2018)
Juwel 8M (2018)
Karat 9/600 KA (2016)
Kristall 9/500KA (2016)
Kristall 9/600KA (2016)
OptiDisc 25 (2018)
Primus 10 (Часть 1) (2017)
Primus 10 (Часть 2) (2017)
Quarz 7/250 (2010)
Quarz 7/250 F (2010)
Quarz 7/300 (2010)
Quarz 7/300F (2010)
Quarz 7/400 (2010)
Quarz 7/400F (2010)
Quarz 7/400K (2010)
Quarz 7/400KA (2010)
Quarz 7/500K (2010)
Quarz 7/500KA (2010)
Quarz 7/600K (2010)
Rubin 10/600 KUA (2018)
Rubin 10/700 KUA (2018)
Rubin 12/400 KUA (A) (2018)
Rubin 12/500 KUA (A) (2018)
Rubin 12/600 KUA (A) (2018)
Rubin 12/700 KUA (2018)
Rubin 9/300 U (2004)
Rubin 9/400 U (2004)
Saphir 7/300 (2010)
Saphir 7/400 (2010)
Smaragd 7/260 (2010)
Smaragd 7/300 (2010)
Smaragd 9/300 (2010)
Smaragd 9/400 (2010)
Smaragd 9/400 (2016)
Smaragd 9/400 K (2016)
Smaragd 9/400K (2010)
Smaragd 9/450K (2010)
Smaragd 9/500 K (2016)
Smaragd 9/500K (2004)
Smaragd 9/600 K (2016)
Smaragd 9/600K (2010)
Smaragd 9/600KA (2010)
Solitair 10/600K (2006)
Solitair 12/1000K (2007)
Solitair 12/1200K (2008)
Solitair 12/1200KD (2018)
Solitair 12/5800SW (2018)
Solitair 12/800K (2006)
Solitair 12/900K (2007)
Solitair 8/300 (2004)
Solitair 8/300 (2014)
Solitair 8/400 (2004)
Solitair 9/300 (2004)
Solitair 9/400 (2004)
Solitair 9/400K (2004)
Solitair 9/400KA (2004)
Solitair 9/450K (2004)
Solitair 9/450KA (2004)
Solitair 9/500K (2004)
Solitair 9/500KA (2009)
Solitair 9/600K (2004)
Solitair 9/600KA (2004)
System-Kompaktor Gigant 1000 (2010)
System-Kompaktor Gigant 800 (2010)
System-Kompaktor K450 (2010)
System-Kompaktor K450A (2010)
System-Kompaktor K500 (2010)
System-Kompaktor K500A (2010)
System-Kompaktor K600 (2010)
System-Kompaktor K600A (2010)
System-Kompaktor S300 (2010)
System-Kompaktor S400 (2010)
System-Korund 300 L (2010)
System-Korund 450 L (2010)
System-Korund 600 L (2010)
System-Korund 750 K (750 L) (2010)
System-Korund 900 K (2010)
System-Korund 900 L (2010)
Thorit 8/300 (2005)
Thorit 8/300 Combi-Liner (2004)
Thorit 8/400 (2010)
Thorit 8/400 Combi-Liner (2004)
Thorit 9/400 K (2004)
Thorit 9/400 KA (2003)
Thorit 9/450 K (2004)
Thorit 9/500 K (2004)
Thorit 9/500 KA (2003)
Thorit 9/600 K (2004)
Thorit 9/600 KA (2003)
Topas 140-A (2010)
Vari-Diamant 10 (2004)
Vari-Diamant 10X (2004)
Vari-Opal 100 (2014)
Vari-Opal 100HX (2014)
Vari-Opal 100X (2014)
Vari-Opal 160 (2014)
Vari-Opal X160 (2014)
Vari-Titan 10 (2010)
Vari-Turmalin 10 (2005)
Vari-Turmalin 10X (2005)
Variopack 110DP70 (2010)
Variopack 110DP90 (2010)
Variopack 110EP90 (2010)
Variopack 110FEPK700 (2010)
Variopack 80DP70 (2010)
Variopack S 110DP70 (2010)
VariOpal 5 (2010)
VariOpal 7 (2010)
VariOpal 7X (2010)
VariOpal 8 (2010)
VariOpal 8X (2010)
VariOpal 9 (2010)
VariOpal 9X (2010)
Zirkon 10/300 (2010)
Zirkon 10/400 (2010)
Zirkon 10/400K (2010)
Zirkon 10/450 (2010)
Zirkon 10/450K (2010)
Zirkon 10/450KA (2010)
Zirkon 10/500K (2010)
Zirkon 10/500KA (2010)
Zirkon 10/600KA (2010)
Zirkon 7/250 (2010)
Zirkon 7/300 (2010)
Zirkon 7/400 (2010)
Zirkon 9/300 (2010)
Zirkon 9/400 (2010)
Zirkon 9/600K "B" (2010)
Схема
>
Не выбрано
Contents Saphir 7/400 + Saphir 7/400 AutoLoad
Crank, cpl. EuroDrill
Additional switch 1-R
Level control Saphir 7
Calibration trough Saphir 7/400
Agitator shaft Saphir 7/400-32RH
Intermediate shaft Saphir 7/400
Mounting parts Saphir 7/400
Hopper Saphir 7/400-32RH
Cover Saphir 7/400
Wedge Saphir 7
Tramline mechanism, electrical LH1600 Saphir 7/400
Sensor holder FGS-LH1600 Zirkon
Rape separation plate Saphir 7/400
Calibration trough Saphir 7/400
Calibration trough Saphir 7/400 Autoload
Gras agitator Saphir 7/400
Hopper Saphir 7/400
Cover Saphir 7/400
Seeding mechanism Saphir 7 3-teilig Vario Plus
Seeding mechanism Saphir 7 2-teilig Conti Plus
Seed wheel set 1-teilig Mono Plus Saphir 400
Turnbuckle TR26x3/510/375 Saphir
Stand RE+LE Solitair + Saphir 7
Extension for headstock Granit / Saphir
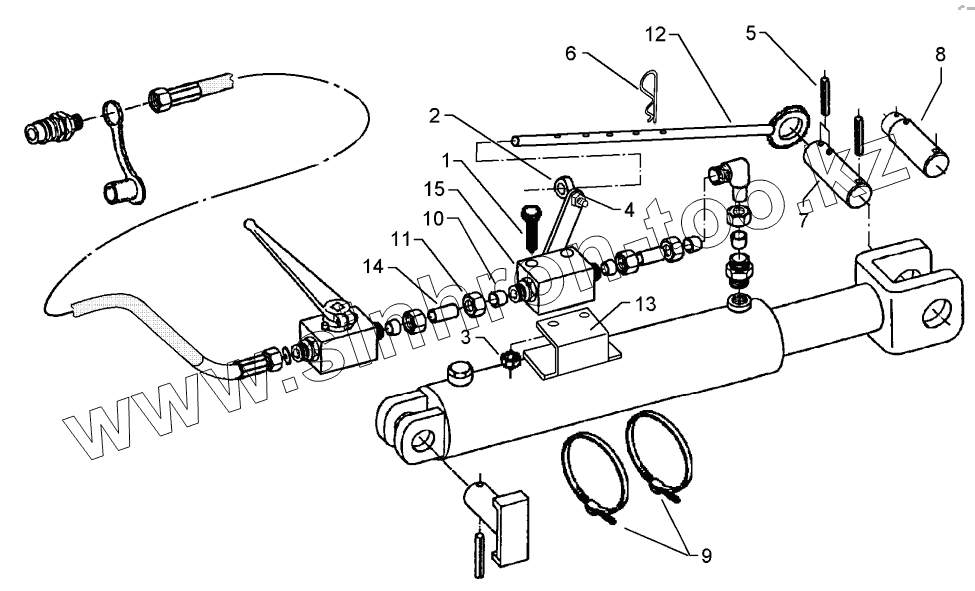
Conversion-set lift limiter AHG-HB
Basic frame Saphir 7/250-400
Basic frame Saphir 7/250-400 AutoLoad
Levelling harrow S-1,25
Levelling harrow S-1,50
Swinging arm
Cover with scraper kpl.
Cover with hard metal scraper kpl.
Seeding pipe, short 350
Seeding pipe, long 500
Spiral hose 30-480
Spiral hose 30-500
Spiral hose 30-525
Spiral hose 30-550
Spiral hose 30-600
Spiral hose 30-630
Height adjustment Saphir 7
Double disc coulter + roller Saphir 7
Single disc coulter, long D325 RE
Single disc coulter, short D325 LI
Single disc coulter, short D325 RE
Single disc coulter, long D325 LI
Suffolk coulter Saphir 7
Suffolk coulter Saphir 7
Scraper
Coulter frame Saphir 7/400-DS 32R-125
Coulter frame Saphir 7/400-DS 27R-150
Coulter frame Saphir 7/400-DS 23R-175
Coulter frame Saphir 7/400-ES 32R-125
Coulter frame Saphir 7/400-ES 27R-150
Coulter frame Saphir 7/400-ES 23R-175
Gearbox lever, hydraulic
Spike wheel drive - spring Saphir 7
Spike wheel drive Saphir 7
Extension wheel drive Saphir Striegel
Spring Saphir 7
Monitor LH1600
Monitor LH1600-V
Cable G tractor connection 2x2700lg. LH1600-V
Lift magnet
Monitor LH1600
Holder LH1600
Tractor connection cable 4,0m LH1600
Sensor - filling level Saphir 7
Monitor LH 1600
Monitor LH1600-V
Monitor WTK 1000
Monitor WTK1000-V
Operator terminal Easytronic
Electronic box Saphir 7 Easytronic
Cable form Saphir Easytronic
Cable form Saphir 4m Easytronic
Remote control 6,00m
Remote control 8,00m
Pre-emergency marker HS D325 VALM
Pre-emergency marker lang MI-Rahmen
Pre-emergency marker kurz MI_Rahmen
Pre-emergency marker DS-Ausfuhrung
Levelling harrow S-1,25
Levelling harrow S-1,50
Holder, short
Single harrow D10x960
Single harrow, wheel D10x960
Harrow carrier 70x70x3200 Saphir 7/400
Loading step Saphir 7
Loading step Saphir 7/400
Loading step Saphir 7/400 C
Lighting equipment Saphir
Working spot light Saphir 7
Swivel bracket D35 247 RE A
Swivel bracket D35 247 LI A
Track marker
Swivel bracket Quarz
Changing-over, track marker Quarz 7
Changing-over, track marker Turm Zirkon 9
Rods for track markers Quarz 400 cm
Fittings FG
Kupplungsteil Saphir
Kupplungsteil 90x90 Saphir
Kupplungsteil Saphir 4m TRW,TPW,TSW
Kupplungsteil Saphir 4m ZPW-D500
Kupplungsteil Saphir 4m
hydr.Saatmengenverstellung Saphir 7
Hydraulic assembly Saphir 7 DZ 63/30/245
Coulter pressure device HY-Saphir 7 250-400
HY-assembly harrow 3-Felder Saphir
HY-assembly track marker Zirkon 400-450
Hydraulic assembly EZ Saphir
Hydraulic assembly DZ Saphir
Hydraulic assembly EZ Saphir
Pressure adjustment, mech. S+ES
1
2
3
4
5
6
7
8
9
10
11
12
13
14
15
Позиция на иллюстрации
Заводской номер детали
Название детали
1
301 0306
Flatheaded bolt
2
301 0815
Eye bolt
3
303 0931
Selflocking nut
4
303 0932
Selflocking nut
5
309 7000
Expansion bush
6
311 8604
Spring pin
7
313 2550
Pin
8
313 3030
Pin
9
325 1180
Hose clip
10
375 5110
Cutting ring
11
375 5310
Union nut
12
475 3610
Rod
13
475 3611
U-steel
14
475 8848
Tube
15
575 2146
Raise limiter
Содержащиеся в справочниках-каталогах запасные части и детали не предлагаются к продаже, а носят исключительно информационный характер
Дополнительная информация
×
Название:
Номер:
Примечание: