Вернуться на главную
Поиск
Каталоги запчастей к технике
Сельхозтехника
Lemken
Saphir 7/300
Level control Saphir 7
Каталог запасных частей к технике: Lemken Saphir 7/300. Level control Saphir 7
zoom-in
zoom-out
enlarge
shrink
circle-right
circle-left
file-text2
info
cart
Тип техники
Не выбрано
Легковые автомобили
Грузовые автомобили и прицепы
Автобусы
Сельхозтехника
Спецтехника
Двигатели
Мототехника
Марка
Не выбрано
AGCO
Amity
CASE IH
DongFeng
Fortschritt
Foton
Franz Kleine
Gaspardo
Great Plains
KRONE
KUHN
Lemken
Lovol
MacDon
Massey Ferguson
New Holland
TIGARBO
Vaderstad
Versatile
Wirax
Агро
Агротехмаш
Бобруйскагромаш (ОАО «УКХ «Бобруйскагромаш»)
БЭМЗ
ВгТЗ
Воронежсельмаш
ВТЗ
Гомсельмаш
ДКЗ
ЗАО "Техника-сервис"
ЗиД
КЗК
Кировец-Ландтехник
Клевер
Красная Звезда
Лидагропроммаш
Лидсельмаш
ЛТЗ
Машстройхолдинг
Минитракторы
Мордовагромаш
МТЗ
Навигатор-Новое машиностроение
Нефтекамский автозавод
ПТЗ
Ремком
РСМ
Сибсельмаш
ТеКЗ
ТКЗ
ХЗТСШ
ХТЗ
ЮМЗ
Модель
Не выбрано
Achat 9/400 KA (2004)
Achat 9/500 KA (2004)
Achat 9/600 KA (2004)
Azurit 9 (2018)
Dolomit 9 (2010)
EuroDiamant 10 (2010)
EuroDiamant 10 X (2010)
EuroDiamant 8 (2010)
EuroGranat 5 (2006)
EuroGranat 6 (2006)
EuroGranat 7 (2006)
EurOpal 5 (2010)
EurOpal 5HX (2010)
EurOpal 6 (2010)
EurOpal 7 (2010)
EurOpal 7, EurOpal 7HX (2018)
EurOpal 7X (2010)
EurOpal 7X, EurOpal 7 HydriX (2018)
EurOpal 8 (2010)
EurOpal 9 (2010)
EuroTitan 10 (2010)
EuroTitan 10X (2010)
FixPack (2010)
Gigant 1000 (2010)
Gigant 1000 Smaragd (2010)
Gigant 800 (2010)
Gigant 800 S (2010)
Gigant 800 S Rubin (2006)
Gigant 800 Smaragd (2010)
Heliodor 9/600KA (2018)
Heliodor 9/700KA (2018)
Juwel 8M (2018)
Karat 9/600 KA (2016)
Kristall 9/500KA (2016)
Kristall 9/600KA (2016)
OptiDisc 25 (2018)
Primus 10 (Часть 1) (2017)
Primus 10 (Часть 2) (2017)
Quarz 7/250 (2010)
Quarz 7/250 F (2010)
Quarz 7/300 (2010)
Quarz 7/300F (2010)
Quarz 7/400 (2010)
Quarz 7/400F (2010)
Quarz 7/400K (2010)
Quarz 7/400KA (2010)
Quarz 7/500K (2010)
Quarz 7/500KA (2010)
Quarz 7/600K (2010)
Rubin 10/600 KUA (2018)
Rubin 10/700 KUA (2018)
Rubin 12/400 KUA (A) (2018)
Rubin 12/500 KUA (A) (2018)
Rubin 12/600 KUA (A) (2018)
Rubin 12/700 KUA (2018)
Rubin 9/300 U (2004)
Rubin 9/400 U (2004)
Saphir 7/300 (2010)
Saphir 7/400 (2010)
Smaragd 7/260 (2010)
Smaragd 7/300 (2010)
Smaragd 9/300 (2010)
Smaragd 9/400 (2010)
Smaragd 9/400 (2016)
Smaragd 9/400 K (2016)
Smaragd 9/400K (2010)
Smaragd 9/450K (2010)
Smaragd 9/500 K (2016)
Smaragd 9/500K (2004)
Smaragd 9/600 K (2016)
Smaragd 9/600K (2010)
Smaragd 9/600KA (2010)
Solitair 10/600K (2006)
Solitair 12/1000K (2007)
Solitair 12/1200K (2008)
Solitair 12/1200KD (2018)
Solitair 12/5800SW (2018)
Solitair 12/800K (2006)
Solitair 12/900K (2007)
Solitair 8/300 (2004)
Solitair 8/300 (2014)
Solitair 8/400 (2004)
Solitair 9/300 (2004)
Solitair 9/400 (2004)
Solitair 9/400K (2004)
Solitair 9/400KA (2004)
Solitair 9/450K (2004)
Solitair 9/450KA (2004)
Solitair 9/500K (2004)
Solitair 9/500KA (2009)
Solitair 9/600K (2004)
Solitair 9/600KA (2004)
System-Kompaktor Gigant 1000 (2010)
System-Kompaktor Gigant 800 (2010)
System-Kompaktor K450 (2010)
System-Kompaktor K450A (2010)
System-Kompaktor K500 (2010)
System-Kompaktor K500A (2010)
System-Kompaktor K600 (2010)
System-Kompaktor K600A (2010)
System-Kompaktor S300 (2010)
System-Kompaktor S400 (2010)
System-Korund 300 L (2010)
System-Korund 450 L (2010)
System-Korund 600 L (2010)
System-Korund 750 K (750 L) (2010)
System-Korund 900 K (2010)
System-Korund 900 L (2010)
Thorit 8/300 (2005)
Thorit 8/300 Combi-Liner (2004)
Thorit 8/400 (2010)
Thorit 8/400 Combi-Liner (2004)
Thorit 9/400 K (2004)
Thorit 9/400 KA (2003)
Thorit 9/450 K (2004)
Thorit 9/500 K (2004)
Thorit 9/500 KA (2003)
Thorit 9/600 K (2004)
Thorit 9/600 KA (2003)
Topas 140-A (2010)
Vari-Diamant 10 (2004)
Vari-Diamant 10X (2004)
Vari-Opal 100 (2014)
Vari-Opal 100HX (2014)
Vari-Opal 100X (2014)
Vari-Opal 160 (2014)
Vari-Opal X160 (2014)
Vari-Titan 10 (2010)
Vari-Turmalin 10 (2005)
Vari-Turmalin 10X (2005)
Variopack 110DP70 (2010)
Variopack 110DP90 (2010)
Variopack 110EP90 (2010)
Variopack 110FEPK700 (2010)
Variopack 80DP70 (2010)
Variopack S 110DP70 (2010)
VariOpal 5 (2010)
VariOpal 7 (2010)
VariOpal 7X (2010)
VariOpal 8 (2010)
VariOpal 8X (2010)
VariOpal 9 (2010)
VariOpal 9X (2010)
Zirkon 10/300 (2010)
Zirkon 10/400 (2010)
Zirkon 10/400K (2010)
Zirkon 10/450 (2010)
Zirkon 10/450K (2010)
Zirkon 10/450KA (2010)
Zirkon 10/500K (2010)
Zirkon 10/500KA (2010)
Zirkon 10/600KA (2010)
Zirkon 7/250 (2010)
Zirkon 7/300 (2010)
Zirkon 7/400 (2010)
Zirkon 9/300 (2010)
Zirkon 9/400 (2010)
Zirkon 9/600K "B" (2010)
Схема
>
Не выбрано
Contents Saphir 7/300 + Saphir 7/300 AutoLoad
Additional switch 1-R
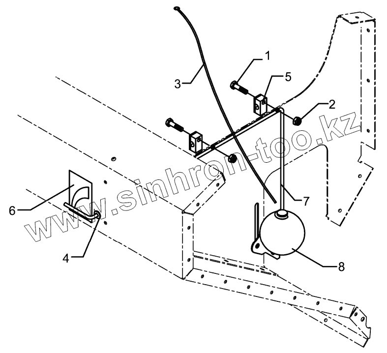
Level control Saphir 7
Calibration trough Saphir 7/300
Agitator shaft Saphir 7/300-24RH
Intermediate shaft Saphir 7/300
Hopper Saphir 7/300-24RH
Mounting part Saphir 7/300
Hopper Saphir 7/300-24RH GT
Cover Saphir 7/300
Wedge Saphir 7
Rape separation plate Saphir 7/300
Calibration trough Saphir 7/300
Calibration trough Saphir 7/300 AutoLoad
Gras agitator 3,00m
Gras agitator Saphir 7/300
Hopper Saphir 7/300
Hopper Saphir 7/300 1100l
Cover Saphir 7/300
Seeding mechanism Saphir 7 3-teilig Vario Plus
Seeding mechanism Saphir 7 2-teilig Conti Plus
Seed wheel set 1-teilig Mono Plus Saphir 300
Turnbuckle TR26x3/510/375 Saphir
Top link pin, cpl. KAT2 D25,4x140
Three point connection KAT-2
Three point connection KAT-2 wenn KTEILE vorhanden
Extension for headstock Granit / Saphir
Basic frame Saphir 7/250-400
Basic frame Saphir 7/250-400 AutoLoad
Cover with scraper kpl.
Cover with hard metal scraper kpl.
Stand RE+LE Solitair + Saphir 7
Pressure adjustment, mech. S+ES
Spiral hose 30-600
Spiral hose 30-630
Height adjustment Saphir 7
Double disc coulter + roller Saphir 7
Single disc coulter, long D325 RE
Single disc coulter, short D325 LI
Single disc coulter, short D325 RE
Single disc coulter, long D325 LI
Suffolk coulter Saphir 7
Suffolk coulter Saphir 7
Scraper
Coulter frame Saphir 7/300-DS 24R-125
Coulter frame Saphir 7/300-DS 20R-150
Coulter frame Saphir 7/300-DS 17R-175
Coulter frame Saphir 7/300-ES 24R-125
Coulter frame Saphir 7/300-ES 20R-150
Coulter frame Saphir 7/300-ES 17R-175
Gearbox lever, hydraulic
Remote control 6,00m
Remote control 8,00m
Spike wheel drive - spring Saphir 7
Spike wheel drive Saphir 7
Extension wheel drive Saphir Striegel
Spring Saphir 7
Monitor LH1600
Monitor LH1600-V
Cable G tractor connection 2x2700lg. LH1600-V
Monitor LH1600
Holder LH1600
Tractor connection cable 4,0m LH1600
Sensor - filling level Saphir 7
Monitor LH 1600
Monitor LH1600-V
Collecting box LH1600 Saphir 7/300
Collecting box LH1600-V Saphir 7/300
Tramline mechanism, electrical LH1600 Saphir 7/300
Monitor WTK 1000
Monitor WTK1000-V
Sensor fitted to spike wheel FGS-LH1600 Zirkon
Levelling harrow S-1,50
Pre-emergency marker HS D325 VALM
Pre-emergency marker lang MI-Rahmen
Pre-emergency marker kurz MI_Rahmen
Pre-emergency marker DS-Ausfuhrung
Levelling harrow S-1,50
Holder, short
Single harrow D10x960
Single harrow, wheel D10x960
Harrow carrier 70x70x2200 Saphir 7/300
Loading step A Saphir 7/250-300
Loading step B Saphir 7/300
Loading step Saphir 7
Loading step Saphir 7/300 C
Lighting equipment Saphir
Working spot light Saphir 7
Axle for track marker D30x595 668A
Swivel bracket D35 247 RE A
Swivel bracket D35 247 LI A
Track marker
Swinging arm
Swivel bracket Zirkon/Quarz
Changing-over, track marker Zirkon 7 / Quarz 7
Changing-over, track marker Turm Zirkon 9
Rods for track markers Zirkon/Quarz 300 cm
Fittings Zirkon 7
Fittings Zirkon 9
Fittings FG
Kupplungsteil Saphir
Fitting-extension Saphir 7 ZPW500 Hang
hydr.Saatmengenverstellung Saphir 7
Hydraulic assembly Saphir 7 DZ 63/30/245
Coulter pressure device HY-Saphir 7 250-400
HY-assembly harrow 2-Felder Solitair
HY-assembly harrow 2-Felder Saphir
HY-assembly track marker Zirkon 250-300
Hydraulic assembly EZ Saphir
Hydraulic assembly DZ Saphir
Hydraulic assembly EZ Saphir
1
2
3
4
5
6
7
8
Позиция на иллюстрации
Заводской номер детали
Название детали
1
301 3006
Screw
2
303 0931
Selflocking nut
3
331 4918
Plastic rope
4
373 4080
Cable sleeve
5
375 9974
Clip
6
390 6140
Sticker
7
481 1559
Linkage
8
481 8430
Swimming ball
Содержащиеся в справочниках-каталогах запасные части и детали не предлагаются к продаже, а носят исключительно информационный характер
Дополнительная информация
×
Название:
Номер:
Примечание: