Вернуться на главную
Поиск
Каталоги запчастей к технике
Сельхозтехника
Lemken
Rubin 12/400 KUA (A)
67710027 Compressed-air brake
Каталог запасных частей к технике: Lemken Rubin 12/400 KUA (A). 67710027 Compressed-air brake
zoom-in
zoom-out
enlarge
shrink
circle-right
circle-left
file-text2
info
cart
Тип техники
Не выбрано
Легковые автомобили
Грузовые автомобили и прицепы
Автобусы
Сельхозтехника
Спецтехника
Двигатели
Мототехника
Марка
Не выбрано
AGCO
Amity
CASE IH
DongFeng
Fortschritt
Foton
Franz Kleine
Gaspardo
Great Plains
KRONE
KUHN
Lemken
Lovol
MacDon
Massey Ferguson
New Holland
TIGARBO
Vaderstad
Versatile
Wirax
Агро
Агротехмаш
Бобруйскагромаш (ОАО «УКХ «Бобруйскагромаш»)
БЭМЗ
ВгТЗ
Воронежсельмаш
ВТЗ
Гомсельмаш
ДКЗ
ЗАО "Техника-сервис"
ЗиД
КЗК
Кировец-Ландтехник
Клевер
Красная Звезда
Лидагропроммаш
Лидсельмаш
ЛТЗ
Машстройхолдинг
Минитракторы
Мордовагромаш
МТЗ
Навигатор-Новое машиностроение
Нефтекамский автозавод
ПТЗ
Ремком
РСМ
Сибсельмаш
ТеКЗ
ТКЗ
ХЗТСШ
ХТЗ
ЮМЗ
Модель
Не выбрано
Achat 9/400 KA (2004)
Achat 9/500 KA (2004)
Achat 9/600 KA (2004)
Azurit 9 (2018)
Dolomit 9 (2010)
EuroDiamant 10 (2010)
EuroDiamant 10 X (2010)
EuroDiamant 8 (2010)
EuroGranat 5 (2006)
EuroGranat 6 (2006)
EuroGranat 7 (2006)
EurOpal 5 (2010)
EurOpal 5HX (2010)
EurOpal 6 (2010)
EurOpal 7 (2010)
EurOpal 7, EurOpal 7HX (2018)
EurOpal 7X (2010)
EurOpal 7X, EurOpal 7 HydriX (2018)
EurOpal 8 (2010)
EurOpal 9 (2010)
EuroTitan 10 (2010)
EuroTitan 10X (2010)
FixPack (2010)
Gigant 1000 (2010)
Gigant 1000 Smaragd (2010)
Gigant 800 (2010)
Gigant 800 S (2010)
Gigant 800 S Rubin (2006)
Gigant 800 Smaragd (2010)
Heliodor 9/600KA (2018)
Heliodor 9/700KA (2018)
Juwel 8M (2018)
Karat 9/600 KA (2016)
Kristall 9/500KA (2016)
Kristall 9/600KA (2016)
OptiDisc 25 (2018)
Primus 10 (Часть 1) (2017)
Primus 10 (Часть 2) (2017)
Quarz 7/250 (2010)
Quarz 7/250 F (2010)
Quarz 7/300 (2010)
Quarz 7/300F (2010)
Quarz 7/400 (2010)
Quarz 7/400F (2010)
Quarz 7/400K (2010)
Quarz 7/400KA (2010)
Quarz 7/500K (2010)
Quarz 7/500KA (2010)
Quarz 7/600K (2010)
Rubin 10/600 KUA (2018)
Rubin 10/700 KUA (2018)
Rubin 12/400 KUA (A) (2018)
Rubin 12/500 KUA (A) (2018)
Rubin 12/600 KUA (A) (2018)
Rubin 12/700 KUA (2018)
Rubin 9/300 U (2004)
Rubin 9/400 U (2004)
Saphir 7/300 (2010)
Saphir 7/400 (2010)
Smaragd 7/260 (2010)
Smaragd 7/300 (2010)
Smaragd 9/300 (2010)
Smaragd 9/400 (2010)
Smaragd 9/400 (2016)
Smaragd 9/400 K (2016)
Smaragd 9/400K (2010)
Smaragd 9/450K (2010)
Smaragd 9/500 K (2016)
Smaragd 9/500K (2004)
Smaragd 9/600 K (2016)
Smaragd 9/600K (2010)
Smaragd 9/600KA (2010)
Solitair 10/600K (2006)
Solitair 12/1000K (2007)
Solitair 12/1200K (2008)
Solitair 12/1200KD (2018)
Solitair 12/5800SW (2018)
Solitair 12/800K (2006)
Solitair 12/900K (2007)
Solitair 8/300 (2004)
Solitair 8/300 (2014)
Solitair 8/400 (2004)
Solitair 9/300 (2004)
Solitair 9/400 (2004)
Solitair 9/400K (2004)
Solitair 9/400KA (2004)
Solitair 9/450K (2004)
Solitair 9/450KA (2004)
Solitair 9/500K (2004)
Solitair 9/500KA (2009)
Solitair 9/600K (2004)
Solitair 9/600KA (2004)
System-Kompaktor Gigant 1000 (2010)
System-Kompaktor Gigant 800 (2010)
System-Kompaktor K450 (2010)
System-Kompaktor K450A (2010)
System-Kompaktor K500 (2010)
System-Kompaktor K500A (2010)
System-Kompaktor K600 (2010)
System-Kompaktor K600A (2010)
System-Kompaktor S300 (2010)
System-Kompaktor S400 (2010)
System-Korund 300 L (2010)
System-Korund 450 L (2010)
System-Korund 600 L (2010)
System-Korund 750 K (750 L) (2010)
System-Korund 900 K (2010)
System-Korund 900 L (2010)
Thorit 8/300 (2005)
Thorit 8/300 Combi-Liner (2004)
Thorit 8/400 (2010)
Thorit 8/400 Combi-Liner (2004)
Thorit 9/400 K (2004)
Thorit 9/400 KA (2003)
Thorit 9/450 K (2004)
Thorit 9/500 K (2004)
Thorit 9/500 KA (2003)
Thorit 9/600 K (2004)
Thorit 9/600 KA (2003)
Topas 140-A (2010)
Vari-Diamant 10 (2004)
Vari-Diamant 10X (2004)
Vari-Opal 100 (2014)
Vari-Opal 100HX (2014)
Vari-Opal 100X (2014)
Vari-Opal 160 (2014)
Vari-Opal X160 (2014)
Vari-Titan 10 (2010)
Vari-Turmalin 10 (2005)
Vari-Turmalin 10X (2005)
Variopack 110DP70 (2010)
Variopack 110DP90 (2010)
Variopack 110EP90 (2010)
Variopack 110FEPK700 (2010)
Variopack 80DP70 (2010)
Variopack S 110DP70 (2010)
VariOpal 5 (2010)
VariOpal 7 (2010)
VariOpal 7X (2010)
VariOpal 8 (2010)
VariOpal 8X (2010)
VariOpal 9 (2010)
VariOpal 9X (2010)
Zirkon 10/300 (2010)
Zirkon 10/400 (2010)
Zirkon 10/400K (2010)
Zirkon 10/450 (2010)
Zirkon 10/450K (2010)
Zirkon 10/450KA (2010)
Zirkon 10/500K (2010)
Zirkon 10/500KA (2010)
Zirkon 10/600KA (2010)
Zirkon 7/250 (2010)
Zirkon 7/300 (2010)
Zirkon 7/400 (2010)
Zirkon 9/300 (2010)
Zirkon 9/400 (2010)
Zirkon 9/600K "B" (2010)
Схема
>
Не выбрано
Contens
3028767 Turnbuckle
30210039 Turnbuckle
32110049 Depth indicator
32110050 Lever
32110122 Documents box
32110144 Depth indicator
59010060 Label
61210200 Basic frame
61210232 Basic frame
6178148 Hydraulic locking device
61710011 Locking device
3137927 Top link pin with chain
3137929 Top link pin with chain
33110011 Safety chain
62910012 Stand
62910023 Stand
6408630 Traction loop
6408631 Traction loop
6408632 Ball-shaped coupling
64010008 Traction loop
64010032 Headstock
64010037 Drawbar support
64010060 Ball-shaped coupling
64010069 Drawbar
64010070 Drawbar
64010083 Drawbar
64010085 Drawbar
64010091 Traction loop
64010092 Traction loop
64010093 Traction loop
64010094 Ball-shaped coupling
64010095 Ball-shaped coupling
64010107 Headstock
64010111 Drawbar
64010112 Drawbar
6611369 Lower link connection
6611371 Lower link connection
6611413 Lower link connection
6611414 Lower link connection
6611417 Lower link connection
67510692 Connecting plate
6220150 Holder
6220152 Holder
6220188 Holder
6226870 Rubber ring roller
6226938 Knife rollerjong knifes
6226941 Knife rollerjong knifes
6227273 Tube bar roller
6227292 Tube bar roller
6227336 Double roller
6227386 Double roller
6227480 Double profile roller
6227560 Packer profile roller
6227561 Packer profile roller
6227590 Packer double roller
6227591 Packer double roller
6228332 Double roller
62210006 Flexring roller
62210327 Holder
62210333 Holder
62210374 Double profile ring roller
62210376 Packer profile roller
62210377 Packer profile roller
62210384 Packer double roller
62210385 Packer double roller
62210400 Knife rollerjong knifes
62210401 Knife rollerjong knifes
62210428 Roller
55510017 Hub
55510038 Bearing
55510039 Bearing
55510040 Bearing
55510041 Bearing
61210106 Stalk
61210175 Bracket
61210178 Stalk
61210179 Stalk
61210180 Stalk
61210186 Stalk
61210188 Bracket
61210189 Bracket
61210190 Bracket
61210191 Bracket
61210194 Bracket
61210210 Bracket
61210211 Bracket
61210216 Stalk with bearing
61210217 Stalk with bearing
61210218 Stalk with bearing
62710003 Bracket
62710004 Bracket
62710005 Bracket
65710048 Concave disc
65710075 Concave disc
55710002 Spiral tine
55710003 Spiral tine
55710005 Holder
62210128 Levelling harrow
62210129 Levelling harrow
62210275 Harrow adjustment
62210302 Levelling harrow
62210328 Levelling harrow adjustement
62210450 Harrow adjustment
62210451 Harrow adjustment
62210452 Levelling harrow adjustement
62210453 Levelling harrow adjustement
65710082 Side shield
65710083 Side shield
65710144 Side shield
65710145 Side shield
5501124 Set of fittings running axle
5501125 Set of fittings
5508516 Running axle
5508524 Braking axle
5508912 Wheel 8/221/275 M20x1,5
5508913 Wheel 8/221/275 M20x1,5
61210206 Outrigger/trailer
61210235 Outrigger/trailer
65010028 Parking brake
67010116 Wheel chock
67710026 Compressed-air brake
67710027 Compressed-air brake
69910274 Braking axle
69910275 Braking axle
5752263 Hydraulic ram
5752268 Hydraulic ram
5752269 Hydraulic ram
5752336 Hydraulic ram
57510289 Hydraulic ram
57510510 Assembly group
57510516 Nonreturn valve
57510544 Hydraulic ram
57510553 Mounting set
57510605 HY-assembly lifting
57510610 Montage-BG.Hydr.Deichs
57510953 Distributor
57510955 HY-assembly lifting
57510983 Directional valve
57511159 HY-assembly lifting
67510293 Raise limiter
67510306 HY-brake assembly
67510307 Hydraulic assembly
67510309 Folding device
67510661 HY-assembly depth adjustment
67510666 HY-assembly lifting
67510667 HY-assembly pole
67510683 HY-pipe assembly
67510684 HY supply pipe drawbar
67510685 HY-pipe assembly
67510686 HY supply pipe folding device
67510687 HY-pipe assembly
67510688 Hose-assembly
67510689 Hydraulic Supply Pipes
67510690 Hydraulic Supply Pipes
67510691 Hydraulic Supply Pipes
67510738 HY-assembly pole
67510739 Hydraulic assembly
67510745 HY-assembly pole
67510746 HY-assembly lifting
67510747 HY-assembly depth adjustment
67510749 Hydraulic assembly
67510921 Hose carrier
67510939 HY supply pipe trailer
67510942 HY supply pipe folding device
67510945 HY supply pipe trailer
67510946 HY supply pipe folding device
67510951 HY supply pipe brake
67510952 HY supply pipe brake
67510958 Hydraulic assembly
67510963 HY-assembly lifting
67510965 HY-assembly lifting
67511098 Hydraulic braking assembly
32110203 Depth indicator
3734261 Cable
37310160 Basic cable
5701758 Lighting unit
5701759 Lighting unit
5701762 Lighting unit
5701763 Lighting unit
57010014 Warning board
57010015 Warning board
57010016 Lighting unit
57010017 Lighting unit
57010022 Lighting unit
57010023 Lighting unit
57010100 Lighting unit
57010101 Lighting unit
57010102 Lighting unit
57010103 Lighting unit
57010108 Lighting unit
57010109 Lighting unit
6700648 Board
67010063 Board
67010092 Transport protection
67010193 Lighting equipment
67010194 Junction box
67010195 Lighting equipment
67010196 Lighting equipment
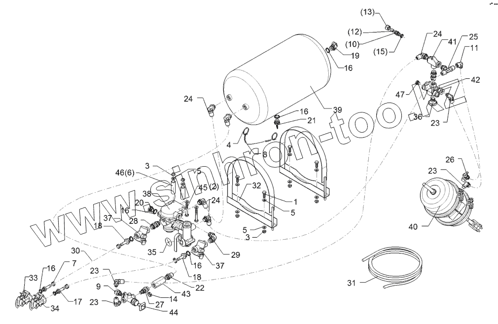
1
2
3
3
4
5
5
5
6
7
8
9
10
11
12
13
14
15
16
16
16
16
16
17
18
18
19
20
21
22
23
23
23
23
24
24
24
25
26
27
28
29
30
31
32
33
34
35
36
37
37
38
39
40
41
42
43
44
45
46
47
Позиция на иллюстрации
Заводской номер детали
Название детали
1
301 3226
Screw
2
301 3262
Hexagon bolt
3
303 0933
Selflocking nut
4
305 8551
Securing clip
5
305 8696
Washer
6
317 6792
Tube
7
325 1145
Hose clip
8
33110049
Knotted-link chain
9
375 2190
Vent plug
10
375 4011
Nipple
11
375 4500
Adjustable angle union
12
375 4660
Blind plug
13
375 5310
Union nut
14
375 5698
Nut
15
377 1180
Thrust ring with O-ring
16
377 1181
Thrust ring with O-ring
17
377 1301
Hose nipple
18
377 1302
Hose nipple
19
377 1341
Test coupling
20
377 1350
Plug
21
377 1380
Dewatering valve
22
377 1401
Push-in connection
23
377 1409
Push-in connection
24
377 1410
Push-in connection
25
377 1430
Push-in connection
26
377 1450
Push-in connection
27
377 1460
Screwed socket
28
377 1461
Screwed socket
29
377 1472
Screwed socket
30
37710042
Brake hose
31
377 2070
Synthetic tube
32
377 2532
Strap
33
377 2540
Hose coupling
34
377 2541
Hose coupling
35
39010055
Label
36
577 2570
Venting filter
37
577 2580
Filter
38
577 2591
Trailer brake valve
39
577 2622
Compressed-air container
40
577 2642
Membrane-cylinder
41
577 2660
2-port control valve
42
577 2671
Quick release valve
43
577 2680
Nonreturn valve
44
577 2690
Parking valve
45
301 3269
Hexagon bolt
46
475 9976
Tube
47
375 5165
Plug
Содержащиеся в справочниках-каталогах запасные части и детали не предлагаются к продаже, а носят исключительно информационный характер
Дополнительная информация
×
Название:
Номер:
Примечание: