Вернуться на главную
Поиск
Каталоги запчастей к технике
Сельхозтехника
Lemken
Rubin 10/600 KUA
67710120 Compressed-air brake
Каталог запасных частей к технике: Lemken Rubin 10/600 KUA. 67710120 Compressed-air brake
zoom-in
zoom-out
enlarge
shrink
circle-right
circle-left
file-text2
info
cart
Тип техники
Не выбрано
Легковые автомобили
Грузовые автомобили и прицепы
Автобусы
Сельхозтехника
Спецтехника
Двигатели
Мототехника
Марка
Не выбрано
AGCO
Amity
CASE IH
DongFeng
Fortschritt
Foton
Franz Kleine
Gaspardo
Great Plains
KRONE
KUHN
Lemken
Lovol
MacDon
Massey Ferguson
New Holland
TIGARBO
Vaderstad
Versatile
Wirax
Агро
Агротехмаш
Бобруйскагромаш (ОАО «УКХ «Бобруйскагромаш»)
БЭМЗ
ВгТЗ
Воронежсельмаш
ВТЗ
Гомсельмаш
ДКЗ
ЗАО "Техника-сервис"
ЗиД
КЗК
Кировец-Ландтехник
Клевер
Красная Звезда
Лидагропроммаш
Лидсельмаш
ЛТЗ
Машстройхолдинг
Минитракторы
Мордовагромаш
МТЗ
Навигатор-Новое машиностроение
Нефтекамский автозавод
ПТЗ
Ремком
РСМ
Сибсельмаш
ТеКЗ
ТКЗ
ХЗТСШ
ХТЗ
ЮМЗ
Модель
Не выбрано
Achat 9/400 KA (2004)
Achat 9/500 KA (2004)
Achat 9/600 KA (2004)
Azurit 9 (2018)
Dolomit 9 (2010)
EuroDiamant 10 (2010)
EuroDiamant 10 X (2010)
EuroDiamant 8 (2010)
EuroGranat 5 (2006)
EuroGranat 6 (2006)
EuroGranat 7 (2006)
EurOpal 5 (2010)
EurOpal 5HX (2010)
EurOpal 6 (2010)
EurOpal 7 (2010)
EurOpal 7, EurOpal 7HX (2018)
EurOpal 7X (2010)
EurOpal 7X, EurOpal 7 HydriX (2018)
EurOpal 8 (2010)
EurOpal 9 (2010)
EuroTitan 10 (2010)
EuroTitan 10X (2010)
FixPack (2010)
Gigant 1000 (2010)
Gigant 1000 Smaragd (2010)
Gigant 800 (2010)
Gigant 800 S (2010)
Gigant 800 S Rubin (2006)
Gigant 800 Smaragd (2010)
Heliodor 9/600KA (2018)
Heliodor 9/700KA (2018)
Juwel 8M (2018)
Karat 9/600 KA (2016)
Kristall 9/500KA (2016)
Kristall 9/600KA (2016)
OptiDisc 25 (2018)
Primus 10 (Часть 1) (2017)
Primus 10 (Часть 2) (2017)
Quarz 7/250 (2010)
Quarz 7/250 F (2010)
Quarz 7/300 (2010)
Quarz 7/300F (2010)
Quarz 7/400 (2010)
Quarz 7/400F (2010)
Quarz 7/400K (2010)
Quarz 7/400KA (2010)
Quarz 7/500K (2010)
Quarz 7/500KA (2010)
Quarz 7/600K (2010)
Rubin 10/600 KUA (2018)
Rubin 10/700 KUA (2018)
Rubin 12/400 KUA (A) (2018)
Rubin 12/500 KUA (A) (2018)
Rubin 12/600 KUA (A) (2018)
Rubin 12/700 KUA (2018)
Rubin 9/300 U (2004)
Rubin 9/400 U (2004)
Saphir 7/300 (2010)
Saphir 7/400 (2010)
Smaragd 7/260 (2010)
Smaragd 7/300 (2010)
Smaragd 9/300 (2010)
Smaragd 9/400 (2010)
Smaragd 9/400 (2016)
Smaragd 9/400 K (2016)
Smaragd 9/400K (2010)
Smaragd 9/450K (2010)
Smaragd 9/500 K (2016)
Smaragd 9/500K (2004)
Smaragd 9/600 K (2016)
Smaragd 9/600K (2010)
Smaragd 9/600KA (2010)
Solitair 10/600K (2006)
Solitair 12/1000K (2007)
Solitair 12/1200K (2008)
Solitair 12/1200KD (2018)
Solitair 12/5800SW (2018)
Solitair 12/800K (2006)
Solitair 12/900K (2007)
Solitair 8/300 (2004)
Solitair 8/300 (2014)
Solitair 8/400 (2004)
Solitair 9/300 (2004)
Solitair 9/400 (2004)
Solitair 9/400K (2004)
Solitair 9/400KA (2004)
Solitair 9/450K (2004)
Solitair 9/450KA (2004)
Solitair 9/500K (2004)
Solitair 9/500KA (2009)
Solitair 9/600K (2004)
Solitair 9/600KA (2004)
System-Kompaktor Gigant 1000 (2010)
System-Kompaktor Gigant 800 (2010)
System-Kompaktor K450 (2010)
System-Kompaktor K450A (2010)
System-Kompaktor K500 (2010)
System-Kompaktor K500A (2010)
System-Kompaktor K600 (2010)
System-Kompaktor K600A (2010)
System-Kompaktor S300 (2010)
System-Kompaktor S400 (2010)
System-Korund 300 L (2010)
System-Korund 450 L (2010)
System-Korund 600 L (2010)
System-Korund 750 K (750 L) (2010)
System-Korund 900 K (2010)
System-Korund 900 L (2010)
Thorit 8/300 (2005)
Thorit 8/300 Combi-Liner (2004)
Thorit 8/400 (2010)
Thorit 8/400 Combi-Liner (2004)
Thorit 9/400 K (2004)
Thorit 9/400 KA (2003)
Thorit 9/450 K (2004)
Thorit 9/500 K (2004)
Thorit 9/500 KA (2003)
Thorit 9/600 K (2004)
Thorit 9/600 KA (2003)
Topas 140-A (2010)
Vari-Diamant 10 (2004)
Vari-Diamant 10X (2004)
Vari-Opal 100 (2014)
Vari-Opal 100HX (2014)
Vari-Opal 100X (2014)
Vari-Opal 160 (2014)
Vari-Opal X160 (2014)
Vari-Titan 10 (2010)
Vari-Turmalin 10 (2005)
Vari-Turmalin 10X (2005)
Variopack 110DP70 (2010)
Variopack 110DP90 (2010)
Variopack 110EP90 (2010)
Variopack 110FEPK700 (2010)
Variopack 80DP70 (2010)
Variopack S 110DP70 (2010)
VariOpal 5 (2010)
VariOpal 7 (2010)
VariOpal 7X (2010)
VariOpal 8 (2010)
VariOpal 8X (2010)
VariOpal 9 (2010)
VariOpal 9X (2010)
Zirkon 10/300 (2010)
Zirkon 10/400 (2010)
Zirkon 10/400K (2010)
Zirkon 10/450 (2010)
Zirkon 10/450K (2010)
Zirkon 10/450KA (2010)
Zirkon 10/500K (2010)
Zirkon 10/500KA (2010)
Zirkon 10/600KA (2010)
Zirkon 7/250 (2010)
Zirkon 7/300 (2010)
Zirkon 7/400 (2010)
Zirkon 9/300 (2010)
Zirkon 9/400 (2010)
Zirkon 9/600K "B" (2010)
Схема
>
Не выбрано
Contens
32110122 Documents box
32110230 Depth indicator
32110232 Depth indicator
59010129 Label set
61210251 Basic frame
61710055 HY-assemb.locking device frame
62910023 Stand
3137929 Top link pin with chain
32110215 Padlock
32110216 lmmobiliser
32110217 lmmobiliser
33110011 Safety chain
33110013 Safety chain
64010037 Support
64010083 Drawbar
64010085 Drawbar
64010091 Traction loop
64010092 Traction loop
64010093 Traction loop
64010094 Ball-shaped coupling
64010095 Ball-shaped coupling
64010107 Headstock
64010112 Drawbar
6611368 Lower link connection
6611369 Lower link connection
6611371 Lower link connection
6611413 Lower link connection
6611414 Lower link connection
6618369 Fitting
6618511 Hydraulic lift linkage
66110027 Fitting
5752264 Hydraulic ram
5752312 Plunger-ram
5752318 Hydraulic ram
5752356 Hydraulic ram
57510289 Hydraulic ram
57511210 Hydraulic ram
57511212 Hydraulic ram
57511214 Hydraulic ram
57511219 Hydraulic ram
57511221 Hydraulic ram
57511222 Hydraulic ram
57511233 Combi - brake cylinder
57511278 Hydraulic ram
57511279 Extension set
6755305 HY-assembly lift linkage
6755306 HY-assembly lift linkage
67510684 HY supply pipe drawbar
67510920 Hose carrier
67510921 Hose carrier
67510942 HY supply pipe folding device
67510943 HY supply pipe depth adjustm.
67510946 HY supply pipe folding device
67510947 HY supply pipe depth adjustm.
67511128 HY supply pipe track marker
67511129 HY supply pipe track marker
67511130 HY-assembly folding device
67511131 HY-assembly drawbar
67511133 HY-assembly depth wheel
67511134 HY-assembly depth adjustment
67511135 HY-assembly lifting
67511136 HY-assembly trailer
67511137 HY-assembly track marker
67511138 HY-assembly harrow
67511139 Hydraulic assembly
67511140 Hydraulic assembly
67511141 Hydraulic assembly
67511142 Hydraulic assembly
67511143 HY-assembly directional valve
67511144 HY-assembly directional valve
67511145 HY supply pipe fan
67511146 HY supply pipe lift linkage
67511147 HY supply pipe folding device
67511148 HY supply pipe lift linkage
67511149 HY supply pipe fan
67511150 HY supply pipe lift linkage
67511151 HY supply pipe fan
67511152 HY supply pipe folding device
67511153 HY supply pipe folding device
67511154 HY supply pipe trailer
67511155 HY supply pipe trailer
67511162 HY-assembly track marker
67511170 HY supply pipe lift linkage
67511171 HY supply pipe fan
67511172 HY supply pipe fan
67511173 HY supply pipe fan
67511174 HY supply pipe lift linkage
67511175 HY supply pipe lift linkage
67511177 Connecting plate
67511178 Holder hydraulic hoses
67511180 Hydraulic braking assembly
67511181 Hydraulic braking assembly
67511185 HY supply pipe brake
67511186 HY supply pipe brake
67511296 Hydraulic assembly
37310264 Basic cable
37310265 Basic cable
57010100 Lighting unit
57010101 Lighting unit
57010112 Warning board
57010113 Warning board
57010140 Transport protection
57010141 Transport protection
57010142 Lighting unit
57010143 Lighting unit
57010150 Triangle
57310152 Extension cable
67010238 Transport protection
67010239 Lighting equipment
67010240 Lighting equipment
67010241 Lighting equipment
67010243 Lighting equipment
67010244 Lighting equipment
67010245 Lighting equipment
67010250 Carrier for light
67010251 Carrier for light
67010252 Carrier for light
67010254 Lighting equipment
67010255 Lighting equipment
6736163 Extension
67310157 Extension cable
54710012 Wheel bracket
54710013 Wheel bracket
5508862 Wheel
55010220 Braking axle
55010221 Running axle
55010238 Wheel
55010239 Wheel
55010240 Wheel
55010241 Wheel
55010248 Braking axle
55010250 Wheel
55010251 Wheel
55010344 Wheel
55010346 Wheel
55010347 Wheel
55010348 Set of fittings braking axle
55010349 Set of fittings running axle
64710006 Wheel bracket
64710007 Wheel bracket
65010127 Trailer
65010131 Trailer transport solo axle
51210066 Bracket
51210067 Bracket
51210068 Bracket
51210070 Straw harrow
51210071 Straw harrow
51210072 Straw harrow
51210073 Straw harrow
5554512 Bearing unit
55510046 Bearing
55510047 Bearing
55510054 Bearing
61210266 Straw harrow
61210267 Straw harrow
61220150 Stalk with bearing
61220151 Stalk with bearing
61220161 Stalk with bearing
61220162 Stalk
61220170 Stalk with bearing
61220171 Stalk with bearing
62210486 Rebound harrow
62210487 Rebound harrow
62210488 Rebound harrow
62210489 Levelling harrow
62210490 Rebound harrow
62210491 Rebound harrow
62210492 Rebound harrow
62210493 Rebound harrow
62210494 Rebound harrow
62210495 Rebound harrow
62210510 Harrow adjustment
62210511 Harrow adjustment
62210512 Harrow adjustment
62210513 Harrow adjustment
62210514 Harrow adjustment
62210515 Harrow adjustment
62210516 Harrow adjustment
62210517 Harrow adjustment
62210518 Harrow adjustment
62210519 Harrow adjustment
62210521 Rebound harrow adjustment
62210522 Levelling harrow adjustement
62210523 Levelling harrow adjustement
62210524 Levelling harrow adjustement
62210525 Levelling harrow adjustement
62210526 Levelling harrow adjustement
62210527 Levelling harrow adjustement
62210528 Levelling harrow adjustement
62210529 Levelling harrow adjustement
62210530 Levelling harrow adjustement
62210531 Levelling harrow adjustement
62210532 Levelling harrow
62210533 Levelling harrow
62210534 Levelling harrow
62210535 Levelling harrow
62210536 Levelling harrow
62210537 Levelling harrow
62210538 Levelling harrow
62210539 Levelling harrow
62210540 Levelling harrow
62210541 Levelling harrow
62210560 Rebound harrow
62210561 Rebound harrow
62210562 Rebound harrow
62210563 Rebound harrow
62210564 Rebound harrow
62210565 Rebound harrow
62210566 Rebound harrow
62210567 Rebound harrow
62210568 Rebound harrow
62210569 Rebound harrow
65710153 Concave disc
65710154 Concave disc
65710194 Concave disc
65710195 Concave disc
5821248 Axle for track marker
65710185 Outer disc
6821253 Track marker
6220150 Holder
6220152 Holder
6220188 Holder
6226873 Rubber ring roller
6227251 Tube bar roller
6227261 Tube bar roller
6227277 Tube bar roller
6227306 Double roller
6227356 Double roller
6228306 Double roller
62210010 Flexring roller
62210327 Holder
62210333 Holder
62210357 Double profile ring roller
62210382 Packer profile roller
62210383 Packer profile roller
62210388 Packer double roller
62210389 Packer double roller
62210410 Knife roller
62210411 Knife roller,long knifes
62210431 Roller
62210506 Carrier for rollers
62210507 Carrier for rollers
62710009 Overload safety device
62710012 Overload safety device
62710013 Overload safety device
62710014 Overload safety device
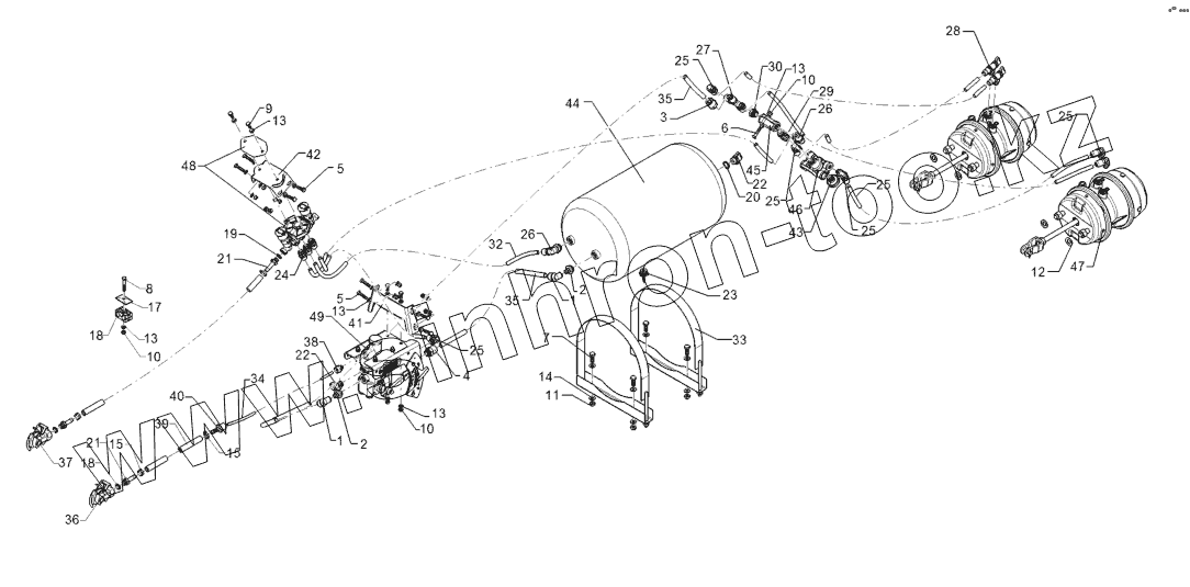
67710118 Compressed-air brake
67710119 Compressed-air brake
67710120 Compressed-air brake
67710121 Compressed-air brake
1
1
2
2
3
4
5
5
6
7
8
9
10
10
10
11
12
13
13
13
13
13
14
15
15
17
18
18
19
20
21
21
22
22
23
24
25
25
25
25
25
25
26
26
27
28
29
30
32
33
34
35
35
36
37
38
39
40
41
42
43
44
45
46
47
48
49
Позиция на иллюстрации
Заводской номер детали
Название детали
1
R00 0713
Connector
2
R00 0716
Screwed socket
3
R00 0718
Connector
4
R00 0719
Connector
5
301 3068
Screw
6
301 7260
Screw
7
301 5004
Screw
8
301 5418
Bolt
9
301 6750
Screw
10
303 0932
Selflocking nut
11
303 0933
Selflocking nut
12
305 6141
Washer
13
305 8694
Washer
14
305 8696
Washer
15
325 1145
Hose clip
17
375 9986
Plate
18
37510217
Clamp
19
377 1180
Thrust ring with O-ring
20
377 1181
Thrust ring with O-ring
21
377 1301
Hose nipple
22
377 1341
Test coupling
23
377 1380
Dewatering valve
24
377 1400
Push-in connection
25
377 1409
Push-in connection
26
377 1410
Push-in connection
27
377 1440
Push-in connection
28
377 1450
Push-in connection
29
377 1461
Screwed socket
30
377 1482
Reducing fitting
31
377 2025
Brake hose
32
377 2070
Synthetic tube
33
377 2532
Strap
34
37710046
Synthetic tube
35
37710048
Synthetic tube
36
37710149
Coupling head brake
37
37710150
Coupling head
38
37710151
Push-in connection
39
37710152
Brake hose
40
37710155
Connector
41
47710062
Holder
42
47710063
Holder
43
577 2570
Venting filter
44
577 2622
Compressed-air container
45
577 2660
2-port control valve
46
577 2671
Quick release valve
47
57710046
Membrane-cylinder
48
57710042
Release valve
49
57710043
Braking force regulator
Содержащиеся в справочниках-каталогах запасные части и детали не предлагаются к продаже, а носят исключительно информационный характер
Дополнительная информация
×
Название:
Номер:
Примечание: