Вернуться на главную
Поиск
Каталоги запчастей к технике
Сельхозтехника
Lemken
Quarz 7/500KA
Track scraper with holder FSU VS33 Quarz
Каталог запасных частей к технике: Lemken Quarz 7/500KA. Track scraper with holder FSU VS33 Quarz
zoom-in
zoom-out
enlarge
shrink
circle-right
circle-left
file-text2
info
cart
Тип техники
Не выбрано
Легковые автомобили
Грузовые автомобили и прицепы
Автобусы
Сельхозтехника
Спецтехника
Двигатели
Мототехника
Марка
Не выбрано
AGCO
Amity
CASE IH
DongFeng
Fortschritt
Foton
Franz Kleine
Gaspardo
Great Plains
KRONE
KUHN
Lemken
Lovol
MacDon
Massey Ferguson
New Holland
TIGARBO
Vaderstad
Versatile
Wirax
Агро
Агротехмаш
Бобруйскагромаш (ОАО «УКХ «Бобруйскагромаш»)
БЭМЗ
ВгТЗ
Воронежсельмаш
ВТЗ
Гомсельмаш
ДКЗ
ЗАО "Техника-сервис"
ЗиД
КЗК
Кировец-Ландтехник
Клевер
Красная Звезда
Лидагропроммаш
Лидсельмаш
ЛТЗ
Машстройхолдинг
Минитракторы
Мордовагромаш
МТЗ
Навигатор-Новое машиностроение
Нефтекамский автозавод
ПТЗ
Ремком
РСМ
Сибсельмаш
ТеКЗ
ТКЗ
ХЗТСШ
ХТЗ
ЮМЗ
Модель
Не выбрано
Achat 9/400 KA (2004)
Achat 9/500 KA (2004)
Achat 9/600 KA (2004)
Azurit 9 (2018)
Dolomit 9 (2010)
EuroDiamant 10 (2010)
EuroDiamant 10 X (2010)
EuroDiamant 8 (2010)
EuroGranat 5 (2006)
EuroGranat 6 (2006)
EuroGranat 7 (2006)
EurOpal 5 (2010)
EurOpal 5HX (2010)
EurOpal 6 (2010)
EurOpal 7 (2010)
EurOpal 7, EurOpal 7HX (2018)
EurOpal 7X (2010)
EurOpal 7X, EurOpal 7 HydriX (2018)
EurOpal 8 (2010)
EurOpal 9 (2010)
EuroTitan 10 (2010)
EuroTitan 10X (2010)
FixPack (2010)
Gigant 1000 (2010)
Gigant 1000 Smaragd (2010)
Gigant 800 (2010)
Gigant 800 S (2010)
Gigant 800 S Rubin (2006)
Gigant 800 Smaragd (2010)
Heliodor 9/600KA (2018)
Heliodor 9/700KA (2018)
Juwel 8M (2018)
Karat 9/600 KA (2016)
Kristall 9/500KA (2016)
Kristall 9/600KA (2016)
OptiDisc 25 (2018)
Primus 10 (Часть 1) (2017)
Primus 10 (Часть 2) (2017)
Quarz 7/250 (2010)
Quarz 7/250 F (2010)
Quarz 7/300 (2010)
Quarz 7/300F (2010)
Quarz 7/400 (2010)
Quarz 7/400F (2010)
Quarz 7/400K (2010)
Quarz 7/400KA (2010)
Quarz 7/500K (2010)
Quarz 7/500KA (2010)
Quarz 7/600K (2010)
Rubin 10/600 KUA (2018)
Rubin 10/700 KUA (2018)
Rubin 12/400 KUA (A) (2018)
Rubin 12/500 KUA (A) (2018)
Rubin 12/600 KUA (A) (2018)
Rubin 12/700 KUA (2018)
Rubin 9/300 U (2004)
Rubin 9/400 U (2004)
Saphir 7/300 (2010)
Saphir 7/400 (2010)
Smaragd 7/260 (2010)
Smaragd 7/300 (2010)
Smaragd 9/300 (2010)
Smaragd 9/400 (2010)
Smaragd 9/400 (2016)
Smaragd 9/400 K (2016)
Smaragd 9/400K (2010)
Smaragd 9/450K (2010)
Smaragd 9/500 K (2016)
Smaragd 9/500K (2004)
Smaragd 9/600 K (2016)
Smaragd 9/600K (2010)
Smaragd 9/600KA (2010)
Solitair 10/600K (2006)
Solitair 12/1000K (2007)
Solitair 12/1200K (2008)
Solitair 12/1200KD (2018)
Solitair 12/5800SW (2018)
Solitair 12/800K (2006)
Solitair 12/900K (2007)
Solitair 8/300 (2004)
Solitair 8/300 (2014)
Solitair 8/400 (2004)
Solitair 9/300 (2004)
Solitair 9/400 (2004)
Solitair 9/400K (2004)
Solitair 9/400KA (2004)
Solitair 9/450K (2004)
Solitair 9/450KA (2004)
Solitair 9/500K (2004)
Solitair 9/500KA (2009)
Solitair 9/600K (2004)
Solitair 9/600KA (2004)
System-Kompaktor Gigant 1000 (2010)
System-Kompaktor Gigant 800 (2010)
System-Kompaktor K450 (2010)
System-Kompaktor K450A (2010)
System-Kompaktor K500 (2010)
System-Kompaktor K500A (2010)
System-Kompaktor K600 (2010)
System-Kompaktor K600A (2010)
System-Kompaktor S300 (2010)
System-Kompaktor S400 (2010)
System-Korund 300 L (2010)
System-Korund 450 L (2010)
System-Korund 600 L (2010)
System-Korund 750 K (750 L) (2010)
System-Korund 900 K (2010)
System-Korund 900 L (2010)
Thorit 8/300 (2005)
Thorit 8/300 Combi-Liner (2004)
Thorit 8/400 (2010)
Thorit 8/400 Combi-Liner (2004)
Thorit 9/400 K (2004)
Thorit 9/400 KA (2003)
Thorit 9/450 K (2004)
Thorit 9/500 K (2004)
Thorit 9/500 KA (2003)
Thorit 9/600 K (2004)
Thorit 9/600 KA (2003)
Topas 140-A (2010)
Vari-Diamant 10 (2004)
Vari-Diamant 10X (2004)
Vari-Opal 100 (2014)
Vari-Opal 100HX (2014)
Vari-Opal 100X (2014)
Vari-Opal 160 (2014)
Vari-Opal X160 (2014)
Vari-Titan 10 (2010)
Vari-Turmalin 10 (2005)
Vari-Turmalin 10X (2005)
Variopack 110DP70 (2010)
Variopack 110DP90 (2010)
Variopack 110EP90 (2010)
Variopack 110FEPK700 (2010)
Variopack 80DP70 (2010)
Variopack S 110DP70 (2010)
VariOpal 5 (2010)
VariOpal 7 (2010)
VariOpal 7X (2010)
VariOpal 8 (2010)
VariOpal 8X (2010)
VariOpal 9 (2010)
VariOpal 9X (2010)
Zirkon 10/300 (2010)
Zirkon 10/400 (2010)
Zirkon 10/400K (2010)
Zirkon 10/450 (2010)
Zirkon 10/450K (2010)
Zirkon 10/450KA (2010)
Zirkon 10/500K (2010)
Zirkon 10/500KA (2010)
Zirkon 10/600KA (2010)
Zirkon 7/250 (2010)
Zirkon 7/300 (2010)
Zirkon 7/400 (2010)
Zirkon 9/300 (2010)
Zirkon 9/400 (2010)
Zirkon 9/600K "B" (2010)
Схема
>
Не выбрано
Quarz 7/500 KA
Basic frame Quarz 7/500 KA
Stand 70x22/110x110x600
Holder for track scraper FSU 110x110 Quarz 7/K+KA
Braking axle GS12008 55.72.448.000
Running axle GS7008 55.67.001.014
Wheel 8/221/575 Trelleborg 550/60-22.5 12PR/RE
Wheel 8/221/575 Trelleborg 550/60-22.5 12PR/LI
Wheel 8/221/575 12,5/80-18 12PR AW
Wheel 8/221/575 Alliance 700/50-22,5 12PR ET0
Wheel 8/221/575 Alliance 700/50-22,5 12PR ET0
Deichsel Kompaktor KA C
Deichsel Kompaktor KA C KG45
Trailer Quarz 7/400-600 KA
Harrow section 2,5m Quarz 7/500 K+KA
Harrow section 2,5m Quarz 7/500 K+KA
Harrow section 2,5m RE Quarz 7/500 K+KA
Harrow section 2,5m LI Quarz 7/500 K+KA
Harrow section 2,5m RE Quarz 7/500 K+KA
Harrow section 2,5m LI Quarz 7/500 K+KA
Harrow section 2,5m RE Quarz 7/500 K+KA
Harrow section 2,5m LI Quarz 7/500 K+KA
Trailing bar Quarz 7/500 K+KA
Feeding disc D450/60x20 RE Zirkon
Feeding disc D450/60x20 LI Zirkon
Adjuster Zirkon 9/500-K 9ST
Carrier TPW+ZPW500 Quarz 7
Carrier RSW 540
Packer roller ZPW D500-2,5m
Tube bar roller RSW D540-2.50
Tube bar roller D600-250 Quarz 7/K+KA
Trapezering roller TRW D500-250-B-20R
Trapeze packer roller TPW D500-250-20R125
Packer roller, short scraper ZPW D500-2,5m
Trapeze packer roller TPW D500-250-17R150
Trapeze disc roller TSW D500-250-20R-125
Rubber ring roller GRW D590-250-20R-125
Holder for track scraper FSU 70x70-40x20
Track scraper FSU-VS33 Quarz
Track scraper FSU+G25 40x20 Sy-Korund
Track scraper FSU P50/6 Sy-Korund
Track scraper with holder FSU+G25 40x20 Sy-Korund
Track scraper with holder FSU P50/6 Sy-Korund
Track scraper with holder FSU VS33 Quarz
Lower link connection ED68/55 L2 Z2
Lower link connection ED68/55 L3 Z2
Lower link connection ED68 L2 Z3
Lower link connection ED68 L3 Z3
Lower link connection ED68 L1100 Z58 K700
Depth limiter K700-B M24
Depth limiter K700 -B M30
Kupplungsteil FK 140x140 (Solitair 9KA)
Kupplungsteil FK 150x150x120 (Solitair 9KA)
Turnbuckle TG-370-M
Hydraulic lift linkage D50x200 L2 Z2
Three-way pressure balance LU8SSCK-QM22/04
Valve 6/3 LD8SE4D2525
Seat valve SVH04M878SA-OM14G12
Hydraulic assembly Ouarz 7/500 K
Hydraulic assembly Quarz 7/500 KA
HY-assembly lift linkage DZ 110x450
HY-assembly lift linkage DZ 110x450
HY-assembly track marker Zirkon 9/500 KA-US
Hydraulic braking assembly EZ 30x110 Quarz 7/KA
HY-pipe assembly folding Quarz 7/KA
HY-pipe assembly. 6/2 valve Quarz 7/KA
HY-pipe assembly Quarz 7/KA
HY-assembly pressure release Quarz 7/KA DZ100/200
HY-assembly control valve Quarz 7/KA -FW
HY-assembly trailer Quarz 7/KA DZ100/200
HY-pipe lift linkage Quarz 7/KA
HY-pipe assembly Quarz 7/KA
HY-pipe assembly Quarz 7/KA -SP
Hydraulic pipe Quarz 7/KA
HY-pipe seed drill drive Quarz 7/KA
HY-assembly control valve L8S Quarz 7/KA
HY-pipe assembly track marker Quarz 7 KA
HY-assembly track marker Quarz 7/500 K+KA
Hydraulic pipe Quarz 7 KA
HY-assembly control valve Quarz 7 KA S-LU8S
Hydraulic pipe Quarz 7/KA
Compressed-air brake Quarz 7/KA
Extension cable 22-polig 8m
Lighting equipment, front Quarz 7 KA
Control box ELFG104-XXXX
Cable form ELFG104-XXXX 10m
Shield Quarz 7
Lighting equipment, front Quarz 7 KA
Lighting equipment, rear KA 150x150
Transport protection Zirkon 9-K
Transport protection Zirkon 9-K
Transport protection Quarz 7/K+KA
Axle for track marker D30x595 668A
Holder Quarz 7/500 K+KA
Intermediate bracket Zirkon 500/K+600/K
Track marker Zirkon 500K +500KA
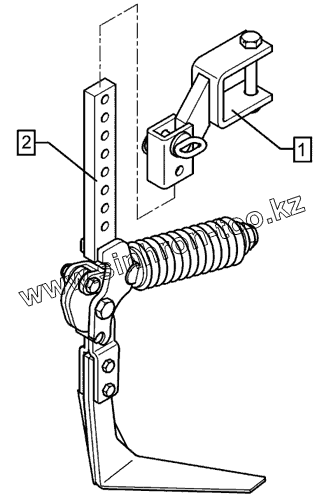
1
2
Позиция на иллюстрации
Заводской номер детали
Название детали
1
557 2520
Holder for track scraper
2
557 4992
Track scraper
Содержащиеся в справочниках-каталогах запасные части и детали не предлагаются к продаже, а носят исключительно информационный характер
Дополнительная информация
×
Название:
Номер:
Примечание: