Вернуться на главную
Поиск
Каталоги запчастей к технике
Сельхозтехника
Lemken
Quarz 7/500K
Hydraulic assembly SA 90x320-AHG-ST
Каталог запасных частей к технике: Lemken Quarz 7/500K. Hydraulic assembly SA 90x320-AHG-ST
zoom-in
zoom-out
enlarge
shrink
circle-right
circle-left
file-text2
info
cart
Тип техники
Не выбрано
Легковые автомобили
Грузовые автомобили и прицепы
Автобусы
Сельхозтехника
Спецтехника
Двигатели
Мототехника
Марка
Не выбрано
AGCO
Amity
CASE IH
DongFeng
Fortschritt
Foton
Franz Kleine
Gaspardo
Great Plains
KRONE
KUHN
Lemken
Lovol
MacDon
Massey Ferguson
New Holland
TIGARBO
Vaderstad
Versatile
Wirax
Агро
Агротехмаш
Бобруйскагромаш (ОАО «УКХ «Бобруйскагромаш»)
БЭМЗ
ВгТЗ
Воронежсельмаш
ВТЗ
Гомсельмаш
ДКЗ
ЗАО "Техника-сервис"
ЗиД
КЗК
Кировец-Ландтехник
Клевер
Красная Звезда
Лидагропроммаш
Лидсельмаш
ЛТЗ
Машстройхолдинг
Минитракторы
Мордовагромаш
МТЗ
Навигатор-Новое машиностроение
Нефтекамский автозавод
ПТЗ
Ремком
РСМ
Сибсельмаш
ТеКЗ
ТКЗ
ХЗТСШ
ХТЗ
ЮМЗ
Модель
Не выбрано
Achat 9/400 KA (2004)
Achat 9/500 KA (2004)
Achat 9/600 KA (2004)
Azurit 9 (2018)
Dolomit 9 (2010)
EuroDiamant 10 (2010)
EuroDiamant 10 X (2010)
EuroDiamant 8 (2010)
EuroGranat 5 (2006)
EuroGranat 6 (2006)
EuroGranat 7 (2006)
EurOpal 5 (2010)
EurOpal 5HX (2010)
EurOpal 6 (2010)
EurOpal 7 (2010)
EurOpal 7, EurOpal 7HX (2018)
EurOpal 7X (2010)
EurOpal 7X, EurOpal 7 HydriX (2018)
EurOpal 8 (2010)
EurOpal 9 (2010)
EuroTitan 10 (2010)
EuroTitan 10X (2010)
FixPack (2010)
Gigant 1000 (2010)
Gigant 1000 Smaragd (2010)
Gigant 800 (2010)
Gigant 800 S (2010)
Gigant 800 S Rubin (2006)
Gigant 800 Smaragd (2010)
Heliodor 9/600KA (2018)
Heliodor 9/700KA (2018)
Juwel 8M (2018)
Karat 9/600 KA (2016)
Kristall 9/500KA (2016)
Kristall 9/600KA (2016)
OptiDisc 25 (2018)
Primus 10 (Часть 1) (2017)
Primus 10 (Часть 2) (2017)
Quarz 7/250 (2010)
Quarz 7/250 F (2010)
Quarz 7/300 (2010)
Quarz 7/300F (2010)
Quarz 7/400 (2010)
Quarz 7/400F (2010)
Quarz 7/400K (2010)
Quarz 7/400KA (2010)
Quarz 7/500K (2010)
Quarz 7/500KA (2010)
Quarz 7/600K (2010)
Rubin 10/600 KUA (2018)
Rubin 10/700 KUA (2018)
Rubin 12/400 KUA (A) (2018)
Rubin 12/500 KUA (A) (2018)
Rubin 12/600 KUA (A) (2018)
Rubin 12/700 KUA (2018)
Rubin 9/300 U (2004)
Rubin 9/400 U (2004)
Saphir 7/300 (2010)
Saphir 7/400 (2010)
Smaragd 7/260 (2010)
Smaragd 7/300 (2010)
Smaragd 9/300 (2010)
Smaragd 9/400 (2010)
Smaragd 9/400 (2016)
Smaragd 9/400 K (2016)
Smaragd 9/400K (2010)
Smaragd 9/450K (2010)
Smaragd 9/500 K (2016)
Smaragd 9/500K (2004)
Smaragd 9/600 K (2016)
Smaragd 9/600K (2010)
Smaragd 9/600KA (2010)
Solitair 10/600K (2006)
Solitair 12/1000K (2007)
Solitair 12/1200K (2008)
Solitair 12/1200KD (2018)
Solitair 12/5800SW (2018)
Solitair 12/800K (2006)
Solitair 12/900K (2007)
Solitair 8/300 (2004)
Solitair 8/300 (2014)
Solitair 8/400 (2004)
Solitair 9/300 (2004)
Solitair 9/400 (2004)
Solitair 9/400K (2004)
Solitair 9/400KA (2004)
Solitair 9/450K (2004)
Solitair 9/450KA (2004)
Solitair 9/500K (2004)
Solitair 9/500KA (2009)
Solitair 9/600K (2004)
Solitair 9/600KA (2004)
System-Kompaktor Gigant 1000 (2010)
System-Kompaktor Gigant 800 (2010)
System-Kompaktor K450 (2010)
System-Kompaktor K450A (2010)
System-Kompaktor K500 (2010)
System-Kompaktor K500A (2010)
System-Kompaktor K600 (2010)
System-Kompaktor K600A (2010)
System-Kompaktor S300 (2010)
System-Kompaktor S400 (2010)
System-Korund 300 L (2010)
System-Korund 450 L (2010)
System-Korund 600 L (2010)
System-Korund 750 K (750 L) (2010)
System-Korund 900 K (2010)
System-Korund 900 L (2010)
Thorit 8/300 (2005)
Thorit 8/300 Combi-Liner (2004)
Thorit 8/400 (2010)
Thorit 8/400 Combi-Liner (2004)
Thorit 9/400 K (2004)
Thorit 9/400 KA (2003)
Thorit 9/450 K (2004)
Thorit 9/500 K (2004)
Thorit 9/500 KA (2003)
Thorit 9/600 K (2004)
Thorit 9/600 KA (2003)
Topas 140-A (2010)
Vari-Diamant 10 (2004)
Vari-Diamant 10X (2004)
Vari-Opal 100 (2014)
Vari-Opal 100HX (2014)
Vari-Opal 100X (2014)
Vari-Opal 160 (2014)
Vari-Opal X160 (2014)
Vari-Titan 10 (2010)
Vari-Turmalin 10 (2005)
Vari-Turmalin 10X (2005)
Variopack 110DP70 (2010)
Variopack 110DP90 (2010)
Variopack 110EP90 (2010)
Variopack 110FEPK700 (2010)
Variopack 80DP70 (2010)
Variopack S 110DP70 (2010)
VariOpal 5 (2010)
VariOpal 7 (2010)
VariOpal 7X (2010)
VariOpal 8 (2010)
VariOpal 8X (2010)
VariOpal 9 (2010)
VariOpal 9X (2010)
Zirkon 10/300 (2010)
Zirkon 10/400 (2010)
Zirkon 10/400K (2010)
Zirkon 10/450 (2010)
Zirkon 10/450K (2010)
Zirkon 10/450KA (2010)
Zirkon 10/500K (2010)
Zirkon 10/500KA (2010)
Zirkon 10/600KA (2010)
Zirkon 7/250 (2010)
Zirkon 7/300 (2010)
Zirkon 7/400 (2010)
Zirkon 9/300 (2010)
Zirkon 9/400 (2010)
Zirkon 9/600K "B" (2010)
Схема
>
Не выбрано
Quarz 7/500 K
Basic frame Quarz 7/500 K
Stand 60x20x555
Support 26,9x277 1x90 D16,25
Top link pin with chain KAT2G D25,4/31,7x158
Top link pin with chain KAT3G D31,7/25,4x158
Harrow section 2,5m Quarz 7/500 K+KA
Harrow section 2,5m Quarz 7/500 K+KA
Harrow section 2,5m RE Quarz 7/500 K+KA
Harrow section 2,5m LI Quarz 7/500 K+KA
Harrow section 2,5m RE Quarz 7/500 K+KA
Harrow section 2,5m LI Quarz 7/500 K+KA
Harrow section 2,5m RE Quarz 7/500 K+KA
Harrow section 2,5m LI Quarz 7/500 K+KA
Adjuster Zirkon 9/500-K 9ST
Shield Quarz 7
Trailing bar Quarz 7/500 K+KA
Carrier TPW+ZPW500 Quarz 7
Carrier RSW 540
Holder Quarz 7/K
Holder for track scraper FSU 110x110 Quarz 7/K+KA
Holder set Quarz 7 Front
Tube bar roller RSW D400-2,5m
Packer roller ZPW D500-2,5m
Tube bar roller RSW D540-2.50
Trapezering roller TRW D500-250-B-20R
Trapeze packer roller TPW D500-250-20R125
Packer roller, short scraper ZPW D500-2,5m
Trapeze disc roller TSW D500-250-20R-125
Holder for track scraper FSU 70x70-40x20
Holder 70x70x255
Holder 110x283
Track scraper FSU-VS33 Quarz
Track scraper FSU+G25 40x20 Sy-Korund
Track scraper FSU P50/6 Sy-Korund
Holder Quarz 7/500 K+KA
Track scraper with holder FSU+G25 40x20 Sy-Korund
Track scraper with holder FSU P50/6 Sy-Korund
Track scraper with holder FSU VS33 Quarz
Track scraper with holder FSU+G25 40x20 Quarz
Track scraper with holder FSU P50/6 Quarz
Track scraper with holder FSU P50/6 Quarz
Track scraper with holder FSU+G25 40x20 Quarz
Lower link connection D68/P L2 Z3
Lower link connection D68/P L3 Z3
Fittings FK Solitair/Zirkon 9
Fittings Zirkon 9-Solitair KA
Hydraulic lift linkage Zirkon 9-K-AHG-ST
Turnbuckle TG-370-M
Hydraulic lift linkage Zirkon 9-K Saschiene
Front headstock FAB-Zirkon 9/9K L2
Front headstock FAB-Quarz 7K L2
Hydraulic assembly Ouarz 7/500 K
Hydraulic assembly Quarz 7/500 K
Hydraulic assembly SA 80x320-AHG-ST
Hydraulic assembly SA 90x320-AHG-ST
Hydraulic assembly DA 80x320-AHG-ST
Hydraulic assembly DA 90x320-AHG-ST
Hydraulic assembly DA 2x63x245 HG-ST
Conversion-set lift limiter AHG-HB
HY-assembly track marker Zirkon 9/500-K
Intermediate bracket Zirkon 500/K+600/K
Track marker Zirkon 500K +500KA
Carrier for light LH 14
Lighting equipment, front Zirkon 9/K
Lighting equipment with boards HR+HL 4m
Transport protection Zirkon 9-K
Transport protection Zirkon 9-K
Transport protection Quarz 7/K+KA
Axle for track marker D30x595 668A
Feeding disc D450/60x20 RE Zirkon
Feeding disc D450/60x20 LI Zirkon
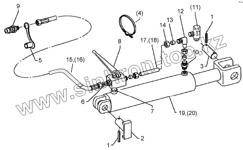
1
1
2
3
4
5
6
7
8
9
10
11
12
13
14
15
16
17
18
19
20
Позиция на иллюстрации
Заводской номер детали
Название детали
1
309 7000
Expansion bush
2
313 3005
Pin with stop
3
313 3012
Pin
4
325 1180
Hose clip
5
375 2166
Cap, red
6
375 2173
Throttle plate
7
375 2196
Vent plug
8
375 2199
Valve
9
375 2718
SVK-socket
10
375 4020
Nipple
11
375 4311
Union, swivel
12
375 4500
Adjustable angle union
13
375 5110
Cutting ring
14
375 5310
Union nut
15
475 2618
High-pressure hose
16
475 2656
High-pressure hose
17
475 8848
Tube
18
475 8866
Tube
19
575 2283
Ram
20
575 2299
Ram
Содержащиеся в справочниках-каталогах запасные части и детали не предлагаются к продаже, а носят исключительно информационный характер
Дополнительная информация
×
Название:
Номер:
Примечание: