Вернуться на главную
Поиск
Каталоги запчастей к технике
Сельхозтехника
Lemken
Kristall 9/500KA
62210150 Trapeze packer roller
Каталог запасных частей к технике: Lemken Kristall 9/500KA. 62210150 Trapeze packer roller
zoom-in
zoom-out
enlarge
shrink
circle-right
circle-left
file-text2
info
cart
Тип техники
Не выбрано
Легковые автомобили
Грузовые автомобили и прицепы
Автобусы
Сельхозтехника
Спецтехника
Двигатели
Мототехника
Марка
Не выбрано
AGCO
Amity
CASE IH
DongFeng
Fortschritt
Foton
Franz Kleine
Gaspardo
Great Plains
KRONE
KUHN
Lemken
Lovol
MacDon
Massey Ferguson
New Holland
TIGARBO
Vaderstad
Versatile
Wirax
Агро
Агротехмаш
Бобруйскагромаш (ОАО «УКХ «Бобруйскагромаш»)
БЭМЗ
ВгТЗ
Воронежсельмаш
ВТЗ
Гомсельмаш
ДКЗ
ЗАО "Техника-сервис"
ЗиД
КЗК
Кировец-Ландтехник
Клевер
Красная Звезда
Лидагропроммаш
Лидсельмаш
ЛТЗ
Машстройхолдинг
Минитракторы
Мордовагромаш
МТЗ
Навигатор-Новое машиностроение
Нефтекамский автозавод
ПТЗ
Ремком
РСМ
Сибсельмаш
ТеКЗ
ТКЗ
ХЗТСШ
ХТЗ
ЮМЗ
Модель
Не выбрано
Achat 9/400 KA (2004)
Achat 9/500 KA (2004)
Achat 9/600 KA (2004)
Azurit 9 (2018)
Dolomit 9 (2010)
EuroDiamant 10 (2010)
EuroDiamant 10 X (2010)
EuroDiamant 8 (2010)
EuroGranat 5 (2006)
EuroGranat 6 (2006)
EuroGranat 7 (2006)
EurOpal 5 (2010)
EurOpal 5HX (2010)
EurOpal 6 (2010)
EurOpal 7 (2010)
EurOpal 7, EurOpal 7HX (2018)
EurOpal 7X (2010)
EurOpal 7X, EurOpal 7 HydriX (2018)
EurOpal 8 (2010)
EurOpal 9 (2010)
EuroTitan 10 (2010)
EuroTitan 10X (2010)
FixPack (2010)
Gigant 1000 (2010)
Gigant 1000 Smaragd (2010)
Gigant 800 (2010)
Gigant 800 S (2010)
Gigant 800 S Rubin (2006)
Gigant 800 Smaragd (2010)
Heliodor 9/600KA (2018)
Heliodor 9/700KA (2018)
Juwel 8M (2018)
Karat 9/600 KA (2016)
Kristall 9/500KA (2016)
Kristall 9/600KA (2016)
OptiDisc 25 (2018)
Primus 10 (Часть 1) (2017)
Primus 10 (Часть 2) (2017)
Quarz 7/250 (2010)
Quarz 7/250 F (2010)
Quarz 7/300 (2010)
Quarz 7/300F (2010)
Quarz 7/400 (2010)
Quarz 7/400F (2010)
Quarz 7/400K (2010)
Quarz 7/400KA (2010)
Quarz 7/500K (2010)
Quarz 7/500KA (2010)
Quarz 7/600K (2010)
Rubin 10/600 KUA (2018)
Rubin 10/700 KUA (2018)
Rubin 12/400 KUA (A) (2018)
Rubin 12/500 KUA (A) (2018)
Rubin 12/600 KUA (A) (2018)
Rubin 12/700 KUA (2018)
Rubin 9/300 U (2004)
Rubin 9/400 U (2004)
Saphir 7/300 (2010)
Saphir 7/400 (2010)
Smaragd 7/260 (2010)
Smaragd 7/300 (2010)
Smaragd 9/300 (2010)
Smaragd 9/400 (2010)
Smaragd 9/400 (2016)
Smaragd 9/400 K (2016)
Smaragd 9/400K (2010)
Smaragd 9/450K (2010)
Smaragd 9/500 K (2016)
Smaragd 9/500K (2004)
Smaragd 9/600 K (2016)
Smaragd 9/600K (2010)
Smaragd 9/600KA (2010)
Solitair 10/600K (2006)
Solitair 12/1000K (2007)
Solitair 12/1200K (2008)
Solitair 12/1200KD (2018)
Solitair 12/5800SW (2018)
Solitair 12/800K (2006)
Solitair 12/900K (2007)
Solitair 8/300 (2004)
Solitair 8/300 (2014)
Solitair 8/400 (2004)
Solitair 9/300 (2004)
Solitair 9/400 (2004)
Solitair 9/400K (2004)
Solitair 9/400KA (2004)
Solitair 9/450K (2004)
Solitair 9/450KA (2004)
Solitair 9/500K (2004)
Solitair 9/500KA (2009)
Solitair 9/600K (2004)
Solitair 9/600KA (2004)
System-Kompaktor Gigant 1000 (2010)
System-Kompaktor Gigant 800 (2010)
System-Kompaktor K450 (2010)
System-Kompaktor K450A (2010)
System-Kompaktor K500 (2010)
System-Kompaktor K500A (2010)
System-Kompaktor K600 (2010)
System-Kompaktor K600A (2010)
System-Kompaktor S300 (2010)
System-Kompaktor S400 (2010)
System-Korund 300 L (2010)
System-Korund 450 L (2010)
System-Korund 600 L (2010)
System-Korund 750 K (750 L) (2010)
System-Korund 900 K (2010)
System-Korund 900 L (2010)
Thorit 8/300 (2005)
Thorit 8/300 Combi-Liner (2004)
Thorit 8/400 (2010)
Thorit 8/400 Combi-Liner (2004)
Thorit 9/400 K (2004)
Thorit 9/400 KA (2003)
Thorit 9/450 K (2004)
Thorit 9/500 K (2004)
Thorit 9/500 KA (2003)
Thorit 9/600 K (2004)
Thorit 9/600 KA (2003)
Topas 140-A (2010)
Vari-Diamant 10 (2004)
Vari-Diamant 10X (2004)
Vari-Opal 100 (2014)
Vari-Opal 100HX (2014)
Vari-Opal 100X (2014)
Vari-Opal 160 (2014)
Vari-Opal X160 (2014)
Vari-Titan 10 (2010)
Vari-Turmalin 10 (2005)
Vari-Turmalin 10X (2005)
Variopack 110DP70 (2010)
Variopack 110DP90 (2010)
Variopack 110EP90 (2010)
Variopack 110FEPK700 (2010)
Variopack 80DP70 (2010)
Variopack S 110DP70 (2010)
VariOpal 5 (2010)
VariOpal 7 (2010)
VariOpal 7X (2010)
VariOpal 8 (2010)
VariOpal 8X (2010)
VariOpal 9 (2010)
VariOpal 9X (2010)
Zirkon 10/300 (2010)
Zirkon 10/400 (2010)
Zirkon 10/400K (2010)
Zirkon 10/450 (2010)
Zirkon 10/450K (2010)
Zirkon 10/450KA (2010)
Zirkon 10/500K (2010)
Zirkon 10/500KA (2010)
Zirkon 10/600KA (2010)
Zirkon 7/250 (2010)
Zirkon 7/300 (2010)
Zirkon 7/400 (2010)
Zirkon 9/300 (2010)
Zirkon 9/400 (2010)
Zirkon 9/600K "B" (2010)
Схема
>
Не выбрано
Contents
59010003 Label
6178148 Hydraulic locking device
61710004 Basic frame
61710005 Basic frame
6405270 Headstock
64010014 Headstock
3137927 Top link pin with chain
3137929 Top link pin with chain
33110031 Safety chain
54010003 Headstock
64010003 Drawbar
64010004 Drawbar
64010011 Headstock
64010012 Cross union
64010017 Headstock
64010018 Cross union
64010025 Drawbar
64010026 Drawbar
64010032 Headstock
6611369 Lower link connection
6611371 Lower link connection
6611413 Lower link connection
6611414 Lower link connection
6611417 Lower link connection
6616163 Depth limiter
6618369 Fitting
6618511 Hydraulic lift linkage
6177119 Adapter for packer roller
6220150 Holder
6220152 Holder
6220188 Holder
6221052 Stabilizer
6226872 Rubber ring roller
6226939 Knife roller
6226943 Knife roller
6227274 Tube bar roller
6227293 Tube bar roller
6227337 Double roller
6227387 Double roller
6227441 Trapeze packer roller
6227446 Trapeze packer roller
6227481 Double profile roller
6228333 Double roller
62210008 Flexring roller
62210054 Trapeze packer roller
62210055 Trapeze packer roller
62210148 Trapeze packer roller
62210149 Trapeze packer roller
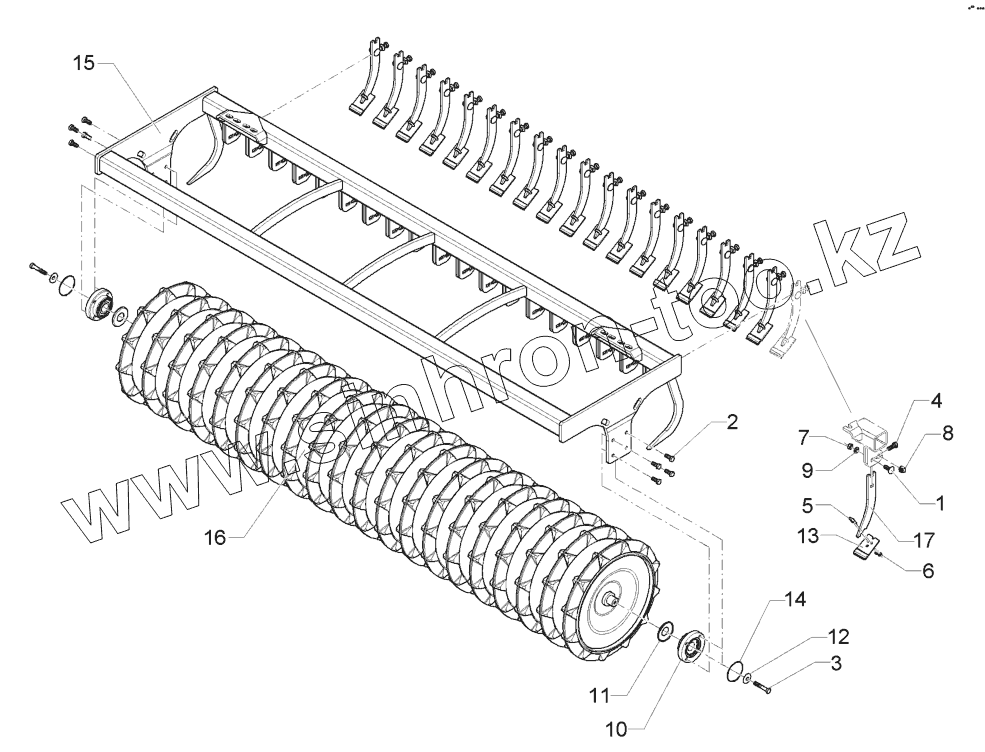
62210150 Trapeze packer roller
62210151 Trapeze packer roller
62210178 Holder
6178430 Support linkage
6178431 Support linkage
6178464 Frame
6178465 Frame
6178471 Adjuster support
6178624 Frame for hollow discs
6178625 Frame for hollow discs
61710019 Adjuster support
61710022 Stop plate
6275695 Overload safety device
6275714 Adapter
6572481 Pair of hollow discs
6572485 Concave disc
6572490 Bracket for outer disc
6572494 Concave disc
65710018 Side shield
65710019 Side shield
6275731 Overload safety device
6654099 Tine for foot with wedge
6996345 Tine
6996346 Foot
6996347 Foot additional
6996348 Foot
6996349 Foot additional
6996350 Tine
6996354 Foot additional
6996355 Foot additional
3216964 Eccentric lever
5498849 Wheel 5/94/140 D14
5498893 Bearing
5508516 Running axle
5508520 Running axle
5508524 Braking axle
5508872 Wheel 8/221/275
5508873 Wheel 8/221/275
5508884 Wheel 8/221/275
5508885 Wheel 8/221/275
5508900 Wheel 8/221/275
55010066 Wheel
55010067 Wheel
6472520 Depth wheel
6477488 Wheel bracket
6477489 Wheel bracket
6508524 Braking axle
6508525 Running axle
6508526 Running axle
6508538 Braking axle
65010002 Trailer
65010004 Trailer
65010010 Parking brake
65010011 Parking brake
67010116 Wheel chock
67510121 Hydraulic braking assembly
67510122 HY-brake assembly transport
67510123 HY-brake assembly transport
67710007 Compressed air brake
67710008 Compressed air brake
67710009 Compressed-air brake
67710010 Compressed-air brake
69910274 Braking axle
69910275 Braking axle
5752262 Hydraulic ram
5752269 Hydraulic ram
5752312 Plunger-ram
5752318 Hydraulic ram
5752323 Hydraulic ram
5752336 Hydraulic ram
5752356 Hydraulic ram
5752550 Hydraulic ram
5756601 Adapter
57510076 Assembly group
57510105 Directional valve
57510576 Flow devider
57510582 Hydraulic ram
57510584 Hydraulic ram
57510769 Control valve unit
6755305 HY-assembly lift linkage
6755306 HY-assembly lift linkage
6755827 Traction increase
67510065 Folding device
67510068 Hydraulic depth adjuster
67510070 HY-pipe assembly
67510071 HY-pipe assembly
67510072 HY-pipe assembly
67510073 HY-pipe assembly
67510074 HY-pipe assembly folding dev.
67510075 HY-pipe assembly folding dev.
67510076 Hydraulic assembly
67510077 Hydraulic assembly
67510078 Hydraulic assembly
67510079 Hydraulic assembly
67510080 HY-pipe lifting device
67510081 HY-pipe lifting device
67510082 HY-pipe assembly
67510083 HY-pipe assembly
67510087 HY-assembly track marker
67510088 HY-assembly track marker
67510091 HY-pipe assembly
67510092 HY-pipe assembly
67510093 HY-pipe assembly
67510094 HY-pipe assembly
67510095 HY-pipe assembly
67510096 HY-pipe assembly
67510318 HY-pipe assembly
67510319 HY-pipe assembly
67510324 Depth adjuster
3734261 Cable
37310065 Basic cable
37310075 Basic cable
37310160 Basic cable
37310163 Basic cable
5701758 Lighting unit
5701759 Lighting unit
57010014 Warning board
57010015 Warning board
57310152 Extension cable
6700647 Board
6706120 Transport protection
6706121 Transport protection
6706122 Transport protection
6706123 Transport protection
67010009 Lighting equipment
67010026 Lighting equipment
67010027 Lighting equipment
67010048 Transport protection
67010049 Transport protection
67010055 Lighting equipment
67010056 Lighting equipment
67010057 Lighting equipment
67010070 Lighting enlargement
67010175 Holder plate
67010176 Holder plate
6736163 Extension
67310098 Extension
67310157 Extension cable
5821248 Axle for track marker
5821276 Additional parts locking dev.
6821329 Track marker
68210040 Bracket for track marker
68210041 Bracket for track marker
1
2
3
4
5
6
7
8
9
10
11
12
13
14
15
16
17
Позиция на иллюстрации
Заводской номер детали
Название детали
1
301 1811
Saucer-head screw
2
301 3324
Screw
3
301 3406
Bolt
4
301 7334
Screw
5
301 7760
U-bolt
6
303 0932
Selflocking nut
7
303 0934
Selflocking nut
8
30310016
Nut
9
305 8580
Washer
10
319 9372
Bearing cpl.
11
323 0411
Cap
12
329 6124
Cup spring
13
34910018
Scraper
14
375 1277
O-ring
15
42210132
Supporting frame
16
423 2231
Trapeze packer roller
17
42310026
Carrier for scraper
Содержащиеся в справочниках-каталогах запасные части и детали не предлагаются к продаже, а носят исключительно информационный характер
Дополнительная информация
×
Название:
Номер:
Примечание: