Каталог запасных частей к технике: Lemken Gigant 1000. Basic frame Gigant1000-250x250x1500
1
2
3
4
5
6
7
8
8
9
10
11
12
13
14
15
16
17
18
19
20
21
22
23
24
25
26
27
28
29
30
30
31
32
32
32
33
34
35
36
37
38
39
40
41
42
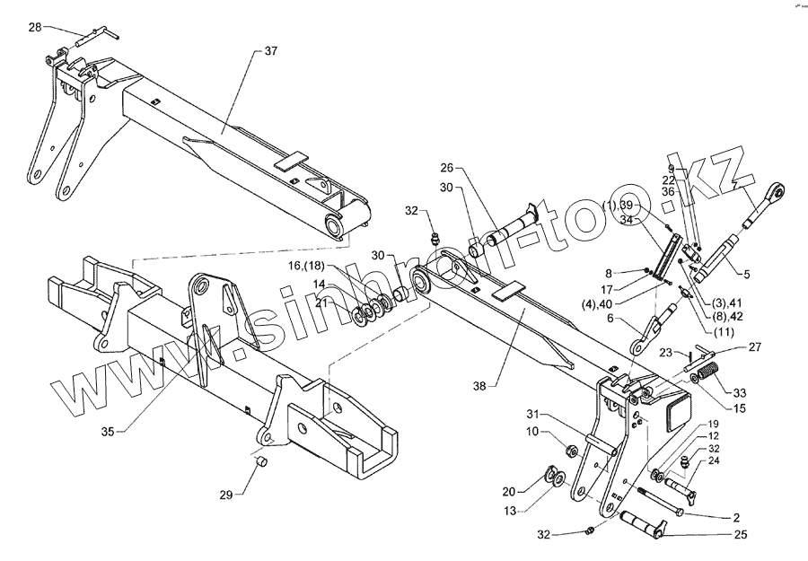
| Позиция на иллюстрации | Заводской номер детали | Название детали | |
|---|---|---|---|
| 1 | 301 3211 | Screw | |
| 2 | 301 4860 | Bolt | |
| 3 | 301 7341 | Bolt | |
| 4 | 301 3383 | Bolt | |
| 5 | 302 8937 | Threaded sleeve | |
| 6 | 302 9018 | Joint | |
| 7 | 302 9033 | Joint | |
| 8 | 303 0934 | Selflocking nut | |
| 9 | 303 1100 | Nut | |
| 10 | 303 0937 | Selflocking nut | |
| 11 | 303 3110 | Impact nut | |
| 12 | 305 2072 | Shim | |
| 13 | 305 2150 | Shim | |
| 14 | 305 2170 | Shim | |
| 15 | 305 2240 | Supporting washer | |
| 16 | 305 2261 | Supporting washer | |
| 17 | 305 6128 | Washer | |
| 18 | 305 6910 | Washer | |
| 19 | 305 8873 | Securing ring | |
| 20 | 305 8877 | Securing ring | |
| 21 | 305 8882 | Securing ring | |
| 22 | 305 9884 | Spring ring | |
| 23 | 309 6072 | Expansion bush | |
| 24 | 313 3514 | Pin with stop | |
| 25 | 313 5037 | Pin with stop | |
| 26 | 313 8135 | Pin with stop | |
| 27 | 313 8282 | Locking pin | |
| 28 | 313 8283 | Locking pin | |
| 29 | 317 2007 | Expansion bush | |
| 30 | 317 3393 | Expansion bush | |
| 31 | 317 6659 | Tube | |
| 32 | 323 6348 | Grease nipple | |
| 33 | 329 8164 | Spring | |
| 34 | 321 6972 | Holder | |
| 35 | 425 6020 | Center section | |
| 36 | 329 1798 | U-spring | |
| 37 | 425 6032 | Lateral part | |
| 38 | 425 6033 | Lateral part | |
| 39 | 301 3224 | Screw | |
| 40 | 301 5452 | Bolt | |
| 41 | 301 5424 | Bolt | |
| 42 | 303 0933 | Selflocking nut |
Содержащиеся в справочниках-каталогах запасные части и детали не предлагаются к продаже, а носят исключительно информационный характер