Вернуться на главную
Поиск
Каталоги запчастей к технике
Сельхозтехника
Lemken
EurOpal 9
Basic frame E9-160-6-1000
Каталог запасных частей к технике: Lemken EurOpal 9. Basic frame E9-160-6-1000
zoom-in
zoom-out
enlarge
shrink
circle-right
circle-left
file-text2
info
cart
Тип техники
Не выбрано
Легковые автомобили
Грузовые автомобили и прицепы
Автобусы
Сельхозтехника
Спецтехника
Двигатели
Мототехника
Марка
Не выбрано
AGCO
Amity
CASE IH
DongFeng
Fortschritt
Foton
Franz Kleine
Gaspardo
Great Plains
KRONE
KUHN
Lemken
Lovol
MacDon
Massey Ferguson
New Holland
TIGARBO
Vaderstad
Versatile
Wirax
Агро
Агротехмаш
Бобруйскагромаш (ОАО «УКХ «Бобруйскагромаш»)
БЭМЗ
ВгТЗ
Воронежсельмаш
ВТЗ
Гомсельмаш
ДКЗ
ЗАО "Техника-сервис"
ЗиД
КЗК
Кировец-Ландтехник
Клевер
Красная Звезда
Лидагропроммаш
Лидсельмаш
ЛТЗ
Машстройхолдинг
Минитракторы
Мордовагромаш
МТЗ
Навигатор-Новое машиностроение
Нефтекамский автозавод
ПТЗ
Ремком
РСМ
Сибсельмаш
ТеКЗ
ТКЗ
ХЗТСШ
ХТЗ
ЮМЗ
Модель
Не выбрано
Achat 9/400 KA (2004)
Achat 9/500 KA (2004)
Achat 9/600 KA (2004)
Azurit 9 (2018)
Dolomit 9 (2010)
EuroDiamant 10 (2010)
EuroDiamant 10 X (2010)
EuroDiamant 8 (2010)
EuroGranat 5 (2006)
EuroGranat 6 (2006)
EuroGranat 7 (2006)
EurOpal 5 (2010)
EurOpal 5HX (2010)
EurOpal 6 (2010)
EurOpal 7 (2010)
EurOpal 7, EurOpal 7HX (2018)
EurOpal 7X (2010)
EurOpal 7X, EurOpal 7 HydriX (2018)
EurOpal 8 (2010)
EurOpal 9 (2010)
EuroTitan 10 (2010)
EuroTitan 10X (2010)
FixPack (2010)
Gigant 1000 (2010)
Gigant 1000 Smaragd (2010)
Gigant 800 (2010)
Gigant 800 S (2010)
Gigant 800 S Rubin (2006)
Gigant 800 Smaragd (2010)
Heliodor 9/600KA (2018)
Heliodor 9/700KA (2018)
Juwel 8M (2018)
Karat 9/600 KA (2016)
Kristall 9/500KA (2016)
Kristall 9/600KA (2016)
OptiDisc 25 (2018)
Primus 10 (Часть 1) (2017)
Primus 10 (Часть 2) (2017)
Quarz 7/250 (2010)
Quarz 7/250 F (2010)
Quarz 7/300 (2010)
Quarz 7/300F (2010)
Quarz 7/400 (2010)
Quarz 7/400F (2010)
Quarz 7/400K (2010)
Quarz 7/400KA (2010)
Quarz 7/500K (2010)
Quarz 7/500KA (2010)
Quarz 7/600K (2010)
Rubin 10/600 KUA (2018)
Rubin 10/700 KUA (2018)
Rubin 12/400 KUA (A) (2018)
Rubin 12/500 KUA (A) (2018)
Rubin 12/600 KUA (A) (2018)
Rubin 12/700 KUA (2018)
Rubin 9/300 U (2004)
Rubin 9/400 U (2004)
Saphir 7/300 (2010)
Saphir 7/400 (2010)
Smaragd 7/260 (2010)
Smaragd 7/300 (2010)
Smaragd 9/300 (2010)
Smaragd 9/400 (2010)
Smaragd 9/400 (2016)
Smaragd 9/400 K (2016)
Smaragd 9/400K (2010)
Smaragd 9/450K (2010)
Smaragd 9/500 K (2016)
Smaragd 9/500K (2004)
Smaragd 9/600 K (2016)
Smaragd 9/600K (2010)
Smaragd 9/600KA (2010)
Solitair 10/600K (2006)
Solitair 12/1000K (2007)
Solitair 12/1200K (2008)
Solitair 12/1200KD (2018)
Solitair 12/5800SW (2018)
Solitair 12/800K (2006)
Solitair 12/900K (2007)
Solitair 8/300 (2004)
Solitair 8/300 (2014)
Solitair 8/400 (2004)
Solitair 9/300 (2004)
Solitair 9/400 (2004)
Solitair 9/400K (2004)
Solitair 9/400KA (2004)
Solitair 9/450K (2004)
Solitair 9/450KA (2004)
Solitair 9/500K (2004)
Solitair 9/500KA (2009)
Solitair 9/600K (2004)
Solitair 9/600KA (2004)
System-Kompaktor Gigant 1000 (2010)
System-Kompaktor Gigant 800 (2010)
System-Kompaktor K450 (2010)
System-Kompaktor K450A (2010)
System-Kompaktor K500 (2010)
System-Kompaktor K500A (2010)
System-Kompaktor K600 (2010)
System-Kompaktor K600A (2010)
System-Kompaktor S300 (2010)
System-Kompaktor S400 (2010)
System-Korund 300 L (2010)
System-Korund 450 L (2010)
System-Korund 600 L (2010)
System-Korund 750 K (750 L) (2010)
System-Korund 900 K (2010)
System-Korund 900 L (2010)
Thorit 8/300 (2005)
Thorit 8/300 Combi-Liner (2004)
Thorit 8/400 (2010)
Thorit 8/400 Combi-Liner (2004)
Thorit 9/400 K (2004)
Thorit 9/400 KA (2003)
Thorit 9/450 K (2004)
Thorit 9/500 K (2004)
Thorit 9/500 KA (2003)
Thorit 9/600 K (2004)
Thorit 9/600 KA (2003)
Topas 140-A (2010)
Vari-Diamant 10 (2004)
Vari-Diamant 10X (2004)
Vari-Opal 100 (2014)
Vari-Opal 100HX (2014)
Vari-Opal 100X (2014)
Vari-Opal 160 (2014)
Vari-Opal X160 (2014)
Vari-Titan 10 (2010)
Vari-Turmalin 10 (2005)
Vari-Turmalin 10X (2005)
Variopack 110DP70 (2010)
Variopack 110DP90 (2010)
Variopack 110EP90 (2010)
Variopack 110FEPK700 (2010)
Variopack 80DP70 (2010)
Variopack S 110DP70 (2010)
VariOpal 5 (2010)
VariOpal 7 (2010)
VariOpal 7X (2010)
VariOpal 8 (2010)
VariOpal 8X (2010)
VariOpal 9 (2010)
VariOpal 9X (2010)
Zirkon 10/300 (2010)
Zirkon 10/400 (2010)
Zirkon 10/400K (2010)
Zirkon 10/450 (2010)
Zirkon 10/450K (2010)
Zirkon 10/450KA (2010)
Zirkon 10/500K (2010)
Zirkon 10/500KA (2010)
Zirkon 10/600KA (2010)
Zirkon 7/250 (2010)
Zirkon 7/300 (2010)
Zirkon 7/400 (2010)
Zirkon 9/300 (2010)
Zirkon 9/400 (2010)
Zirkon 9/600K "B" (2010)
Схема
>
Не выбрано
Contents
Top link pin with chain KAT2G D25,4/31,7x158
Top link pin with chain KAT3G D31,7/25,4x158
Turnover mechanism E120
Turnover mechanism E120-L
Turnover mechanism E120-OF
Locking device D25x260
Adjustment centre E-60/650
Adjustment centre E-60/650 HY
Adjustment centre E-60/1031 OF
Adjustment centre E-60/1035 HY OF
Stand R750-800
Stand R750-800
Stand R850-900
Stand R750-800 D120 HY
Stand R850-900 D120 HY
Stand V-R750-800 915mm
Lower link connection E55 L2 Z2
Lower link connection E55 L2 Z3
Lower link connection E55 L3 Z2
Lower link connection E68 L3 Z3
Lower link connection E55FH L2 Z2
Lower link connection E55FH L3 Z2
Lower link connection E55FH L2 Z3
Lower link connection E68FH L3 Z3
Basic frame E9-160-3-900
Basic frame E9-160-4-900
Basic frame E9-160-5-900
Basic frame E9-160-6-900
Basic frame E9-160-3-1000
Basic frame E9-160-4-1000
Basic frame E9-160-5-1000
Basic frame E9-160-6-1000
Basic frame E9-160-3-1200
Basic frame E9-160-4-1200
Basic frame E9-OF-160-4-900
Basic frame E9-OF-160-5-900
Basic frame E9-OF-160-6-900
Basic frame E9-OF-160-3-1000
Basic frame E9-OF-160-4-1000
Basic frame E9-OF-160-5-1000
Basic frame E9-OF-160-6-1000
Frame extension E9-160-900
Frame extension E9-160-1000
Frame extension E9-160-1200/1000
Skim stalk D45 E8+9
Skim stalk S 50x30-260 H750
Skim stalk S1 50x30-260 H800
Skim stalk EV-260/179 50x30 H750
Skim stalk EV-260/179 50x30 H800
Skim stalk EV-260/179 50x30 H900
Skim stalk S 50x30-260 H900
Bolts for leg - Dural
Leg 80x35/E
Depth wheel D20x200/160 E9 555lg
Depth wheel D20x200/160x615 E9
Uni-wheel UPR D20x200/160 E9 5/140
Uni-wheel UPR D20x200/160 E9 6/205
Wheel 5/94/140 D14, 10.0/80-12 8PR ET-25
Bearing 5/93,5/140 M14 50x50
Wheel 6/161/205 D18, 10.0/75-15.3 12PR AW ET-25
Wheel 6/161/205 D18, D770/340 13.0/55-16
Depth wheel E9 10.0/80-12 5/95/14 555lg
Uni-wheel E9 10.0/80-12
Uni-wheel E9 10.0/75-15.3
Uni-wheel E9 13.0/55-16 770x336
Carrier for light LH 1
Carrier for light LH3A UNI
Lighting equipment with boards HR+HL 7m
Disc coulter E9 D500 G
Disc coulter E9 D500 Z
Disc coulter E9 D590 Z
Disc coulter E9 D500-M G
Disc coulter E9 D500-M Z
Disc coulter E9 D590-M Z
Headland attachment disc GPS-E9-D530
Attachment arm E1V
Attachment arm E2V
Bracket E9 D16/200x25+115 kpl.
HY-assembly attachment arm PA-E1-D
HY-assembly attachment arm PA-E1-K
HY-front furrow adjustment DZ80/40/100-615
HY-width adjuster Memory DZ100/50/120-600 WE
HY-width adjuster Memory-VUP DZ80x320 On-Land
HY-width adjuster Memory-VUP DZ80x320/DZ100x120 On-Land
HY-width adjuster Memory-VUP DZ90x450/DZ100x120 6schar OF
HY-turnover device D80/233 VUP HPS-II-A
HY-turnover+swing-in device D100
HY-turnover device D80/240 Vari-Stop-Memory
1
2
3
3
4
5
6
7
8
9
9
10
11
11
12
12
12
13
14
14
14
14
15
15
15
16
17
18
18
19
20
21
21
22
23
24
25
26
27
27
28
28
29
30
30
31
32
33
33
34
35
Позиция на иллюстрации
Заводской номер детали
Название детали
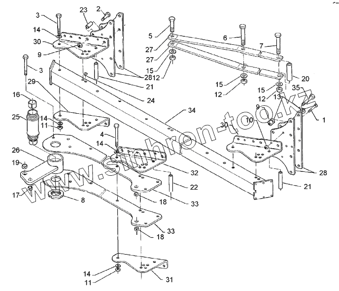
1
301 3607
Bolt
2
301 4408
Bolt
3
301 4549
Bolt
4
301 4546
Bolt
5
301 4646
Bolt
6
301 4811
Bolt
7
301 4850
Bolt
8
303 0375
Grooved nut
9
303 0936
Selflocking nut
10
303 0974
Nut
11
303 0977
Nut
12
303 0980
Nut
13
305 6164
Washer
14
305 9888
Spring ring
15
305 9889
Spring ring
16
317 2035
Expansion bush
17
317 3404
Expansion bush
18
317 3406
Expansion bush
19
317 3417
Expansion bush
20
317 6662
Tube
21
317 7513
Bushing
22
317 7514
Tube
23
317 6947
Bush
24
323 8071
Cap
25
402 1281
Lagerrohr
26
402 1726
Rocker arm
27
402 1806
Support
28
402 2572
Stalk plate
29
402 2566
Adjusting bracket
30
402 2567
Adjusting bracket
31
402 2568
Adjusting bracket
32
402 2569
Adjusting bracket
33
402 2877
Bearing plate
34
402 8291
Basic frame
35
301 4607
Bolt
Содержащиеся в справочниках-каталогах запасные части и детали не предлагаются к продаже, а носят исключительно информационный характер
Дополнительная информация
×
Название:
Номер:
Примечание: