Вернуться на главную
Поиск
Каталоги запчастей к технике
Сельхозтехника
Lemken
Achat 9/500 KA
Hollow disc LI D450 Smaragd 9
Каталог запасных частей к технике: Lemken Achat 9/500 KA. Hollow disc LI D450 Smaragd 9
zoom-in
zoom-out
enlarge
shrink
circle-right
circle-left
file-text2
info
cart
Тип техники
Не выбрано
Легковые автомобили
Грузовые автомобили и прицепы
Автобусы
Сельхозтехника
Спецтехника
Двигатели
Мототехника
Марка
Не выбрано
AGCO
Amity
CASE IH
DongFeng
Fortschritt
Foton
Franz Kleine
Gaspardo
Great Plains
KRONE
KUHN
Lemken
Lovol
MacDon
Massey Ferguson
New Holland
TIGARBO
Vaderstad
Versatile
Wirax
Агро
Агротехмаш
Бобруйскагромаш (ОАО «УКХ «Бобруйскагромаш»)
БЭМЗ
ВгТЗ
Воронежсельмаш
ВТЗ
Гомсельмаш
ДКЗ
ЗАО "Техника-сервис"
ЗиД
КЗК
Кировец-Ландтехник
Клевер
Красная Звезда
Лидагропроммаш
Лидсельмаш
ЛТЗ
Машстройхолдинг
Минитракторы
Мордовагромаш
МТЗ
Навигатор-Новое машиностроение
Нефтекамский автозавод
ПТЗ
Ремком
РСМ
Сибсельмаш
ТеКЗ
ТКЗ
ХЗТСШ
ХТЗ
ЮМЗ
Модель
Не выбрано
Achat 9/400 KA (2004)
Achat 9/500 KA (2004)
Achat 9/600 KA (2004)
Azurit 9 (2018)
Dolomit 9 (2010)
EuroDiamant 10 (2010)
EuroDiamant 10 X (2010)
EuroDiamant 8 (2010)
EuroGranat 5 (2006)
EuroGranat 6 (2006)
EuroGranat 7 (2006)
EurOpal 5 (2010)
EurOpal 5HX (2010)
EurOpal 6 (2010)
EurOpal 7 (2010)
EurOpal 7, EurOpal 7HX (2018)
EurOpal 7X (2010)
EurOpal 7X, EurOpal 7 HydriX (2018)
EurOpal 8 (2010)
EurOpal 9 (2010)
EuroTitan 10 (2010)
EuroTitan 10X (2010)
FixPack (2010)
Gigant 1000 (2010)
Gigant 1000 Smaragd (2010)
Gigant 800 (2010)
Gigant 800 S (2010)
Gigant 800 S Rubin (2006)
Gigant 800 Smaragd (2010)
Heliodor 9/600KA (2018)
Heliodor 9/700KA (2018)
Juwel 8M (2018)
Karat 9/600 KA (2016)
Kristall 9/500KA (2016)
Kristall 9/600KA (2016)
OptiDisc 25 (2018)
Primus 10 (Часть 1) (2017)
Primus 10 (Часть 2) (2017)
Quarz 7/250 (2010)
Quarz 7/250 F (2010)
Quarz 7/300 (2010)
Quarz 7/300F (2010)
Quarz 7/400 (2010)
Quarz 7/400F (2010)
Quarz 7/400K (2010)
Quarz 7/400KA (2010)
Quarz 7/500K (2010)
Quarz 7/500KA (2010)
Quarz 7/600K (2010)
Rubin 10/600 KUA (2018)
Rubin 10/700 KUA (2018)
Rubin 12/400 KUA (A) (2018)
Rubin 12/500 KUA (A) (2018)
Rubin 12/600 KUA (A) (2018)
Rubin 12/700 KUA (2018)
Rubin 9/300 U (2004)
Rubin 9/400 U (2004)
Saphir 7/300 (2010)
Saphir 7/400 (2010)
Smaragd 7/260 (2010)
Smaragd 7/300 (2010)
Smaragd 9/300 (2010)
Smaragd 9/400 (2010)
Smaragd 9/400 (2016)
Smaragd 9/400 K (2016)
Smaragd 9/400K (2010)
Smaragd 9/450K (2010)
Smaragd 9/500 K (2016)
Smaragd 9/500K (2004)
Smaragd 9/600 K (2016)
Smaragd 9/600K (2010)
Smaragd 9/600KA (2010)
Solitair 10/600K (2006)
Solitair 12/1000K (2007)
Solitair 12/1200K (2008)
Solitair 12/1200KD (2018)
Solitair 12/5800SW (2018)
Solitair 12/800K (2006)
Solitair 12/900K (2007)
Solitair 8/300 (2004)
Solitair 8/300 (2014)
Solitair 8/400 (2004)
Solitair 9/300 (2004)
Solitair 9/400 (2004)
Solitair 9/400K (2004)
Solitair 9/400KA (2004)
Solitair 9/450K (2004)
Solitair 9/450KA (2004)
Solitair 9/500K (2004)
Solitair 9/500KA (2009)
Solitair 9/600K (2004)
Solitair 9/600KA (2004)
System-Kompaktor Gigant 1000 (2010)
System-Kompaktor Gigant 800 (2010)
System-Kompaktor K450 (2010)
System-Kompaktor K450A (2010)
System-Kompaktor K500 (2010)
System-Kompaktor K500A (2010)
System-Kompaktor K600 (2010)
System-Kompaktor K600A (2010)
System-Kompaktor S300 (2010)
System-Kompaktor S400 (2010)
System-Korund 300 L (2010)
System-Korund 450 L (2010)
System-Korund 600 L (2010)
System-Korund 750 K (750 L) (2010)
System-Korund 900 K (2010)
System-Korund 900 L (2010)
Thorit 8/300 (2005)
Thorit 8/300 Combi-Liner (2004)
Thorit 8/400 (2010)
Thorit 8/400 Combi-Liner (2004)
Thorit 9/400 K (2004)
Thorit 9/400 KA (2003)
Thorit 9/450 K (2004)
Thorit 9/500 K (2004)
Thorit 9/500 KA (2003)
Thorit 9/600 K (2004)
Thorit 9/600 KA (2003)
Topas 140-A (2010)
Vari-Diamant 10 (2004)
Vari-Diamant 10X (2004)
Vari-Opal 100 (2014)
Vari-Opal 100HX (2014)
Vari-Opal 100X (2014)
Vari-Opal 160 (2014)
Vari-Opal X160 (2014)
Vari-Titan 10 (2010)
Vari-Turmalin 10 (2005)
Vari-Turmalin 10X (2005)
Variopack 110DP70 (2010)
Variopack 110DP90 (2010)
Variopack 110EP90 (2010)
Variopack 110FEPK700 (2010)
Variopack 80DP70 (2010)
Variopack S 110DP70 (2010)
VariOpal 5 (2010)
VariOpal 7 (2010)
VariOpal 7X (2010)
VariOpal 8 (2010)
VariOpal 8X (2010)
VariOpal 9 (2010)
VariOpal 9X (2010)
Zirkon 10/300 (2010)
Zirkon 10/400 (2010)
Zirkon 10/400K (2010)
Zirkon 10/450 (2010)
Zirkon 10/450K (2010)
Zirkon 10/450KA (2010)
Zirkon 10/500K (2010)
Zirkon 10/500KA (2010)
Zirkon 10/600KA (2010)
Zirkon 7/250 (2010)
Zirkon 7/300 (2010)
Zirkon 7/400 (2010)
Zirkon 9/300 (2010)
Zirkon 9/400 (2010)
Zirkon 9/600K "B" (2010)
Схема
>
Не выбрано
Achat 9/500 KA
Center section Thorit/Achat 9/500-600 KA
Lateral part RE Achat 9/500 KA
Lateral part LI Achat 9/500 KA
Stand 70x22/110x110x600
Fittings for AHG Smaragd 9
Accessories Smaragd 9 K(U)AB
Fittings for AHG Smaragd 9U D30G
Lower link connection ED68/55 L2 Z2
Lower link connection ED68/55 L3 Z2
Lower link connection ED68 L2 Z3
Lower link connection ED68 L3 Z3
Lower link connection ED68 L1100 Z58 K700
Depth limiter K700 -B M24
Adapter-inner thread ZPW-AC9/500-K RE+LI
Packer roller ZPW D500-2,5m
Tube bar roller D400-250 SM9
Tube bar roller D540-250 RE SM9
Tube bar roller D540-250 LI SM9
Tube bar roller D600-250 SM9-K RE
Tube bar roller D600-250 SM9-K LI
Double roller D400-250 RE AC9
Double roller D400-250 LI AC9
Double roller D400-250 RE AC9
Double roller D400-250 LI AC9
Trapeze packer roller TPW D500-250-20R125
Packer roller, short scraper ZPW D500-2,5m
Trapeze disc roller TSW D500-250-20R-125
Knife roller MSW D600-250 RE AC9
Knife roller MSW D600-250 LI AC9
Carrier 140xXXXX-Achat 9
Carrier 140xXXXX-Achat 9 U
Carrier 140xXXXX-Achat 9 STR
Carrier 140xXXXX-Achat 9 U STR
Balance bar Achat 9/500 24x200
Frame for hollow discs Achat 9/500 KA
Levelling type harrow STR80 Achat 9/500
Pair of hollow discs 2xD450 Smaragd 9
Hollow disc RE D450 Smaragd 9
Hollow disc LI D450 Smaragd 9
Bracket for outer disc RE 80x80 SM9
Bracket for outer disc LI 80x80 SM9
Pair of hollow discs Mitte 2xD450 AC.9
Trip device 50x18 SM9
Trip device D30G-20 206-Drehpunkt SM.9
Trip device Achat 9 D30G-20
Tine S12P RE 70x22 D24
Tine S12P LI 70x22 D24
Tine S12P MI 70x22 D24
Tine S12P RE 70x22x795 D16
Tine S12P LI 70x22x795 D16
Tine S12P MI 70x22x795 D16
Lighting equipment V Thorit/Achat 9 KA
Lighting equipment V Thorit/Achat 9 KA
Lighting equipment, rear KA 150x150
Braking axle GS12008 55.72.448.000
Running axle GS7008 55.67.001.014
Wheel 8/221/575 Trelleborg 550/60-22.5 12PR/RE
Wheel 8/221/575 Trelleborg 550/60-22.5 12PR/LI
Wheel 8/221/575 12,5/80-18 12PR AW
Twobar Achat 9 KA
Twobar hydraulic 100x100 Thorit/Achat 9 KA
Twobar Thorit 9 KA KG45
Depth wheel 10.0/80-12 70x30
Wheel bracket 70x30 Smaragd 9 Gigant
Trailer Thorit/Achat 9/400-600 KA
Kupplungsteil FK 140x140 (Solitair 9KA)
Kupplungsteil FK 150x150x120 (Solitair 9KA)
Hydraulic lift linkage D50x200 L2 Z2
Three-way pressure balance LU8SSCK-QM22/04
Valve 6/3 LD8SE4D2525
Seat valve SVH04M878SA-OM14G12
Axle for track marker D30x595 668A
Hose carrier D42,5x6,3x830
HY-assembly lift linkage DZ 90x450
HY-pipe assembly Thorit/Achat 9 KA
HY-assembly folding device Thorit 9/500+600 KA DZ90/450
HY-assembly trailer Thorit/Achat 9 KA DZ100/245
HY-assembly trailer Thorit/Achat 9 KA DZ100/245
HY-pipe assembly folding dev. Thorit/Achat 9 KA
HY-pipe assembly Thorit/Achat 9 KA 6/2 W. AHG
HY-pipe assembly Thorit/Achat 9 KA
HY-pipe assembly Thorit/Achat 9 KA
HY-pipe assembly Thorit/Achat 9 KA
HY-pipe assembly Thorit/Achat 9 KA
HY-assembly control valve Thorit/Achat 9 KA L8S
HY-assembly control valve Thorit/Achat 9 KA-FW
HY-pipe assembly Thorit/Achat 9 KA
HY-pipe assembly Thorit/Achat 9 KA
HY-pipe assembly Thorit/Achat 9 KA -AHG
HY-assembly track marker Thorit/Achat 9 KA 4+4,5m
HY-assembly track marker Thorit/Achat 9 KA 4+4,5m
Hydraulic braking assembly Thorit/Achat 9 KA 2xEZ 30x110
HY-pipe lifting device Thorit/Achat 9 KA EW
Compressed-air brake Thorit/Achat 9 KA
Track marker Smaragd 9/400 KA - 9/500 KA
Bracket for track marker Smaragd 9/4/4,5/5
Extension cable 22-polig 8m
Control box ELFG104-XXXX
Cable form ELFG104-XXXX 10m
Joystickbox JB-1
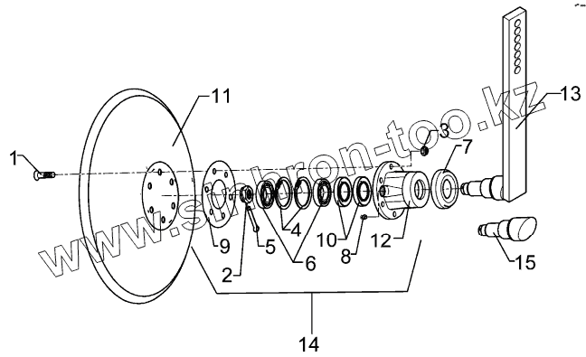
1
2
3
4
5
6
7
8
9
10
11
12
13
14
15
Позиция на иллюстрации
Заводской номер детали
Название детали
1
301 6123
Countersunk bolt
2
303 0193
Castle nut
3
303 0933
Selflocking nut
4
305 8924
Securing ring
5
311 7613
Peg
6
319 9116
Bearing
7
323 0410
Cap
8
323 6345
Grease nipple
9
323 7641
Seal
10
323 8032
Oil seal
11
349 0458
Hollow disc
12
447 8882
Hub
13
457 2421
Disc carrier
14
547 8883
Bearing
15
215 1636
Axle
Содержащиеся в справочниках-каталогах запасные части и детали не предлагаются к продаже, а носят исключительно информационный характер
Дополнительная информация
×
Название:
Номер:
Примечание: