Каталог запасных частей к технике: КЗК Енисей КЗС-960 (2010). Жатка
1
2
2
2
3
3
3
4
5
6
7
8
9
10
11
12
13
14
15
16
17
18
19
20
21
22
23
24
25
26
27
28
29
30
30
30
31
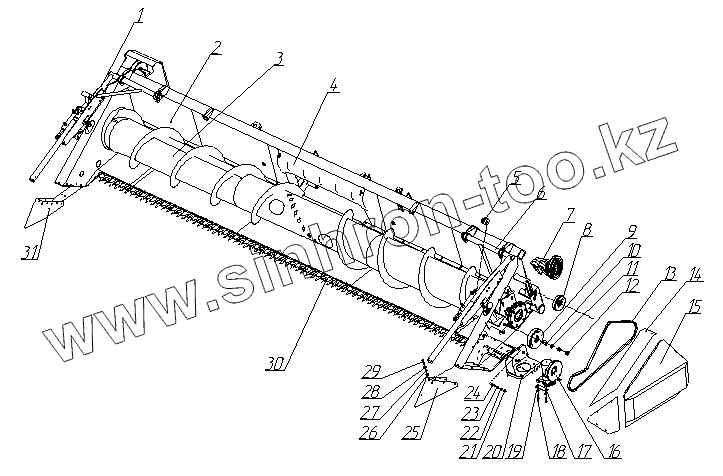
| Позиция на иллюстрации | Заводской номер детали | Название детали | |
|---|---|---|---|
| 1 | ЖКН5-2-8Ш | Поддержка правая | |
| 2 | ЖКН5-2-1Ш | Корпус жатки | |
| 2 | ЖКН7-2-1Ш | Корпус жатки | |
| 2 | ЖКН6-2-1Ш | Корпус жатки | |
| 3 | ЖКН5-2-2Ш | Шнек | |
| 3 | ЖКН6-2-2Ш | Шнек | |
| 3 | ЖКН7-2-2Ш | Шнек | |
| 4 | ЖКН5-2-18Ш | Капот | |
| 5 | ЖКН5-2-24Ш | Кронштейн | |
| 6 | ЖКН5-2-7Ш | Поддержка левая | |
| 7 | ЖКН5-2-17Ш | Вал контрприводной | |
| 8 | ЖКН5-2-99 | Шкив | |
| 9 | ЖКН5-2-25Ш | Ролик в сборе | |
| 10 | ЖКН8206 | Втулка | |
| 11 | С.16.01.019 | Шайба | |
| 12 | М16-6Н.6.019 | Гайка | |
| 13 | С/222742 | Ремень | |
| 14 | ЖКН5-2-13Ш | Уголок с петлей | |
| 15 | ЖКН5-2-118Б | Щиток | |
| 16 | МППН-2.00.000/14811 | Механизм планетарный привода ножа | |
| 17 | ЖКН5305 | Планка | |
| 18 | М12х1,25-6gх50.6635..019 | Болт | |
| 19 | КДМ0-235-01 | Гайка | |
| 20 | ЖКН5-2-9Ш | Кронштейн | |
| 21 | М12-6Н.6.019 | Гайка | |
| 22 | 12.65Г.01.019 | Шайба | |
| 23 | С.12.01.019 | Шайба | |
| 24 | М12-6gх30.46.019 | Болт | |
| 25 | ЖКН5-2-5Ш | Носок левый | |
| 26 | М8-6Н.6.019 | Гайка | |
| 27 | 8.65Г.01.019 | Шайба | |
| 28 | С.8х1,4.01.019 | Шайба | |
| 29 | М8-6gх30.46.019 | Болт | |
| 30 | ЖКН5-2-3ШГ | Аппарат режущий | |
| 30 | ЖКН6-2-3ШГ | Аппарат режущий | |
| 30 | ЖКН7-2-3ШГ | Аппарат режущий | |
| 31 | ЖКН5-2-4Ш | Носок правый |
Содержащиеся в справочниках-каталогах запасные части и детали не предлагаются к продаже, а носят исключительно информационный характер