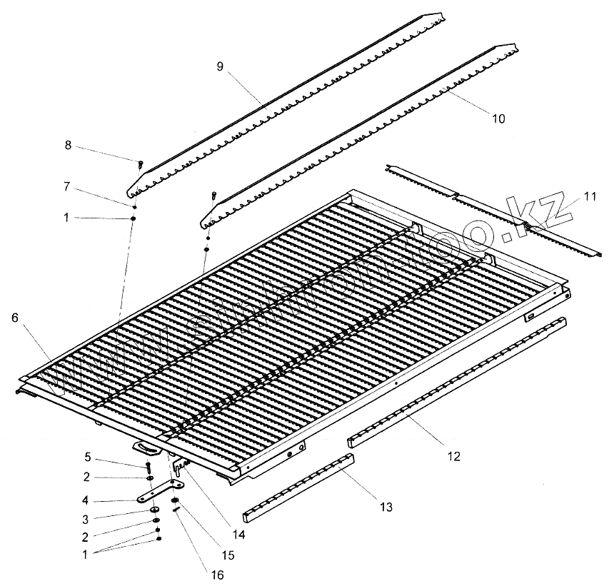
Каталог запасных частей к технике: КЗК Енисей КЗС-960. Решето очистки нижнее
1
1
2
2
3
4
5
6
7
8
9
10
11
12
13
14
16
17
| Позиция на иллюстрации | Заводской номер детали | Название детали | |
|---|---|---|---|
| 1 | M6-6H.6.019 ГОСТ 5915-70 | Гайка | |
| 2 | A6x1,4.01.019 ГОСТ 6958-78 | Шайба | |
| 3 | КДМ 0415 | Кольцо | |
| 4 | КДМ 2-12-3-5А | Рычаг | |
| 5 | M6-6gx30.66.019 ГОСТ 7795-70 | Болт | |
| 6 | 960.21.16.21.000Б | Рама нижнего решета | |
| 7 | 6.65Г.019 ГОСТ 6402-70 | Шайба | |
| 8 | M6-6gx20.66.019 ГОСТ 7798-70 | Болт | |
| 9 | P 4056П | Планка верхняя | |
| 10 | Р 2-16-2-5П | Планка верхняя | |
| 11 | КДМ 2-16-2-2 | Жалюзи | |
| 12 | 960.21.16.20.902 | Брус | |
| 13 | 960.21.12.20.903 | Брус | |
| 14 | 960.21.16.23.000A | Планка регулировочная | |
| 16 | A10.01.019 ГОСТ 11371-78 | Шайба | |
| 17 | 3,2х16.019 ГОСТ 397-79 | Шплинт |
Содержащиеся в справочниках-каталогах запасные части и детали не предлагаются к продаже, а носят исключительно информационный характер