Каталог запасных частей к технике: КЗК Енисей КЗС-960. Кондиционер
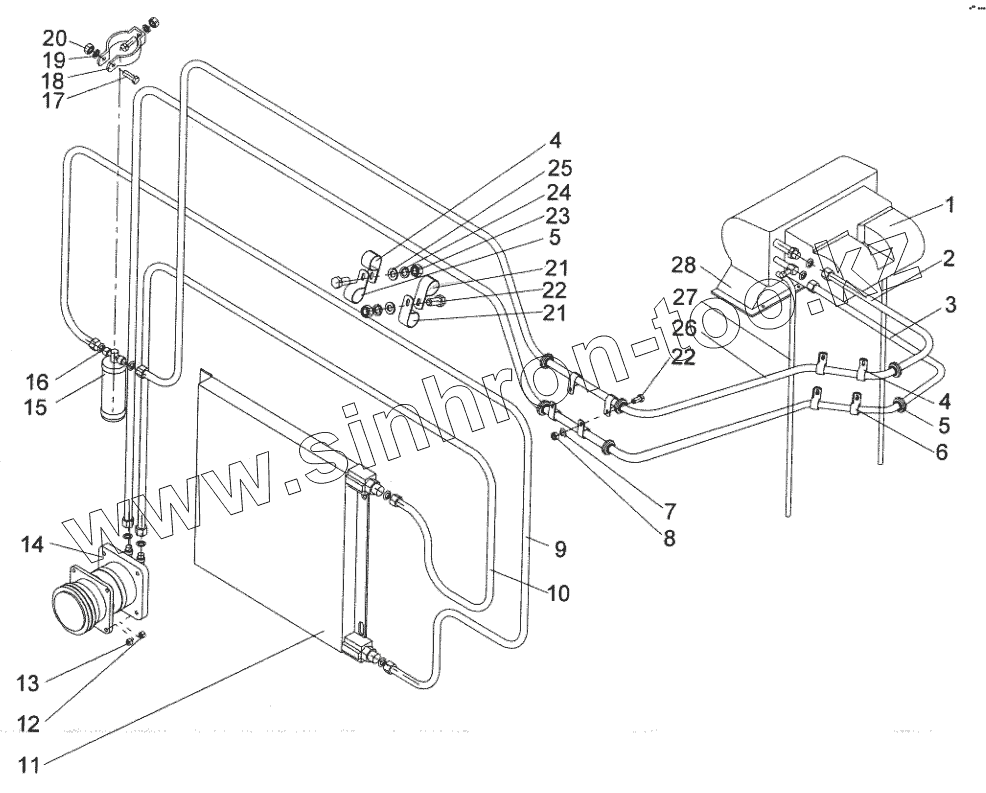
1
2
3
4
4
5
5
6
7
8
9
10
11
12
13
14
15
16
17
18
19
20
21
21
22
22
23
24
25
26
27
28
| Позиция на иллюстрации | Заводской номер детали | Название детали | |
|---|---|---|---|
| 1 | 99-051781-35 | Блок испарителя | |
| 2 | 05-000033-00 | Хладонопровод ресивер-испаритель | |
| 3 | 05-050034-03 | Хладонопровод испаритель-компрессор | |
| 4 | 11-050605-00 | Хомут крепления рукава №10, №12 | |
| 5 | 08-053817-00 | Уплотнительная втулка | |
| 6 | 11-050604-00 | Хомут крепления рукава №6, №8 | |
| 7 | A.6x1,4.01.019 ГОСТ 11371-78 | Шайба | |
| 8 | M6-6H.6.019 ГОСТ 5915-70 | Гайка | |
| 9 | 05-050032-00 | Хладонопровод конденсатор-ресивер | |
| 10 | 05-050031-03 | Хладонопровод компрессор-конденсатор | |
| 11 | 99-000503-00 | Конденсатор | |
| 12 | 11-050102-00 | Втулка дистанционная задняя | |
| 13 | 11-050101-00 | Втулка дистанционная передняя | |
| 14 | 01-056626-00 | Компрессор | |
| 15 | 04-103977-02 | Ресивер с датчиком давления | |
| 16 | 08-000001-10 | Комплект уплотнительных колец | |
| 17 | M8-6gx20.66.019 ГОСТ 7796-70 | Болт | |
| 18 | 11-053977-01 | Кронштейн ресивера | |
| 19 | 8.65Г.Ст3.019 ГОСТ 6402-70 | Шайба | |
| 20 | M8-6H.6.019 ГОСТ 5915-70 | Гайка | |
| 21 | 950.01.03 | Хомут крепления среднего шланга (условный размерЗ/4) | |
| 22 | M8-6gx30.66.019 ГОСТ 7796-70 | Болт | |
| 23 | M8-6gx25.66.019 ГОСТ 7796-70 | Болт | |
| 24 | 8.65Г.019 ГОСТ 6402-70 | Шайба | |
| 25 | A8.01.019 ГОСТ 11371-78 | Шайба | |
| 26 | 08-053824-00 | Уплотнительная втулка 7/8 | |
| 27 | 08-000014-00 | Трубка сливная | |
| 28 | 06-000046-10 | Панель переходная |
Содержащиеся в справочниках-каталогах запасные части и детали не предлагаются к продаже, а носят исключительно информационный характер