Каталог запасных частей к технике: КЗК Енисей КЗС-960. Каркас нижний площадки водителя
1
2
3
3
3
3
3
3
4
4
4
4
4
5
5
5
5
5
6
6
6
7
8
8
9
10
11
12
12
13
14
15
15
15
15
16
16
17
17
17
17
17
18
19
19
19
20
20
21
22
23
24
25
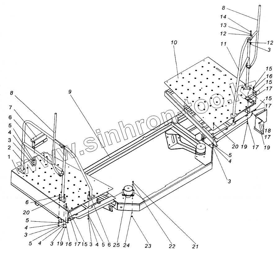
| Позиция на иллюстрации | Заводской номер детали | Название детали | |
|---|---|---|---|
| 1 | 960.55.00.00.484В | Настил правый | |
| 2 | 960.55.09.00.000Г | Поручень правый | |
| 3 | M8-5915-70 | Гайка | |
| 4 | 8-6402-70 | Шайба | |
| 5 | 8-11371-78 | Шайба | |
| 6 | M8x25-7796-70 | Болт | |
| 7 | 960.55.00.00.406 | Кронштейн | |
| 8 | Р5-14 | Кронштейн зеркала | |
| 9 | 960.55.01.00.000В | Каркас нижний | |
| 10 | 960.55.00.00.498В | Настил левый | |
| 11 | 960.55.08.00.000Е | Поручень левый | |
| 12 | А30.04.018 | Шайба | |
| 13 | 8-6958-78 | Шайба | |
| 14 | М8Х30-7796-70 | Болт | |
| 15 | М6х16-7798-70 | Болт | |
| 16 | 6-6402-70 | Шайба | |
| 17 | 6-11371-78 | Шайба | |
| 18 | 960.55.33.00.000 | Щиток | |
| 19 | М6-5915-70 | Гайка | |
| 20 | М8х20-7796-70 | Болт | |
| 21 | М10x25-7796-70 | Болт | |
| 22 | 10-11371-78 | Шайба | |
| 23 | М10-5915-70 | Гайка | |
| 24 | 10-6402-70 | Шайба | |
| 25 | 5718 220 | Коническая опора |
Содержащиеся в справочниках-каталогах запасные части и детали не предлагаются к продаже, а носят исключительно информационный характер