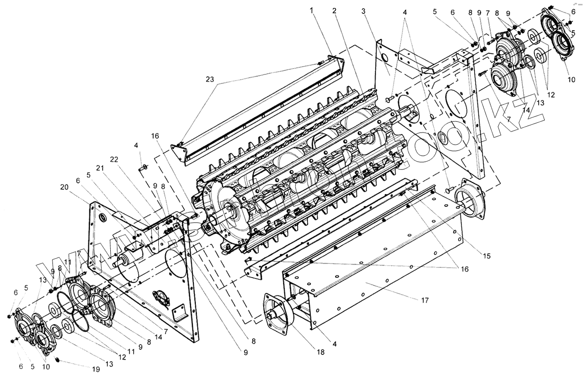
Каталог запасных частей к технике: КЗК Енисей КЗС-960. Блок второго барабана
1
2
3
4
4
4
5
5
5
5
5
6
6
6
6
6
7
7
7
7
8
8
8
8
8
8
9
9
9
9
9
9
10
10
11
11
12
12
13
13
13
14
14
15
16
16
17
18
19
20
21
22
23
| Позиция на иллюстрации | Заводской номер детали | Название детали | |
|---|---|---|---|
| 1 | 960.22.10.00.000 | Отсекатель второго барабана | |
| 2 | 960.22.17.00.000А | Барабан второй | |
| 3 | 960.22.06.02.000А | Боковина правая | |
| 4 | М12х45.46.019 ГОСТ 7802-81 | Болт | |
| 5 | 10.65Г.019 ГОСТ 6402-70 | Шайба | |
| 6 | М10-6Н.6.019 ГОСТ 5915-70 | Гайка | |
| 7 | M10-6gx45.66.019 ГОСТ 7796-70 | Болт | |
| 8 | 12.65Г.019 ГОСТ 6402-70 | Шайба | |
| 9 | М12-6Н.6.019 ГОСТ 5915-70 | Гайка | |
| 10 | КДМ2-8-9 | Крышка | |
| 11 | 44Б-60501 | Кольцо упорное | |
| 12 | 11312 ГОСТ 28428-90 | Подшипник | |
| 13 | 1-2-60x85-1 ГОСТ 8752-70 | Манжета | |
| 14 | 44Б-10089 | Корпус подшипника (47855110066) | |
| 15 | 960.22.06.03.000 | Связь задняя | |
| 16 | M12-6gx30.66.019 ГОСТ 7796-70 | Болт | |
| 17 | 960.22.80.00.000А | Битер отбойный | |
| 18 | 970.22.28.00.402 | Фланец | |
| 19 | 2.3.45.Ц6 хр | Масленка | |
| 20 | 960.22.06.01.000А | Боковина левая | |
| 21 | 960.22.05.10.000 | Кронштейн | |
| 22 | А. 12.01.019 ГОСТ 11371-78 | Шайба | |
| 23 | M10-6gx25.66.019 ГОСТ 7796-70 | Болт |
Содержащиеся в справочниках-каталогах запасные части и детали не предлагаются к продаже, а носят исключительно информационный характер