Каталог запасных частей к технике: КЗК Енисей КЗС-960. Битер отбойный
1
2
2
3
3
4
5
6
6
7
7
8
8
9
9
10
10
11
11
12
12
13
13
13
13
14
14
15
15
16
16
17
17
18
18
19
19
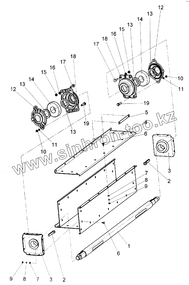
| Позиция на иллюстрации | Заводской номер детали | Название детали | |
|---|---|---|---|
| 1 | 960.22.80.10.623 Б | Вал отбойного битера | |
| 2 | КДМ 60087 | Шпонка специальная | |
| 3 | 960.22.80.11.000 | Диск | |
| 4 | 960.22.80.10.401 | Лопасть | |
| 5 | 960.22.80.10.402 | Пластина | |
| 6 | M8x20.46.019 ГОСТ 7802-81 | Болт | |
| 7 | А8.01.019 ГОСТ 11371-78 | Шайба | |
| 8 | 8.65Г.019 ГОСТ 6402-70 | Шайба | |
| 9 | М8-6Н.6.019 ГОСТ 5915-70 | Гайка | |
| 10 | М10-6Н.6.019 ГОСТ 5915-70 | Гайка | |
| 11 | 10.65Г.019 ГОСТ 6402-70 | Шайба | |
| 12 | 44Б-10090 | Крышка подшипника | |
| 13 | 1.2-60x85 ГОСТ 8752-79 | Манжета | |
| 14 | 11312 ГОСТ 28428-90 | Подшипник | |
| 15 | М12-6Н.6.019 ГОСТ 5915-70 | Гайка | |
| 16 | 12.65Г.019 ГОСТ 6402-70 | Шайба | |
| 17 | М12х40.46.019 ГОСТ 7802-81 | Болт | |
| 18 | 44Б-10089 | Корпус подшипника (47855110066) | |
| 19 | M10-6gx45.66.019 ГОСТ 7796-70 | Болт |
Содержащиеся в справочниках-каталогах запасные части и детали не предлагаются к продаже, а носят исключительно информационный характер