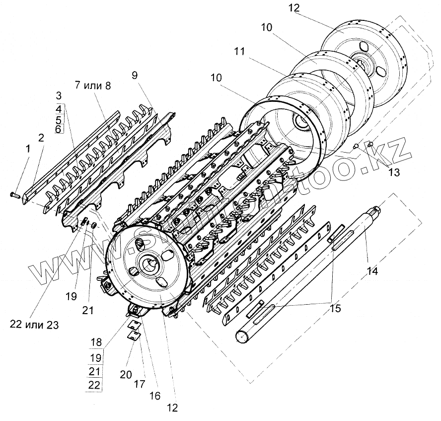
Каталог запасных частей к технике: КЗК Енисей КЗС-960. Барабан второй
1
2
3
4
5
6
7
8
9
10
10
11
12
12
13
14
15
16
17
18
19
19
20
21
21
22
22
23
| Позиция на иллюстрации | Заводской номер детали | Название детали | |
|---|---|---|---|
| 1 | M12x50.66.019 ГОСТ 7796-70 | Болт | |
| 2 | 12.22.17.01.403 | Планка обтекаемая | |
| 3 | 12.22.17.01.404 | Планка | |
| 4 | 12.22.17.01.404-01 | Планка | |
| 5 | 12.22.17.01.404-02 | Планка | |
| 6 | 12.22.17.01.404-03 | Планка | |
| 7 | 40257 | Пластинка | |
| 8 | 42065 | Прокладка | |
| 9 | 40256A-01 | Подбичник | |
| 10 | 12.22.17.01.401 | Диск внутренний | |
| 11 | 12.22.17.01.010 | Диск | |
| 12 | 12.22.17.01.020 | Диск крайний | |
| 13 | 8x22.01 ГОСТ 10299-80 | Заклепка | |
| 14 | 960.22.17.00.621 | Вал | |
| 15 | КДМ 60087 | Шпонка специальная | |
| 16 | 41998 | Пластина балансировочная | |
| 17 | 41999 | Пластина балансировочная | |
| 18 | М12х35.66.019 ГОСТ 7796-70 | Болт | |
| 19 | 12.65Г.019 ГОСТ 6402-70 | Шайба | |
| 20 | 42000 | Пластина балансировочная | |
| 21 | M12-6H.6.019 ГОСТ 5915-70 | Гайка | |
| 22 | 44-50243 | Шайба | |
| 23 | A.12.02.019 ГОСТ 6958-78 | Шайба |
Содержащиеся в справочниках-каталогах запасные части и детали не предлагаются к продаже, а носят исключительно информационный характер