Каталог запасных частей к технике: КЗК Енисей КЗС-950. Вентилятор
1
2
3
4
5
5
5
5
6
7
8
9
10
11
12
13
14
14
15
16
17
18
18
18
18
19
19
19
20
21
21
21
22
24
25
26
27
27
28
29
30
31
32
33
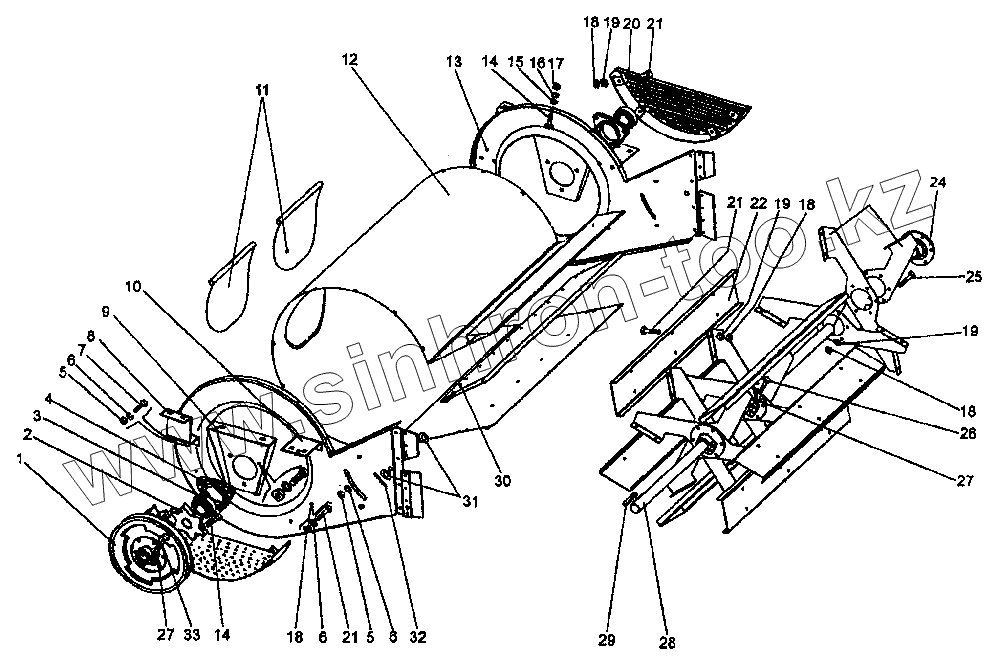
| Позиция на иллюстрации | Заводской номер детали | Название детали | |
|---|---|---|---|
| 1 | Р2-18-5 | Шкив | |
| 2 | КДМ 1174А-02 | Формиратор сигнала | |
| 3 | [Подшипник] | Подшипник | |
| 4 | Н027.105А | Корпус подшипника | |
| 5 | М10-6Н.019 | Гайка | |
| 6 | 10.01.019 | Шайба | |
| 7 | М10-6qх20.66.019 | Болт | |
| 8 | Р4006 | Кронштейн | |
| 9 | Р4008 | Подвеска | |
| 10 | Р4007 | Кронштейн | |
| 11 | Р4447 | Заслонка | |
| 12 | Р2-18-4Б | Днище | |
| 13 | Р4002 | Боковина | |
| 14 | М6-6qх16.66.019 | Болт | |
| 15 | 6.01.019 | Шайба | |
| 16 | 6.65Г.019 | Шайба | |
| 17 | М6-6Нх019 | Гайка | |
| 18 | М8-6Н.019 | Гайка | |
| 19 | 8.65Г.019 | Шайба ГОСТ 6402-70 | |
| 20 | 12.21.05.00.010 | Кожух защитный (2554) | |
| 21 | М8-6qх16.66.019 | Болт | |
| 22 | Р4011 | Лопасть | |
| 23 | Р40101Б | Луч | |
| 24 | Р6003А | Ступица | |
| 25 | М8-6qх25.66.019 | Болт | |
| 26 | М12-6дх45.66.019 | Болт | |
| 27 | 12.65.Г.019 | Шайба | |
| 28 | Р6001 | Вал | |
| 29 | 10х8х90 | Шпонка | |
| 30 | Р2-18-2А | Дефлектор | |
| 31 | 16.01.019 | Шайба | |
| 32 | 4х25 Г0СТ 397-70 | Шплинт | |
| 33 | М12-6qх50.66.019 | Болт |
Содержащиеся в справочниках-каталогах запасные части и детали не предлагаются к продаже, а носят исключительно информационный характер