Вернуться на главную
Поиск
Каталоги запчастей к технике
Сельхозтехника
КЗК
Енисей КЗС-950
Щитки ограждения и поручни
Каталог запасных частей к технике: КЗК Енисей КЗС-950. Щитки ограждения и поручни
zoom-in
zoom-out
enlarge
shrink
circle-right
circle-left
file-text2
info
cart
Тип техники
Не выбрано
Легковые автомобили
Грузовые автомобили и прицепы
Автобусы
Сельхозтехника
Спецтехника
Двигатели
Мототехника
Марка
Не выбрано
AGCO
Amity
CASE IH
DongFeng
Fortschritt
Foton
Franz Kleine
Gaspardo
Great Plains
KRONE
KUHN
Lemken
Lovol
MacDon
Massey Ferguson
New Holland
TIGARBO
Vaderstad
Versatile
Wirax
Агро
Агротехмаш
Бобруйскагромаш (ОАО «УКХ «Бобруйскагромаш»)
БЭМЗ
ВгТЗ
Воронежсельмаш
ВТЗ
Гомсельмаш
ДКЗ
ЗАО "Техника-сервис"
ЗиД
КЗК
Кировец-Ландтехник
Клевер
Красная Звезда
Лидагропроммаш
Лидсельмаш
ЛТЗ
Машстройхолдинг
Минитракторы
Мордовагромаш
МТЗ
Навигатор-Новое машиностроение
Нефтекамский автозавод
ПТЗ
Ремком
РСМ
Сибсельмаш
ТеКЗ
ТКЗ
ХЗТСШ
ХТЗ
ЮМЗ
Модель
Не выбрано
Енисей 1200
Енисей 1200М
Енисей КЗС-950 (2005)
Енисей КЗС-950 (2009)
Енисей КЗС-960 (2008)
Енисей КЗС-960 (2010) (2010)
Енисей-324 (2008)
Схема
>
Не выбрано
Кабина
Площадка водителя
Рулевая колонка
Панель левая с лючками
Панель правая с лючками
Крыша наклонная, фартук задний
Щитки ограждения и поручни
Лестница
Капот
Установка кондиционера
Установка отопителя
Установка моторная
Воздухоочиститель
Бак топливный
Глушитель
Воздухозаборник вентилятора
Блок радиаторов
Воздухозаборник вращающийся
Устройство привода управления муфтой выключения сцепления
Коробка диапазонов 4-х ступенчатая
Коробка диапазонов
Дифференциал
Механизм переключения коробки диапазонов
Мост ведущий унифицированый с гидроприводом
Мост управляемых колёс
Привод ГТС
Редуктор бортовой левый Редуктор бортовой правый
Редуктор бортовой
Рама
Колесо ведущее
Блок аккумуляторных батарей
Электрооборудование
Жгуты
Бак основной гидросистемы
Гидросистема
Гидросистема
Гидросистема
Бак ГСТ
Битер приемный
Барабан
Битер промежуточный
Битер отбойный
Подбарабанье
Подбарабанье с надставкой
Барабан второй
Регулировка подбарабаний
Механизм обратной прокрутки барабанов
Жатвенная часть
Жатка
Мотовило
Мотовило
Устройство предохранительное
Звездочка обводная
Корпус жатки
Поддержка левая Поддержка правая
Поддержка левая
Поддержка правая
Шнек жатки
Пальчиковый механизм шнека жатки
Аппарат режущий
Механизм качающейся шайбы
Механизм качающейся шайбы(МКШ)
Щит
Шкив вариатора нижний
Шкив вариатора верхний
Башмак Опора жатки
Щиток переходной
Щитки бокового уплотнения
Передача карданная с защитным кожухом
Вал контрприводной
Блок уравновешивания левый Блок уравновешивания правый
Проставка
Битер проставки
Ролик натяжной
Контрпривод
Вал контрпривода
Камера наклонная
Камера наклонная
Вал верхней наклонной камеры Шкив наклонной камеры
Вал транспортера нижний
Промежуточный вал наклонной камеры
Валы жатки
Механизм отключения жатки
Бункер
Кожух шнека с заслонками
Механизм предохранительный
Шнек загрузочный
Шнек бункера
Механизм привода шнека бункера
Устройство выгрузное
Механизм привода загрузочного шнека
Привод загрузочного тракта
Доска стрясная
Стан решетный верхний
Стан решетный нижний
Рычаг очистки левый Рычаг очистки правый
Вентилятор
Шкив вариатора вентилятора ведущий
Шкив вариатора вентилятора ведомый
Шнек зерновой
Шнек колосовой
Элеватор зерновой
Элеватор колосовой
Устройство домолачивающее
Вал колебательный
Контрпривод задний
Главный контрпривод
Главный контрпривод
Соломотряс
Соломотряс
Вал коленчатый ведущий Вал коленчатый ведомый
Транспортёр
Платформа-подбрщик
Устройство натяжное
Ролики и звездочки натяжные
Колесо
Колесо
Половонабиватель
Поддон
Разбрасыватель
Барабан
Вал ведомый
Вал ведущий
Устройство разгружающее
Копнитель
Граблина правая, граблина левая
Рама соломонабивателя
Брус ножевой Рама
Щиток
Шкив в сборе
Шкив
Инструмент и принадлежности
Инструмент и принадлежности
Инструмент и принадлежности
Комбайн (общий вид)
Схема передач левой стороны
Схема передач правой стороны
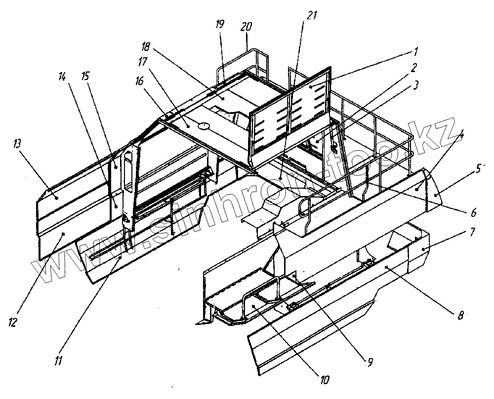
1
2
3
4
5
6
7
8
9
10
11
12
13
14
15
16
17
18
19
20
21
Позиция на иллюстрации
Заводской номер детали
Название детали
1
950.10.04.00.000
Щиток левый двигателя
2
Р0-214Д
Капот задний
3
2108-6308010
Амортизатор
4
950.10.07.00.000
Щит верхний
5
Р0-126
Угол
6
Р0-274А
Поручень
7
Р0-124
Щиток пластиковый левый
8
950.10.05.00.000-01
Борт
9
Р0-301
Щиток
10
Р0-290
Щиток передний левый
11
950.10.05.00.000
Борт
12
Р0-316
Щиток привода
13
Р0-315
Щиток правый верхний
14
Р 40070
Щит нижний
15
950.10.06.00.000
Щит верхний
16
950.10.01.00.000
Щиток правый двигателя
17
[Щиток]
Щиток
18
Р-252 П
Щиток
19
950.10.02.00.000
Щиток правый двигателя
20
Р0-276
Перила
21
Р0-125
Щиток пластиковый правый
Содержащиеся в справочниках-каталогах запасные части и детали не предлагаются к продаже, а носят исключительно информационный характер
Дополнительная информация
×
Название:
Номер:
Примечание: