Каталог запасных частей к технике: КЗК Енисей КЗС-950. Поддержка правая
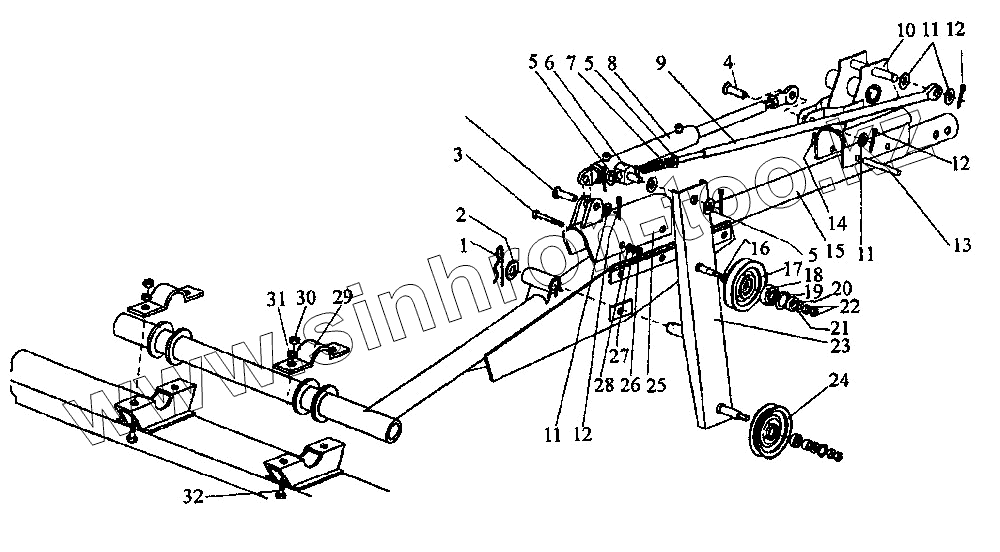
1
2
3
4
4
5
5
5
6
7
8
9
10
10
11
11
11
12
12
12
13
14
15
16
17
18
19
20
21
22
23
24
25
26
27
28
29
30
31
32
| Позиция на иллюстрации | Заводской номер детали | Название детали | |
|---|---|---|---|
| 1 | 6,3х45.019 | Шплинт | |
| 2 | С30.01.019 | Шайба | |
| 3 | М12х80-88016 | Болт | |
| 4 | 6-14В12х35.10Ц9 | Ось | |
| 5 | С20.01.19 | Шайба | |
| 6 | ЖКН 6-2-48 | Ось | |
| 7 | ЖКН 6062 | Пружина | |
| 8 | ГЦ 40.180.16.000 | Гидроцилиндр | |
| 9 | ЖКН 5-60 | Растяжка | |
| 10 | ЖКН 6-1-18 | Ползун правый | |
| 11 | С 14,01.039 | Шайба | |
| 12 | 3,2х20.019 | Шплинт | |
| 13 | ЖКН 6-157 | Ось | |
| 14 | ЖКН 6095 | Шплинт пружинный | |
| 15 | ЖКН 5-2-1-15 | Поддержка правая | |
| 16 | 42136 | Шайба регулировочная | |
| 17 | Н 276.23.000 | Шкив натяжной | |
| 18 | 180204С17 | Подшипник | |
| 19 | В 4765Г | Кольцо | |
| 20 | ЖКН 8-2-06 | Втулка | |
| 21 | 16.01.019 | Шайба | |
| 22 | М16.6Н.6.016 | Гайка | |
| 23 | ЖКН 5-62-1 | Кронштейн в сборе | |
| 24 | 34-2-43-1-1Б | Обод | |
| 25 | ЖКН 5-61 | Кронштейн в сборе | |
| 26 | М12-6Н.6.016 | Гайка | |
| 27 | 12.65.Г019 | Шайба | |
| 28 | С 12.01.019 | Шайба | |
| 29 | 3518060-15051 | Крышка подшипника | |
| 30 | М10-6Н.6.016 | Гайка | |
| 31 | 10.65Г.019 | Шайба | |
| 32 | М10-6qх25.88.016 | Болт |
Содержащиеся в справочниках-каталогах запасные части и детали не предлагаются к продаже, а носят исключительно информационный характер