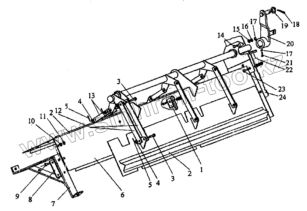
Каталог запасных частей к технике: КЗК Енисей КЗС-950. Кожух шнека с заслонками
1
2
2
3
3
4
4
5
5
6
7
8
9
10
11
12
13
14
15
16
17
17
18
19
20
21
22
23
24
| Позиция на иллюстрации | Заводской номер детали | Название детали | |
|---|---|---|---|
| 1 | Р 4366П | Накладка | |
| 2 | Р4077Б | Заслонка | |
| 3 | 6-8В12х22.10Ц9 | Ось | |
| 4 | А8.019 | Шайба | |
| 5 | 2х12.019 | Шплинт | |
| 6 | Р 6-12-ЗП | Кожух шнека с валом | |
| 7 | Р 6-13 ПР | Кронштейн | |
| 8 | Р 4365П | Накладка | |
| 9 | М 10х25.46.019 | Болт | |
| 10 | 10.65Г.019 | Шайба | |
| 11 | М10-6Н.6.019 | Гайка | |
| 12 | КДМ 5816 | Тяга правая | |
| 13 | КДМ 5815 | Тяга левая | |
| 14 | М8-6qх20.66.019 | Болт ГОСТ 7796-70 | |
| 15 | А8х1,4.01.019 | Шайба | |
| 16 | 8.65Г.019 | Шайба ГОСТ 6402-70 | |
| 17 | М8-6Н.6.019 | Гайка ГОСТ 5915-70 | |
| 18 | 4х40.019 | Шплинт | |
| 19 | А20.02.019 | Шайба | |
| 20 | Р6-19 ПН | Рычаг | |
| 21 | КДМ 6104 | Винт установочный | |
| 22 | 8я7х36 | Шпонка | |
| 23 | М8-6qх25.66.019 | Болт | |
| 24 | Р6-1-2-3 ПТ | Стенка правая |
Содержащиеся в справочниках-каталогах запасные части и детали не предлагаются к продаже, а носят исключительно информационный характер