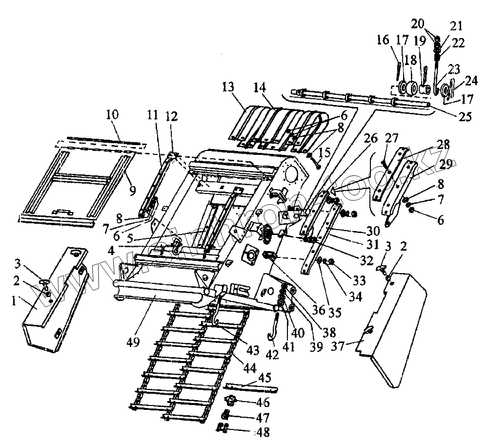
Каталог запасных частей к технике: КЗК Енисей КЗС-950. Камера наклонная
1
2
2
3
3
4
5
6
6
6
7
7
8
8
8
9
10
11
12
13
14
15
16
17
17
18
19
20
21
22
23
24
25
26
27
28
29
30
31
32
33
34
35
36
37
38
39
40
41
42
43
44
45
46
| Позиция на иллюстрации | Заводской номер детали | Название детали | |
|---|---|---|---|
| 1 | ЖКН 5-6-37А | Щиток правый | |
| 2 | 44-00241 | Втулка | |
| 3 | 44-1-2-16-2 | Винт | |
| 4 | М8х16.46.019 | Болт | |
| 5 | ЖКН 0015 | Накладка | |
| 6 | М8-7Н.6.019 | Гайка | |
| 7 | 8.65Г.019 | Шайба ГОСТ 6402-70 | |
| 8 | 8х1,4.01.019 | Шайба | |
| 9 | ЖКН 5-6-15 | Крышка | |
| 10 | 400.00.603 | Шомпол | |
| 11 | ЖКН 0012 | Накладка | |
| 12 | ЖКН 5-6-28 | Направляющая | |
| 13 | 54-41430 | Кожух крайний | |
| 14 | 54-41-431 | Кожух средний | |
| 15 | М8х75.66.019 | Болт | |
| 16 | 5х54.019 | Шплинт | |
| 17 | ЖКН 4-2-58 | Шайба | |
| 18 | 3518060-16321 | Ролик | |
| 19 | 3518060-18116 | Втулка | |
| 20 | М16-7Н.6.019 | Гайка | |
| 21 | 16х2,5.01.019 | Шайба | |
| 22 | ЖКН 6087 | Пружина | |
| 23 | ЖКН 6219 | Болт | |
| 24 | 54-61967 | Шплинт | |
| 25 | ЖКН 5-6-4 | Труба с роликами | |
| 26 | ЖКН 5-6-34 | Успокоитель верхний | |
| 27 | КДМ-62 19-06 | Винт | |
| 28 | ЖКН 0047 | Накладка | |
| 29 | ЖКН 4559 | Успокоитель верхний | |
| 30 | ЖКН 0012 | Накладка | |
| 31 | ЖКН 5-6-30-1 | Успокоитель нижний | |
| 32 | М14-7Н.6.019 | Гайка | |
| 33 | М10-7Н.6.019 | Гайка | |
| 34 | 10.65Г.019 | Шайба | |
| 35 | 10.01.019 | Шайба | |
| 36 | М10х25.46.-10 | Болт | |
| 37 | ЖКН 5-6-35 | Щиток левый | |
| 38 | М20-7Н.6.019 | Гайка | |
| 39 | М20-7Н.6.019 | Гайка | |
| 40 | 7019-0396 | Шайба | |
| 41 | 7019-0416 | Шайба | |
| 42 | ЖКН 6073-01 | Крюк | |
| 43 | ЖКН 6073 | Крюк | |
| 44 | ЖКН 5-6-27 | Транспортер цепной | |
| 45 | 01.144.000 | Гребенка | |
| 46 | 08.330.00.010 | Звено внутреннее |
Содержащиеся в справочниках-каталогах запасные части и детали не предлагаются к продаже, а носят исключительно информационный характер