Каталог запасных частей к технике: КЗК Енисей КЗС-950. Элеватор зерновой
1
2
2
3
4
4
5
6
7
7
7
7
8
9
10
10
10
11
11
11
12
13
14
15
16
17
18
19
19
20
21
22
23
24
25
26
27
28
29
29
30
31
32
33
34
35
36
36
37
38
39
40
41
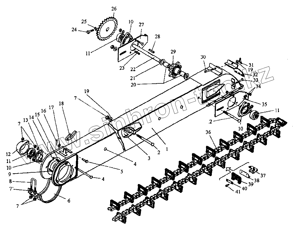
| Позиция на иллюстрации | Заводской номер детали | Название детали | |
|---|---|---|---|
| 1 | Р0-22-1А | Кожух элеватора зернового | |
| 2 | М8х190.019 | Болт | |
| 3 | КДМ 2-22-7 | Доска промежуточная | |
| 4 | М8х180.58.019 | Болт | |
| 5 | 6-10В12х40.10.Ц9 | Ось | |
| 6 | КДМ 2-23-2 | Крышка натяжная | |
| 7 | М8-6Н.6.019 | Гайка ГОСТ 5915-70 | |
| 8 | КД 6057 | Скоба | |
| 9 | М8х30.58.019 | Болт | |
| 10 | Н 027.103А | Корпус подшипника | |
| 11 | 1680205 К7С17 | Подшипник | |
| 12 | КДМ 0238 | Колпачок | |
| 13 | 8.65Г.019 | Шайба ГОСТ 6402-70 | |
| 14 | А54-43758 | Крышка | |
| 15 | М8х40.58.019 | Болт | |
| 16 | 2,5х20.019 | Шплинт | |
| 17 | А10.02Ст.3.019 | Шайба | |
| 18 | КД 2001 | Замок | |
| 19 | А8.02.Ст.3.019 | Шайба | |
| 20 | КДМ 8235А | Труба распорная | |
| 21 | 50292 | Шайба | |
| 22 | 12.21.10.02.602А | Вал | |
| 23 | 8х7х40 | Шпонка | |
| 24 | М12-6qх35.66.019 | Болт | |
| 25 | 12.65Г.019 | Шайба | |
| 26 | 12.21.00.05.000-01 | Звездочка | |
| 27 | КДМ 4860 | Планка натяжная | |
| 28 | 8х7х36 | Шпонка | |
| 29 | КДМ 3048 | Звездочка | |
| 29 | КДМ 2022 | Звездочка | |
| 30 | М8х70.58.019 | Болт | |
| 31 | КДМ 0-230А-01 | Гайка-барашек | |
| 32 | КДМ 2-23-7А | Крышка верхняя | |
| 33 | 60977 | Болт | |
| 34 | М12-6Н.6.019 | Гайка | |
| 35 | КДМ 4860-01 | Планка натяжная | |
| 36 | Т 3803. 100.00.100 | Транспортер цепной | |
| 36 | КДМ 2-22-6Б | Транспортер цепной | |
| 37 | Н.120.01.020 | Звено специальное | |
| 38 | 12.00.22.03.423 | Жесткость | |
| 39 | Н.1 07.002 | Скребок | |
| 40 | 42003 | Накладка | |
| 41 | Н.107.018-04 | Заклепка |
Содержащиеся в справочниках-каталогах запасные части и детали не предлагаются к продаже, а носят исключительно информационный характер