Каталог запасных частей к технике: КЗК Енисей КЗС-950. Устройство выгрузное Р12.60.00.00.000ПМ
1
2
3
4
5
6
7
8
8
8
9
9
10
11
12
13
14
14
14
15
15
15
16
17
18
19
20
20
21
22
23
24
25
26
27
28
29
30
31
31
31
32
33
34
35
36
36
37
37
37
38
38
39
40
41
42
43
43
44
45
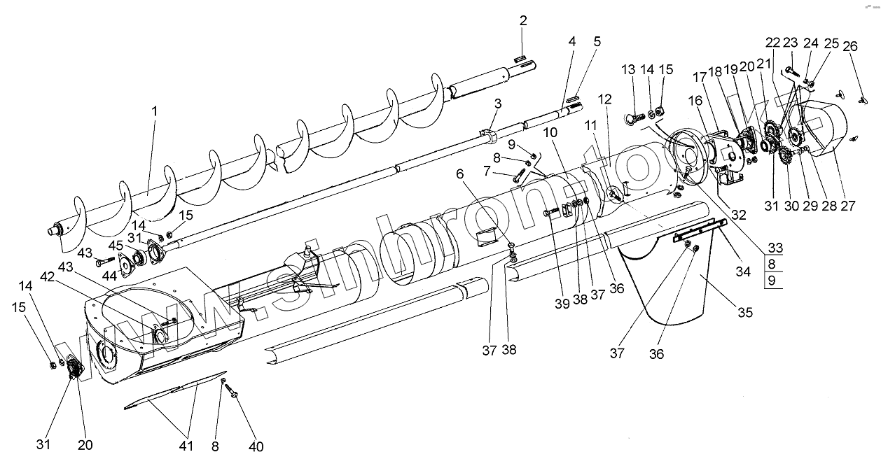
| Позиция на иллюстрации | Заводской номер детали | Название детали | |
|---|---|---|---|
| 1 | Р12.60.01.00.000П | Шнек выгрузной | |
| 2 | Шпонка10x8x50 | Шпонка | |
| 3 | Р.12.60.00.00.002 | Подшипник | |
| 4 | Р12.60.07.00.000ПМ | Вал | |
| 5 | Шпонка8x7x40 | Шпонка | |
| 6 | M6-6gx16.66.019 | Болт | |
| 7 | М8х30.48.019 | Болт | |
| 8 | 8.65Г.019 | Шайба ГОСТ 6402-70 | |
| 9 | М8-646. | Гайка | |
| 10 | Р.12.60.04.00.000П | Хомут | |
| 11 | М6х20.46.019 | Болт | |
| 12 | Р12.60.02.00.000ПМ | Корпус | |
| 13 | М10х40.45.019 | Болт | |
| 14 | 10.65Г.019 | Шайба | |
| 15 | М10-6Н6.019 | Гайка | |
| 16 | Р12.60.00.00.407 | Крышка | |
| 17 | Р12.60.05.00.000ПМ | Фланец | |
| 18 | 1680206к7Т2С17 | Подшипник | |
| 19 | Н.027.105РТМ-А23.2.027-86 | Корпус подшипника | |
| 20 | 1580207К712с17(с27) | Подшипник | |
| 21 | Р12.60.08.00.000П | Звездочка | |
| 22 | Р12.60.09.00.000П | Звездочка | |
| 23 | M12-6gx50.56.019 | Болт | |
| 24 | 12.65Г.019 | Шайба | |
| 25 | М12-6Н6.019 | Гайка | |
| 26 | 44-1-2-16-2 | Винт | |
| 27 | Р12.60.03.00.000ПМ | Щиток | |
| 28 | М14-5915 | Гайка | |
| 29 | 14-11371 | Шайба | |
| 30 | Р6-3-8 | Звездочка натяжная | |
| 31 | Н.027.105РТМ-А23.2.027-86 | Корпус подшипника | |
| 32 | М10х40.45.019 | Болт | |
| 33 | M8.6gx20.66.019 | Болт | |
| 34 | Р12.60.00.00.50П | Планка | |
| 35 | Р.12.60.00.00.001 | Лоток | |
| 36 | М6-6Н6.019 | Гайка | |
| 37 | 6.65Г.019 | Шайба | |
| 38 | А6.02СтЗ.019 | Шайба | |
| 39 | М6х35.46.019 | Болт | |
| 40 | M8-6gx16.66.019 | Болт | |
| 41 | Р12.60.00.00.403 | Крышка | |
| 42 | КДМ40039А | Крышка | |
| 43 | М10х35.45.019 | Болт | |
| 44 | КДМ40508 | Крышка | |
| 45 | 1680206к7Т2С17с27 | Подшипник |
Содержащиеся в справочниках-каталогах запасные части и детали не предлагаются к продаже, а носят исключительно информационный характер