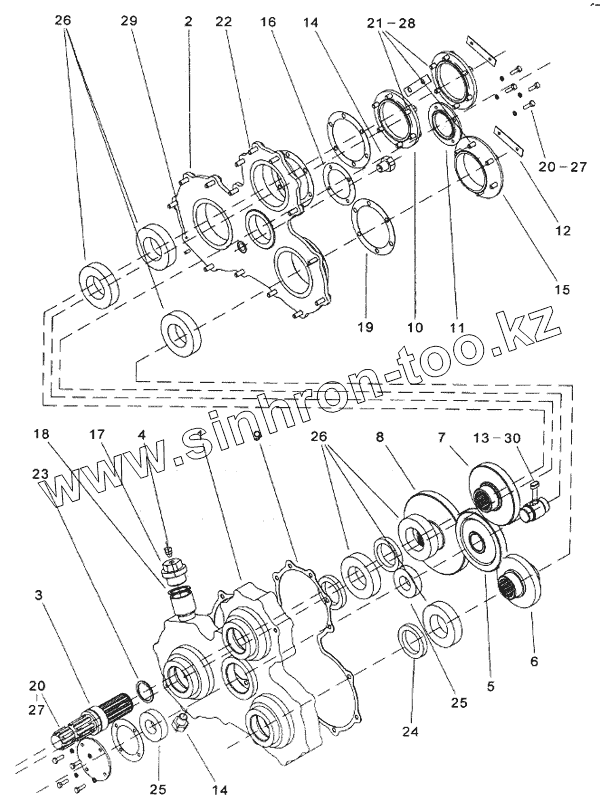
Каталог запасных частей к технике: КЗК Енисей-324. Редуктор вальцев верхних
1
2
3
4
5
6
7
8
9
10
11
12
13
14
14
15
16
17
18
19
20
20
21
22
23
24
25
25
26
26
27
27
28
29
30
| Позиция на иллюстрации | Заводской номер детали | Название детали | |
|---|---|---|---|
| 1 | 334.06.46.10.000 | Корпус | |
| 2 | 334.06.46.20.000 | Крышка | |
| 3 | 334.06.48.00.000 | Вал в сборе | |
| 4 | 34-4-1-17А | Сапун | |
| 5 | 334.06.45.00.301 | Шестерня | |
| 6 | 334.06.45.00.302 | Шестерня | |
| 7 | 334.06.45.00.303 | Вал - шестерня | |
| 8 | 334.06.45.00.304 | Шестерня | |
| 9 | 334.06.45.00.001 | Прокладка | |
| 10 | 334.06.45.00.401 | Крышка | |
| 11 | 334.06.45.00.402 | Крышка | |
| 12 | 334.06.45.00.404 | Пластина стопорная | |
| 13 | 334.06.45.00.601 | Ось | |
| 14 | МВГ-12.03.671 | Пробка | |
| 15 | 334.06.45.00.609 | Крышка | |
| 16 | 334.06.45.00.002 | Прокладка | |
| 17 | МВГ-12.03.104-01 | Пробка | |
| 18 | МВГ-12.03.027 | Кольцо уплотняющее | |
| 19 | 334.06.45.00.003 | Прокладка | |
| 20 | М6-6gх20 ГОСТ 7798-70 | Болт | |
| 21 | М8-6gх20 ГОСТ 7798-70 | Болт | |
| 22 | М8-6gх30 ГОСТ 7796 | Болт | |
| 23 | А40 ГОСТ 13942 | Кольцо | |
| 24 | 1.2-50x70-1-8752 | Манжета | |
| 25 | 206 ГОСТ 8338-75 | Подшипник | |
| 26 | 210 ГОСТ 8338-75 | Подшипник | |
| 27 | 6.65Г ГОСТ 6402-70 | Шайба | |
| 28 | 8.65Г ГОСТ 6402-70 | Шайба | |
| 29 | 2.8x40 ГОСТ 3128-70 | Штифт | |
| 30 | 10х8х20 ГОСТ 23360-78 | Шпонка |
Содержащиеся в справочниках-каталогах запасные части и детали не предлагаются к продаже, а носят исключительно информационный характер