Каталог запасных частей к технике: KUHN PLANTER II. VACUUM CLEANER OF DRAINING
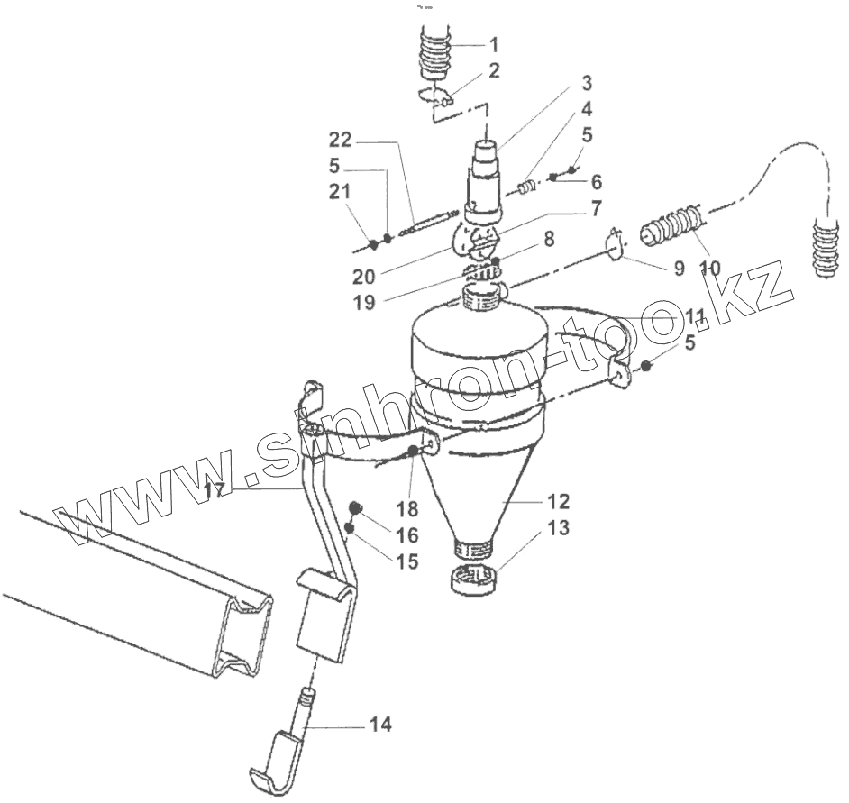
1
2
3
4
5
5
5
6
7
8
9
10
11
12
13
14
15
16
17
18
19
20
21
22
| Позиция на иллюстрации | Заводской номер детали | Название детали | |
|---|---|---|---|
| 1 | 83673008 | PIPE PVC Ш46,5, OREGON | |
| 2 | 83090122 | DRAG COLLAR | |
| 3 | MLR0029 | TERMINAL SOCKET | |
| 4 | FPX0454A | SPRING | |
| 5 | 80200805 | SELF-LOCKING NUT FE/ZNXC3 | |
| 6 | 80250920 | PLAIN WASHER FE/ZNXC3 | |
| 7 | FLR0397 | 1/2 ARTICULATED DEFLECTORS | |
| 8 | 80190513 | SELF-CUTTING SCREW FE/ZNXC3 | |
| 9 | 83090120 | DRAG COLLAR | |
| 10 | 83673004 | PIPE PVC Ш25 OREGON | |
| 11 | FLR0392 | 1/2 DRAG COLLAR | |
| 12 | MLR0027A | BODY | |
| 13 | A621782 | PLUG | |
| 14 | FNB0429A | CLAMP | |
| 15 | FLA0954C | WASHER | |
| 16 | 80201470 | NUT FE/ZNXC3 | |
| 17 | VNB0375 | BRACKET | |
| 18 | 80060824 | HEXAGON HEAD SCREW ZBC | |
| 19 | FLR0393 | FILTER | |
| 20 | FLR0398 | SEAL | |
| 21 | 80200826 | WING NUT FE/ZNXC3 | |
| 22 | FLR0396 | PIN |
Содержащиеся в справочниках-каталогах запасные части и детали не предлагаются к продаже, а носят исключительно информационный характер