Каталог запасных частей к технике: KUHN MULTI-LEADER T. WHEEL SUPPORT MLD C1595>E3242
1
2
2
3
3
4
5
6
7
8
8
8
8
9
10
11
12
13
14
14
15
15
15
15
16
17
18
19
19
19
19
20
21
21
22
22
22
22
23
24
24
25
25
26
27
28
29
30
31
32
33
34
35
36
37
38
38
39
40
41
42
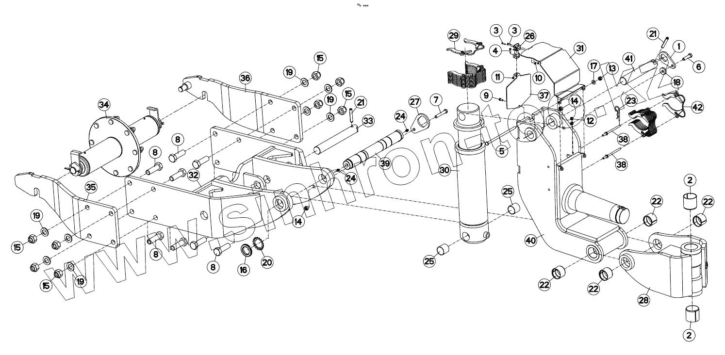
| Позиция на иллюстрации | Заводской номер детали | Название детали | |
|---|---|---|---|
| 1 | 212239 | STOP PLATE | |
| 2 | 951521 | TENSION BUSH | |
| 3 | 80060416 | HEXAGON HEAD SCREW FE/ZNXC3 | |
| 4 | 80060518 | HEXAGON HEAD SCREW FE/ZNXC3 | |
| 5 | 80061090 | HEXAGON HEAD SCREW FE/ZNXC3 | |
| 6 | 80061250 | HEX BOLT FE/ZNXC3 | |
| 7 | 80061255 | HEXAGON HEAD SCREW | |
| 8 | 80062480 | HEXAGON HEAD SCREW FE/ZNXC3 | |
| 9 | 80190616 | SELF-CUTTING SCREW FE/ZNXC3 | |
| 10 | 80200440 | SELF LOCKING NUT FE/ZNXC3 | |
| 11 | 80200540 | SELF-LOCKING NUT FE/ZNXC3 | |
| 12 | 80200840 | SELF-LOCKING NUT FE/ZNXC3 | |
| 13 | 80201030 | SELF-LOCKING NUT FE/ZNXC3 | |
| 14 | 80201240 | SELF-LOCKING NUT FE/ZNXC3 | |
| 15 | 80202447 | SELF-LOCKING NUT | |
| 16 | 80204517 | SLOTTED ROUND NUT | |
| 17 | 80251021 | PLAIN WASHER M10 | |
| 18 | 80251336 | PLAIN WASHER FE/ZNXC3 | |
| 19 | 80252432 | PLAIN WASHER FE/ZNXC3 | |
| 20 | 80294519 | SPIDER WASHER SKF MB-9 | |
| 21 | 80441270 | ROLL PIN | |
| 22 | 80471000 | TENSION BUSH | |
| 23 | 80570477 | SPRING COTTER PIN FE/ZNXC3 | |
| 24 | 82201016 | SELF TAPPING GREASE NIPPLE | |
| 25 | 83014043 | WRAPPED BUSH | |
| 26 | A7200102 | SUPPORT | |
| 27 | H0104240 | PLATE | |
| 28 | H0206970 | JOINT, UNIVERSAL | |
| 29 | H0505030 | SHIM | |
| 30 | H0505130 | CYLINDER, HYDRAULIC | |
| 31 | H0505180 | LID | |
| 32 | H0507110 | TINE, MULTIPLE | |
| 33 | H0507130 | PIN | |
| 34 | H0507250 | HUB | |
| 35 | H0507280 | SUPPORT | |
| 36 | H0507290 | SUPPORT | |
| 37 | H0507340 | HOOD | |
| 38 | H0507350 | PIN, GUIDE | |
| 39 | H0507370 | PIN | |
| 40 | H0508300 | SUPPORT | |
| 41 | H0508310 | PIN | |
| 42 | H0505030 | SHIM |
Содержащиеся в справочниках-каталогах запасные части и детали не предлагаются к продаже, а носят исключительно информационный характер