Каталог запасных частей к технике: KRONE ECR280CV/320CV. Swathlaying
1
2
2
2
2
4
5
6
8
8
8
8
9
10
11
12
13
14
14
15
15
15
16
16
16
18
19
20
21
22
23
24
25
26
26
26
27
28
28
29
30
31
32
33
34
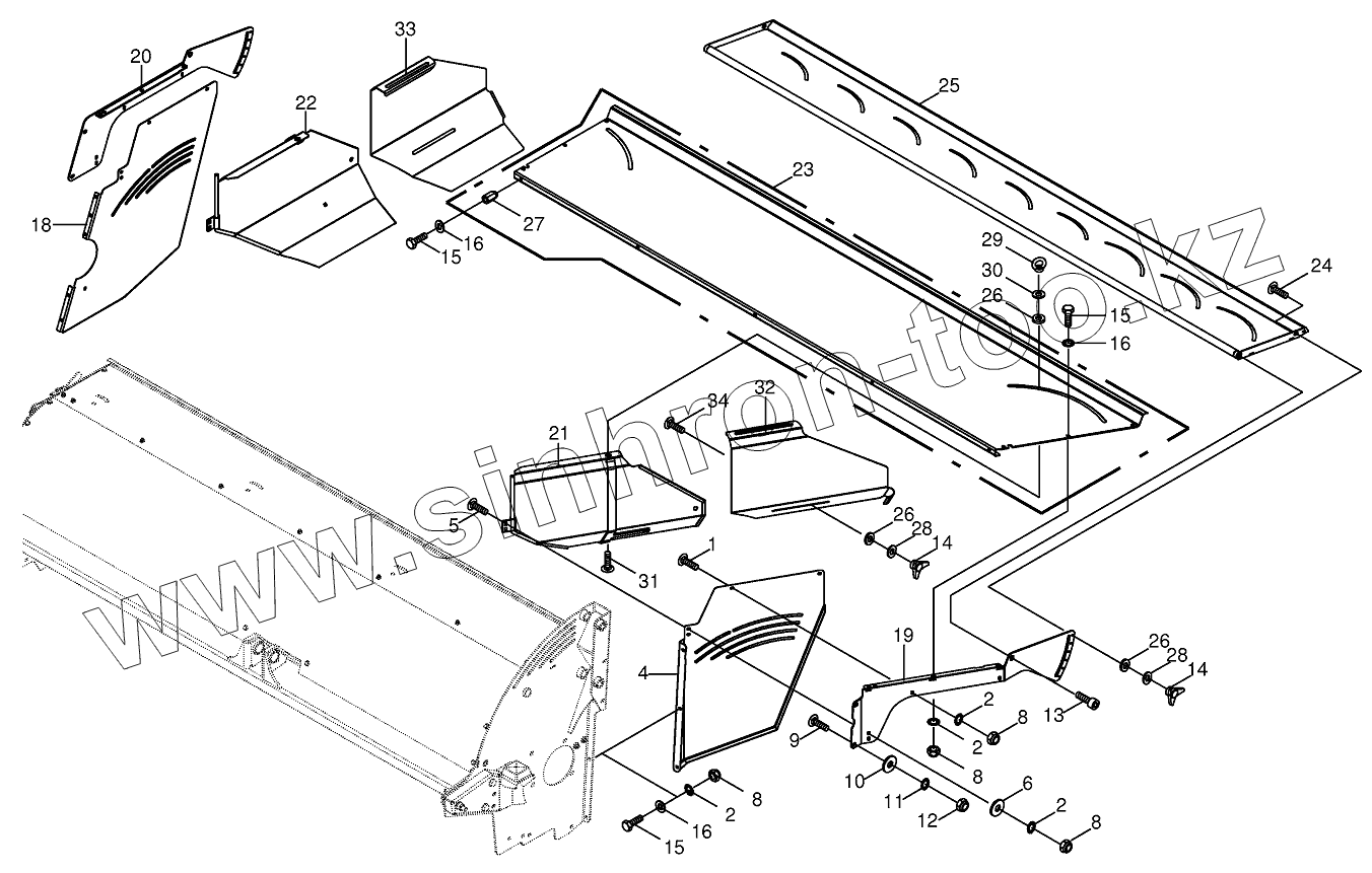
| Позиция на иллюстрации | Заводской номер детали | Название детали | |
|---|---|---|---|
| 200350860 | 200350860 | Intermediate housing | |
| 200350760 | 200350760 | Wide spreading plate | |
| 1 | 009049512 | Coach bolt | |
| 2 | 009099081 | Detent edged washer | |
| 4 | 200317680 | Side plate-left | |
| 5 | 009048131 | Coach bolt | |
| 6 | 009106030 | Washer | |
| 8 | 009087060 | Locknut | |
| 9 | 900016900 | Coach bolt | |
| 10 | 009103530 | Washer | |
| 11 | 009099091 | Detent edged washer | |
| 12 | 009087580 | Locknut | |
| 13 | 009031371 | Allen screw | |
| 14 | 270067770 | Handle | |
| 15 | 009006160 | Hex head bolt | |
| 16 | 009103640 | Washer | |
| 18 | 200317690 | Side plate-right | |
| 19 | 000000000 | 00 000 000 0 | |
| 20 | 000000000 | 00 000 000 0 | |
| 21 | 200326790 | Swath door-left | |
| 22 | 200326760 | Swath door-right | |
| 23 | 200339360 | Intermediate housing | |
| 24 | 009048501 | Coach bolt | |
| 25 | 200339180 | Wide spreading plate | |
| 26 | 009103470 | Washer | |
| 27 | 900001130 | Blind rivet nut | |
| 28 | 009106050 | Washer | |
| 29 | 009095031 | Lifting eye nut | |
| 30 | 009106090 | Washer | |
| 31 | 009049831 | Coach bolt | |
| 32 | 200334010 | Extension-left, optional | |
| 33 | 200333830 | Extension-right, optional | |
| 34 | 009047512 | Coach bolt |
Содержащиеся в справочниках-каталогах запасные части и детали не предлагаются к продаже, а носят исключительно информационный характер